TOP
|
特許
|
意匠
|
商標
特許ウォッチ
Twitter
他の特許を見る
10個以上の画像は省略されています。
公開番号
2025171242
公報種別
公開特許公報(A)
公開日
2025-11-20
出願番号
2024076369
出願日
2024-05-09
発明の名称
冷蔵庫
出願人
三菱電機株式会社
代理人
弁理士法人深見特許事務所
主分類
F25D
23/02 20060101AFI20251113BHJP(冷凍または冷却;加熱と冷凍との組み合わせシステム;ヒートポンプシステム;氷の製造または貯蔵;気体の液化または固体化)
要約
【課題】ガスケットからの熱の侵入量を抑制することができる冷蔵庫を提供する。
【解決手段】冷蔵庫1における断熱箱体3は、貯蔵室扉31が閉じられた状態で、貯蔵室扉31に対向する扉対向部11を備えている。扉対向部11は、第1扉対向部13aと第2扉対向部13bとを備えている。第1扉対向部13aは、貯蔵室15側に位置する。第2扉対向部13bは、第1扉対向部13aよりも外側に位置する。第1扉対向部13aは、第2扉対向部13bに対して、前面側とは反対側の背面側に向かって後退している。ガスケットは、第1扉対向部13aに密着する態様で貯蔵室扉31に取り付けられている。
【選択図】図5
特許請求の範囲
【請求項1】
貯蔵物を貯蔵する貯蔵室を有し、前面に前記貯蔵物を出し入れする開口部が形成された断熱箱体と、
前記開口部を開閉する貯蔵室扉と、
前記貯蔵室扉に配置され、前記開口部が前記貯蔵室扉によって閉じられた状態で少なくとも前記断熱箱体に接触するガスケットと、
前記開口部が前記貯蔵室扉によって閉じられた状態で前記貯蔵室扉に対向する扉対向部と
を備え、
前記扉対向部は、
前記貯蔵室側に位置する第1扉対向部と、
前記第1扉対向部よりも外側に位置する第2扉対向部と
を含み、
前記第1扉対向部および前記第2扉対向部は、前記断熱箱体に設けられ、
前記第1扉対向部は、前記第2扉対向部に対して、前記前面側とは反対側の背面側に向かって後退し、
前記貯蔵室扉には、前記開口部が前記貯蔵室扉によって閉じられた状態で、前記ガスケットが前記第1扉対向部に密着する態様で取り付けられた、冷蔵庫。
続きを表示(約 1,200 文字)
【請求項2】
前記開口部が前記貯蔵室扉によって閉じられた状態で、前記断熱箱体における前記第2扉対向部と前記貯蔵室扉との間隔は、少なくとも3mm以上になるように設定された、請求項1記載の冷蔵庫。
【請求項3】
前記断熱箱体は、
前記断熱箱体の外面を含む外箱と、
前記外箱よりも内側に配置された内箱と
を有し、
前記第1扉対向部は、前記内箱に設けられ、
前記第2扉対向部は、前記外箱に設けられ、
前記第1扉対向部は、前記第2扉対向部に繋がる態様で、前記背面側に向かって後退している、請求項1記載の冷蔵庫。
【請求項4】
前記外箱は、鋼板から形成され、
前記内箱は、樹脂から形成された、請求項3記載の冷蔵庫。
【請求項5】
前記断熱箱体には、放熱パイプが配置され、
前記放熱パイプは、前記断熱箱体における前記外箱に接触する態様で配置された、請求項4記載の冷蔵庫。
【請求項6】
前記ガスケット内には磁石が収容され、
前記第1扉対向部には、前記磁石に吸着する磁石吸着部材が取り付けられた、請求項1記載の冷蔵庫。
【請求項7】
前記断熱箱体には、断熱材が収容され、
前記断熱材は、
真空断熱材と、
発泡断熱材と
を含む、請求項1記載の冷蔵庫。
【請求項8】
前記貯蔵室扉は、第1観音扉および第2観音扉からなる観音開き型扉を含み、
前記観音開き型扉には、前記第1観音扉の第1開閉側端部が当接するとともに、前記第2観音扉の第2開閉側端部が当接するセンターピラーが設けられ、
前記扉対向部は、
前記第1観音扉と対向する第3扉対向部と、
前記第1観音扉と対向し、前記第3扉対向部に対して、前記第2観音扉が位置する側に位置する第4扉対向部と、
前記第2観音扉と対向する第5扉対向部と、
前記第2観音扉と対向し、前記第5扉対向部に対して、前記第1観音扉が位置する側に位置する第6扉対向部と
を含み、
前記第3扉対向部、前記第4扉対向部、前記第5扉対向部および前記第6扉対向部は、前記センターピラーに設けられ、
前記第3扉対向部は、前記第4扉対向部に対して、前記背面側に向かって後退し、
前記第5扉対向部は、前記第6扉対向部に対して、前記背面側に向かって後退し、
前記ガスケットは、前記観音開き型扉が閉じられた状態で、前記ガスケットが前記第3扉対向部および前記第5扉対向部のそれぞれに密着する態様で取り付けられた、請求項1記載の冷蔵庫。
【請求項9】
前記貯蔵室扉の回転軸は、前記貯蔵室扉における、前記断熱箱体側の端部から前記貯蔵室扉の前記前面に向かって、前記前面と前記端部との間の長さの半分の長さの範囲内に配置された、請求項1記載の冷蔵庫。
発明の詳細な説明
【技術分野】
【0001】
本開示は、冷蔵庫に関する。
続きを表示(約 2,100 文字)
【背景技術】
【0002】
冷蔵庫は、貯蔵室を有し、貯蔵物の出し入れをする開口部が形成された断熱箱体を備えている。冷蔵庫では、冷却運転時の消費電力を抑えるために、断熱箱体には、発泡断熱材とともに、真空断熱材が配置されている。
【0003】
真空断熱材の熱伝達率は、発泡断熱材の熱伝達率のおよそ1/10程度とされる。これにより、真空断熱材と発泡断熱材とを組み合わせることによって、熱の侵入量を抑制しながら、断熱厚さを抑えることができ、冷蔵庫の冷却運転時における消費電力の抑制と、貯蔵室の貯蔵容積の増加との両立を図ることができる。このため、現在の冷蔵庫においては、真空断熱材は必要不可欠な重要な機能部材となっている。
【0004】
真空断熱材は、板状の断熱材である。このため、断熱箱体において、真空断熱材を配置することができない領域が存在する。貯蔵室の開口部を閉じる扉には、扉が閉じられた状態で断熱箱体に接触することになるガスケットが装着されている(特許文献1)。扉が閉じられた状態の冷蔵庫において、扉と断熱箱体との間は、真空断熱材を配置することができない領域となる。このため、扉と断熱箱体との間は、ガスケットによって断熱が行われることになる。
【先行技術文献】
【特許文献】
【0005】
特開2009-85454号公報
【発明の概要】
【発明が解決しようとする課題】
【0006】
扉が閉じられた状態の冷蔵庫では、扉と断熱箱体との間にガスケットが露出する。発明者による見積もりでは、ガスケットからの熱の侵入量が無視できないレベルであることがわかった。
【0007】
本開示は、そのような問題点を解決するためになされたものであり、その目的は、ガスケットからの熱の侵入量を抑制することができる冷蔵庫を提供することである。
【課題を解決するための手段】
【0008】
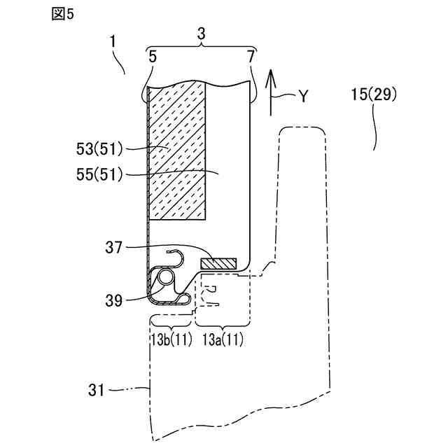
本開示に係る冷蔵庫は、断熱箱体と貯蔵室扉とガスケットと扉対向部とを備えている。断熱箱体は、貯蔵物を貯蔵する貯蔵室を有し、前面に貯蔵物を出し入れする開口部が形成されている。貯蔵室扉は、開口部を開閉する。ガスケットは、貯蔵室扉に配置され、開口部が貯蔵室扉によって閉じられた状態で少なくとも断熱箱体に接触する。扉対向部は、開口部が貯蔵室扉によって閉じられた状態で貯蔵室扉に対向する。扉対向部は、貯蔵室側に位置する第1扉対向部と、第1扉対向部よりも外側に位置する第2扉対向部とを含む。第1扉対向部および第2扉対向部は、断熱箱体に設けられている。第1扉対向部は、第2扉対向部に対して、前面側とは反対側の背面側に向かって後退している。貯蔵室扉には、開口部が貯蔵室扉によって閉じられた状態で、ガスケットが第1扉対向部に密着する態様で取り付けられている。
【発明の効果】
【0009】
本開示に係る冷蔵庫によれば、ガスケットが、第2扉対向部よりも背面側に後退した第1扉対向部に密着することで、第1扉対向部よりも前面側に突出した第2扉対向部は、ガスケットを覆うように位置することになる。これにより、ガスケットが冷蔵庫の外部に露出する面積を低減することができる。その結果、ガスケットから冷蔵庫の貯蔵室内へ熱が侵入するのを抑制することができ、冷蔵庫の消費電力の低減に寄与することができる。
【図面の簡単な説明】
【0010】
実施の形態1に係る冷蔵庫を含む、各実施の形態に係る冷蔵庫の構造を説明するための正面図である。
実施の形態1に係る冷蔵庫を含む、各実施の形態に係る冷蔵庫の構造を説明するための、一部断面を含む側面図である。
各実施の形態に係る冷蔵庫における冷凍サイクル回路、送風風路および戻り風路を回路図的に示す図である。
実施の形態1に係る冷蔵庫における断熱箱体および貯蔵室扉の構造を示す部分断面図である。
同実施の形態において、ガスケットと断熱箱体との配置構造を示す部分断面である。
実施の形態2に係る冷蔵庫の正面図である。
実施の形態3に係る冷蔵庫における、断熱箱体および貯蔵室扉の構造を示す部分断面図である。
実施の形態4に係る、センターピラーを備えた冷蔵庫における、断熱箱体および貯蔵室扉の構造を示す部分断面図である。
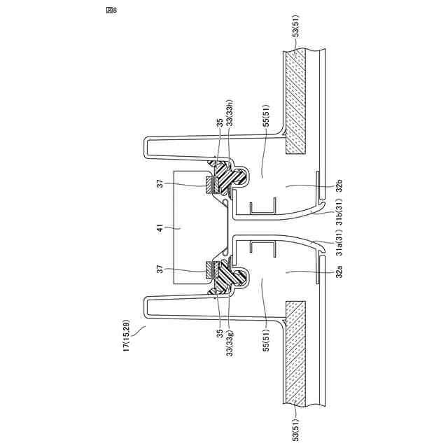
同実施の形態において、ガスケットとセンターピラーとの配置構造を示す部分断面である。
同実施の形態において、冷蔵室左扉を開ける動作に伴ってセンターピラーが追随する様子を示す部分断面図である。
実施の形態5に係る冷蔵庫における、断熱箱体および貯蔵室扉の構造を示す部分断面図である。
同実施の形態において、ガスケットの動きに伴う作用効果を説明するための部分断面図である。
【発明を実施するための形態】
(【0011】以降は省略されています)
この特許をJ-PlatPat(特許庁公式サイト)で参照する
関連特許
三菱電機株式会社
換気扇
1か月前
三菱電機株式会社
冷蔵庫
1日前
三菱電機株式会社
扇風機
22日前
三菱電機株式会社
換気扇
1か月前
三菱電機株式会社
増幅器
28日前
三菱電機株式会社
換気扇
1か月前
三菱電機株式会社
冷蔵庫
24日前
三菱電機株式会社
照明装置
15日前
三菱電機株式会社
電気機器
1日前
三菱電機株式会社
電子機器
1か月前
三菱電機株式会社
収集装置
1か月前
三菱電機株式会社
半導体装置
1か月前
三菱電機株式会社
半導体装置
23日前
三菱電機株式会社
加熱調理器
9日前
三菱電機株式会社
回路遮断器
9日前
三菱電機株式会社
保護リレー
23日前
三菱電機株式会社
空気調和機
1か月前
三菱電機株式会社
半導体装置
1日前
三菱電機株式会社
点検管理装置
22日前
三菱電機株式会社
貯湯式給湯機
25日前
三菱電機株式会社
照明システム
1か月前
三菱電機株式会社
貯湯式給湯機
15日前
三菱電機株式会社
炊飯システム
24日前
三菱電機株式会社
空調システム
28日前
三菱電機株式会社
ねじ締め装置
28日前
三菱電機株式会社
空気清浄装置
9日前
三菱電機株式会社
調理システム
24日前
三菱電機株式会社
制御システム
15日前
三菱電機株式会社
貯湯式給湯機
24日前
三菱電機株式会社
空調システム
17日前
三菱電機株式会社
光源デバイス
15日前
三菱電機株式会社
誘導加熱調理器
1か月前
三菱電機株式会社
移動体監視装置
14日前
三菱電機株式会社
電動機制御装置
1か月前
三菱電機株式会社
樹脂成形用金型
28日前
三菱電機株式会社
電磁波発生装置
1日前
続きを見る
他の特許を見る