TOP
|
特許
|
意匠
|
商標
特許ウォッチ
Twitter
他の特許を見る
10個以上の画像は省略されています。
公開番号
2025169070
公報種別
公開特許公報(A)
公開日
2025-11-12
出願番号
2024074054
出願日
2024-04-30
発明の名称
回路遮断器
出願人
三菱電機株式会社
代理人
個人
主分類
H01H
73/12 20060101AFI20251105BHJP(基本的電気素子)
要約
【課題】複数の固定接点と各固定接点に対応する複数の可動接点とがすべて開離した場合にのみ表示装置が開離した状態を表示する回路遮断器を得ること。
【解決手段】回路遮断器は、固定接点30を有する複数の固定接触導体3と、各固定接点30に対応して設けられ、固定接点30に接触可能な可動接点40を有する複数の可動接触導体4と、固定接点30と可動接点40との接触状態又は開離状態を表示する表示装置7と、複数の固定接点30と複数の可動接点40とがすべて開離状態であることを検出して、表示装置7に伝達する検出部材8と、を備えている。表示装置7は、検出部材8が複数の固定接点30と複数の可動接点40とがすべて開離状態であることを検出した場合に開離状態を表示する。
【選択図】図4
特許請求の範囲
【請求項1】
固定接点を有する複数の固定接触導体と、
各前記固定接点に対応して設けられ、前記固定接点に接触可能な可動接点を有する複数の可動接触導体と、
前記固定接点と前記可動接点との接触状態又は開離状態を表示する表示装置と、
複数の前記固定接点と複数の前記可動接点とがすべて開離状態であることを検出して、前記表示装置に伝達する検出部材と、を備え、
前記表示装置は、前記検出部材が複数の前記固定接点と複数の前記可動接点とがすべて開離状態であることを検出した場合に開離状態を表示する、
ことを特徴とする回路遮断器。
続きを表示(約 610 文字)
【請求項2】
前記検出部材は、すべての前記可動接触導体と接触しており、
複数の前記固定接点と複数の前記可動接点とがすべて開離した際に、前記可動接触導体の動きに連動して動き、前記表示装置に伝達する、
ことを特徴とする請求項1に記載の回路遮断器。
【請求項3】
前記検出部材は、回動軸部と、前記回動軸部を中心軸として回動し、複数の前記固定接点と複数の前記可動接点とがすべて開離状態であることを検出して、前記表示装置に伝達する回動伝達部と、を有する、
ことを特徴とする請求項1又は2に記載の回路遮断器。
【請求項4】
前記検出部材は、前記回動軸部を中心とし、該回動軸部の両端に一対の前記回動伝達部が設けられた構成である、
ことを特徴とする請求項3に記載の回路遮断器。
【請求項5】
前記検出部材は、前記回動伝達部を中心とし、該回動伝達部の両端に一対の前記回動軸部が設けられた構成である、
ことを特徴とする請求項3に記載の回路遮断器。
【請求項6】
前記表示装置は、
前記固定接点と前記可動接点との接触状態及び開離状態が記された表示部と、
前記表示部に接続されており、前記検出部材の動きに連動して動き、前記表示部を移動させる連結部材と、を備える、
ことを特徴とする請求項1又は2に記載の回路遮断器。
発明の詳細な説明
【技術分野】
【0001】
本開示は、固定接点と可動接点との接離状態を表示する表示装置を備えた回路遮断器に関する。
続きを表示(約 2,100 文字)
【背景技術】
【0002】
従来、固定接点と可動接点との接離状態を表示する表示装置を備えた回路遮断器が知られている。例えば、特許文献1に開示された回路遮断器は、ベースとカバーとからなる筐体の内部に表示装置が収納された構成である。この表示装置は、可動接触導体を駆動させる押板の上端面に、下端部が当接する連結棒と、連結棒の上端部に固定された表示片と、連結棒の下端部が押板の上端面に当接するように連結棒を付勢する付勢ばねと、を備えている。表示片は、カバーに形成された表示窓に「オン」又は「オフ」等の文字を表示させる表示部を備えている。「オン」は、複数の固定接点と各固定接点に対応する複数の可動接点とがすべて接触状態であることを示す。「オフ」は、複数の固定接点と各固定接点に対応する複数の可動接点とがすべて開離状態であることを示す。また、付勢ばねは、連結棒に装着されている。
【0003】
複数の固定接点と複数の可動接点とがすべて接触するオン状態では、押板が可動接触導体と共に下方に移動し、付勢ばねによって押板の上端面に付勢された連結棒が押し下げられる。連結棒が押し下げられることにより、連結棒に固定された表示片も下方に引き降ろされ、カバーの表示窓に「オン」が表示される。一方、複数の固定接点と複数の可動接点とがすべて開離するオフ状態では、押板が可動接触導体と共に上方に移動し、連結棒が押板により付勢ばねの付勢に打ち勝って押し上げられる。連結棒が押し上げられることにより、連結棒に固定された表示片も上方に引き上げられて、カバーの表示窓に「オフ」が表示される。
【先行技術文献】
【特許文献】
【0004】
特開平11-67047号公報
【発明の概要】
【発明が解決しようとする課題】
【0005】
回路遮断器では、押板をスムーズに動作させるため、ベースと押板との間に隙間が設けられている。そのため、回路遮断器では、複数の固定接点と各固定接点に対応する複数の可動接点とがすべて開離するオフ状態において、一部の固定接点と可動接点とが溶着していると、他の固定接点と可動接点との開離状態により上方へ移動しようとする可動接触導体によって押板が傾くおそれがある。特許文献1に開示された技術のように、押板の移動に連動する表示片によってオン状態とオフ状態とが切り替わる構成であると、オン状態であるにも関わらず、傾いた押板によって連結棒と共に表示片が押し上げられて、誤ってオフ状態が表示されるおそれがある。
【0006】
本開示は、上記に鑑みてなされたものであって、複数の固定接点と各固定接点に対応する複数の可動接点とがすべて開離した場合にのみ表示装置が開離した状態を表示する回路遮断器を得ることを目的とする。
【課題を解決するための手段】
【0007】
上述した課題を解決し、目的を達成するために、本開示にかかる回路遮断器は、固定接点を有する複数の固定接触導体と、各固定接点に対応して設けられ、固定接点に接触可能な可動接点を有する複数の可動接触導体と、固定接点と可動接点との接触状態又は開離状態を表示する表示装置と、複数の固定接点と複数の可動接点とがすべて開離状態であることを検出して、表示装置に伝達する検出部材と、を備えている。表示装置は、検出部材が複数の固定接点と複数の可動接点とがすべて開離状態であることを検出した場合に開離状態を表示する。
【発明の効果】
【0008】
本開示にかかる回路遮断器によれば、複数の固定接点と各固定接点に対応する複数の可動接点とがすべて開離した場合にのみ表示装置が開離した状態を表示する、という効果を奏する。
【図面の簡単な説明】
【0009】
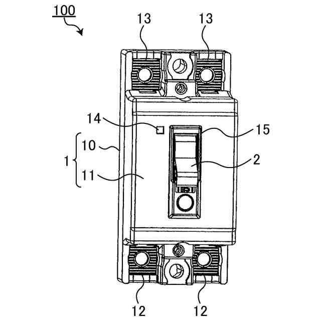
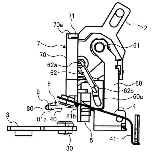
実施の形態1にかかる回路遮断器を示す斜視図
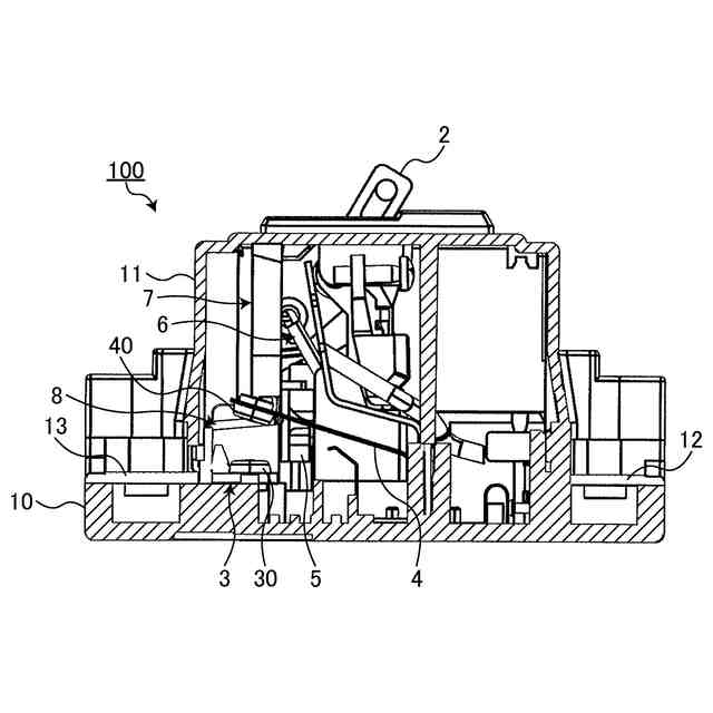
実施の形態1にかかる回路遮断器を示す断面図
実施の形態1にかかる回路遮断器であって筐体のカバーを取り外した状態を示す斜視図
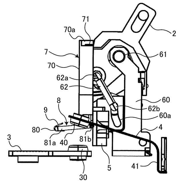
実施の形態1にかかる回路遮断器の要部であってオフ状態を示す説明図
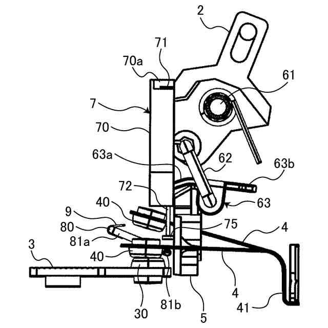
実施の形態1にかかる回路遮断器の要部であってオン状態を示す説明図
実施の形態1にかかる回路遮断器が有する表示装置の表示部を示す説明図
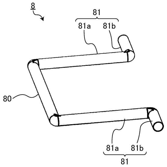
実施の形態1にかかる回路遮断器が有する検出部材を示す斜視図
実施の形態1にかかる回路遮断器であって筐体のカバーを取り外した状態を図3とは反対の方向から示す斜視図
実施の形態1にかかる回路遮断器の要部であって複数の固定接点と複数の可動接点とのうち一部が溶着した状態を示す説明図
実施の形態1にかかる回路遮断器が有する検出部材の変形例を示す斜視図
実施の形態2にかかる回路遮断器が有する検出部材を示す斜視図
実施の形態2にかかる回路遮断器であって筐体のカバーを取り外した状態を示す斜視図
【発明を実施するための形態】
【0010】
以下、本開示の実施の形態にかかる回路遮断器を図面に基づいて詳細に説明する。
(【0011】以降は省略されています)
この特許をJ-PlatPat(特許庁公式サイト)で参照する
関連特許
三菱電機株式会社
冷凍冷蔵庫
2日前
三菱電機株式会社
特許明細書作成支援システム、特許明細書作成支援方法、特許明細書作成支援プログラム、及び記録媒体
2日前
日機装株式会社
加圧装置
2日前
日新イオン機器株式会社
イオン源
2日前
富士電機株式会社
電磁接触器
17日前
三菱電機株式会社
回路遮断器
25日前
株式会社GSユアサ
蓄電装置
17日前
大電株式会社
電線又はケーブル
9日前
個人
電源ボックス及び電子機器
2日前
株式会社トクミ
ケーブル
3日前
株式会社東芝
電子源
2日前
トヨタ自動車株式会社
蓄電装置
9日前
ホシデン株式会社
複合コネクタ
11日前
矢崎総業株式会社
コネクタ
17日前
ローム株式会社
半導体モジュール
18日前
株式会社レゾナック
冷却器
25日前
ヒロセ電機株式会社
電気コネクタ
17日前
住友電装株式会社
コネクタ
17日前
日本特殊陶業株式会社
アンテナ装置
4日前
日本航空電子工業株式会社
コネクタ
1か月前
矢崎総業株式会社
端子
9日前
トヨタ自動車株式会社
蓄電装置構造
3日前
日本航空電子工業株式会社
コネクタ
2日前
日本特殊陶業株式会社
アンテナ装置
4日前
株式会社デンソー
半導体装置
17日前
株式会社パロマ
監視システム
9日前
三菱電機株式会社
半導体装置
2日前
日本特殊陶業株式会社
アンテナ装置
4日前
新電元工業株式会社
半導体装置
17日前
株式会社興電舎
励磁突入電流抑制方法
2日前
TDK株式会社
電子部品
4日前
TDK株式会社
電子部品
17日前
矢崎総業株式会社
バスバー電線
10日前
矢崎総業株式会社
バスバー電線
10日前
株式会社ダイヘン
電圧調整装置
4日前
日東電工株式会社
パッチアンテナ
10日前
続きを見る
他の特許を見る