TOP
|
特許
|
意匠
|
商標
特許ウォッチ
Twitter
他の特許を見る
公開番号
2025173069
公報種別
公開特許公報(A)
公開日
2025-11-27
出願番号
2024078415
出願日
2024-05-14
発明の名称
見守りシステム
出願人
三菱電機株式会社
代理人
弁理士法人高田・高橋国際特許事務所
主分類
G06Q
50/22 20240101AFI20251119BHJP(計算;計数)
要約
【課題】ユーザの心身状態の変化の検知精度向上と早期発見とを図ることができる見守りシステムを提供する。
【解決手段】見守りシステムは、家屋内の電気機器200の動作履歴及び電気機器200に対する操作履歴の一方又は両方を含む推論用データを取得するデータ取得部と、推論用データから家屋内のユーザ10の行動パターンを推論するための第1学習済モデルを用いて、データ取得部が取得した推論用データからユーザ10の行動パターンを出力する推論部と、推論部が出力したユーザ10の行動パターンの時間変化に基づいて、当該ユーザ10の心身状態の変化の有無を判定する判定部と、判定部による判定結果を出力する出力部と、を備える。
【選択図】図1
特許請求の範囲
【請求項1】
家屋内の電気機器の動作履歴及び前記電気機器に対する操作履歴の一方又は両方を含む推論用データを取得するデータ取得部と、
前記推論用データから前記家屋内の人の行動パターンを推論するための第1学習済モデルを用いて、前記データ取得部が取得した前記推論用データから前記家屋内の人の行動パターンを出力する推論部と、
前記推論部が出力した前記家屋内の人の行動パターンの時間変化に基づいて、当該人の心身状態の変化の有無を判定する判定部と、
前記判定部による判定結果を出力する出力部と、を備えた見守りシステム。
続きを表示(約 1,100 文字)
【請求項2】
前記判定部は、前記家屋内の人の行動パターンの時間変化から、当該人の心身状態の変化の有無を推論するための第2学習済モデルを用いて、前記推論部が出力した前記家屋内の人の行動パターンの時間変化から、当該人の心身状態の変化の有無を判定する請求項1に記載の見守りシステム。
【請求項3】
前記判定部は、前記推論部が出力した前記家屋内の人の行動パターンを定量化した指標値の時間変化を、予め設定された基準値と比較して、当該人の心身状態の変化の有無を判定する請求項1に記載の見守りシステム。
【請求項4】
前記データ取得部は、前記家屋内の人が発した音声の音声データをさらに取得し、
前記推論部は、前記音声データから前記家屋内の人の発話パターンを推論するための第3学習済モデルを用いて、前記データ取得部が取得した前記音声データから前記家屋内の人の発話パターンをさらに出力し、
前記判定部は、前記推論部が出力した前記家屋内の人の発話パターンの時間変化に基づいて、当該人の心身状態の変化の有無をさらに判定する請求項1から請求項3のいずれか一項に記載の見守りシステム。
【請求項5】
前記データ取得部が取得した前記音声データを用いて、前記家屋内の人の個人を特定する個人特定部をさらに備え、
前記推論部は、前記個人特定部が特定した個人毎に、当該個人の発話パターンを出力し、
前記判定部は、前記個人特定部が特定した個人毎に、当該個人の心身状態の変化の有無を判定する請求項4に記載の見守りシステム。
【請求項6】
前記家屋内の人が発した音声が、前記電気機器への明示的な指示を含むものである場合、当該指示に基づいて前記電気機器の動作を制御し、
前記家屋内の人が発した音声が、前記電気機器への明示的な指示を含まないものである場合、当該人が発した音声の発話内容に基づいて、前記電気機器の操作内容を提案する請求項4に記載の見守りシステム。
【請求項7】
前記推論部が出力した前記家屋内の人の行動パターンに基づいて、前記電気機器の操作方法を前記家屋内の人に対し案内し、
前記判定部は、前記電気機器の操作方法を案内したときにおける、前記電気機器への操作に基づいて、前記家屋内の人の心身状態の変化の有無を判定する請求項1から請求項3のいずれか一項に記載の見守りシステム。
【請求項8】
前記出力部は、前記判定部による判定結果を前記家屋内の人以外の第三者に報知するための信号を出力する請求項1から請求項3のいずれか一項に記載の見守りシステム。
発明の詳細な説明
【技術分野】
【0001】
本開示は、見守りシステムに関するものである。
続きを表示(約 1,800 文字)
【背景技術】
【0002】
家庭用電気器具の操作履歴を取得する取得部と、例えば1か月等の期間内の操作履歴に基づいて、誤操作回数を計数し、当該誤操作回数が一定の回数に達した場合に、家庭用電気器具の操作者が認知症の可能性があると判定するものが知られている(例えば、特許文献1参照)。
【先行技術文献】
【特許文献】
【0003】
特開2017-104289号公報
【発明の概要】
【発明が解決しようとする課題】
【0004】
しかしながら、特許文献1に示されるような見守りシステムにおいては、電気機器の誤操作は認知症だけでなく気力の衰え、ストレス過多、精神疲労等の別の心身、体調の不良により発生する可能性もある。このため、認知症の可能性を知らされたユーザは誤判定である認識し、自身の不調に気づけないおそれがある。また、1か月等の比較的に長い期間内における誤操作回数に基づくため、心身状態の変化の早期発見が難しい場合がある。
【0005】
本開示は、このような課題を解決するためになされたものである。その目的は、ユーザの心身状態の変化の検知精度向上と早期発見とを図ることができる見守りシステムを提供することにある。
【課題を解決するための手段】
【0006】
本開示に係る見守りシステムは、家屋内の電気機器の動作履歴及び前記電気機器に対する操作履歴の一方又は両方を含む推論用データを取得するデータ取得部と、前記推論用データから前記家屋内の人の行動パターンを推論するための第1学習済モデルを用いて、前記データ取得部が取得した前記推論用データから前記家屋内の人の行動パターンを出力する推論部と、前記推論部が出力した前記家屋内の人の行動パターンの時間変化に基づいて、当該人の心身状態の変化の有無を判定する判定部と、前記判定部による判定結果を出力する出力部と、を備える。
【発明の効果】
【0007】
本開示に係る見守りシステムによれば、ユーザの心身状態の変化の検知精度向上と早期発見とを図ることができるという効果を奏する。
【図面の簡単な説明】
【0008】
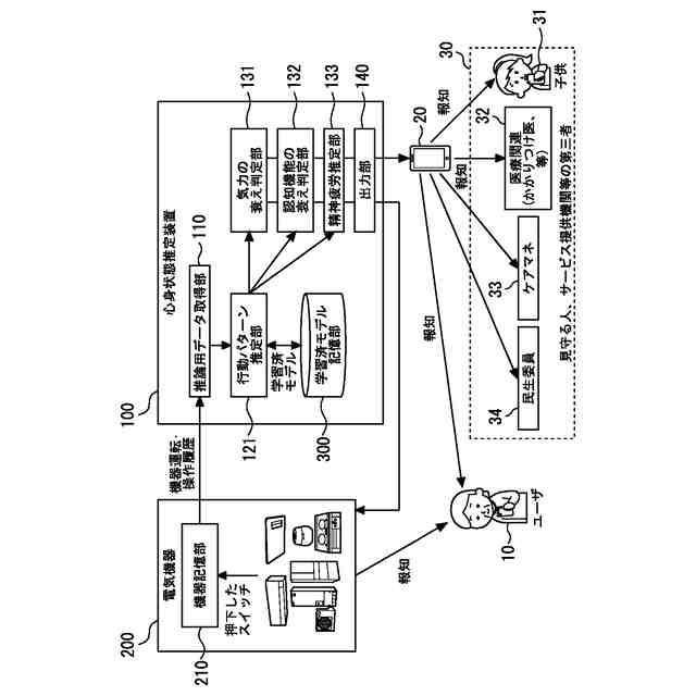
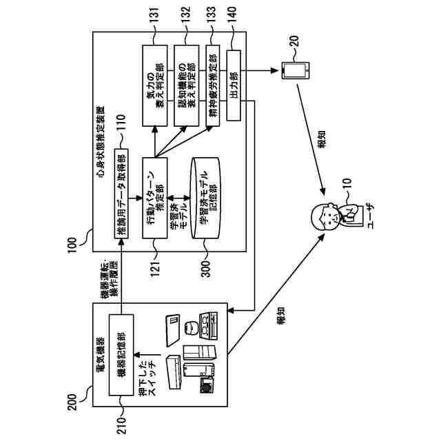
実施の形態1に係る見守りシステムの構成を示すブロック図である。
実施の形態1に係る見守りシステムの構成を示すブロック図である。
実施の形態1に係る見守りシステムの動作例を示すフロー図である。
実施の形態1に係る学習装置の構成を示すブロック図である。
実施の形態1に係る学習装置におけるニューラルネットワークの一例を示す図である。
実施の形態1に係る学習装置の動作の一例を示すフロー図である。
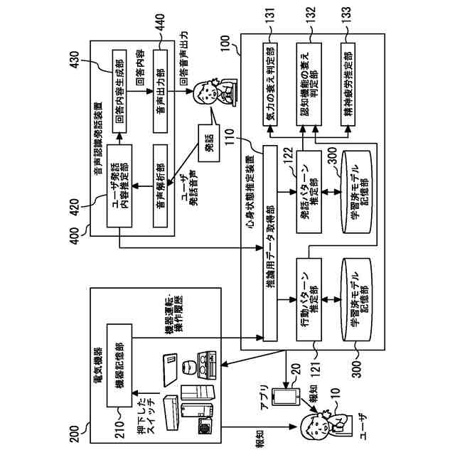
実施の形態1に係る見守りシステムの変形例の構成を示すブロック図である。
実施の形態1に係る心身状態推定装置、音声認識発話装置及び学習装置の機能を実現する構成の一例を示す図である。
【発明を実施するための形態】
【0009】
本開示に係る見守りシステムを実施するための形態について添付の図面を参照しながら説明する。各図において、同一又は相当する部分には同一の符号を付して、重複する説明は適宜に簡略化又は省略する。以下の説明においては便宜上、図示の状態を基準に各構造の位置関係を表現することがある。なお、本開示は以下の実施の形態に限定されることなく、本開示の趣旨を逸脱しない範囲において、各実施の形態の自由な組み合わせ、各実施の形態の任意の構成要素の変形、又は各実施の形態の任意の構成要素の省略が可能である。
【0010】
実施の形態1.
図1から図8を参照しながら、本開示の実施の形態1について説明する。図1及び図2のそれぞれは見守りシステムの構成を示すブロック図である。図3は見守りシステムの動作例を示すフロー図である。図4は学習装置の構成を示すブロック図である。図5は学習装置におけるニューラルネットワークの一例を示す図である。図6は学習装置の動作の一例を示すフロー図である。図7は見守りシステムの変形例の構成を示すブロック図である。図8は心身状態推定装置、音声認識発話装置及び学習装置の機能を実現する構成の一例を示す図である。
(【0011】以降は省略されています)
この特許をJ-PlatPat(特許庁公式サイト)で参照する
関連特許
三菱電機株式会社
換気扇
今日
三菱電機株式会社
冷蔵庫
7日前
三菱電機株式会社
冷蔵庫
1か月前
三菱電機株式会社
増幅器
1か月前
三菱電機株式会社
換気扇
1か月前
三菱電機株式会社
換気扇
1か月前
三菱電機株式会社
換気扇
1か月前
三菱電機株式会社
扇風機
28日前
三菱電機株式会社
電子機器
1か月前
三菱電機株式会社
回転電機
1か月前
三菱電機株式会社
照明器具
1日前
三菱電機株式会社
照明装置
21日前
三菱電機株式会社
電気機器
7日前
三菱電機株式会社
収集装置
1か月前
三菱電機株式会社
保護リレー
29日前
三菱電機株式会社
半導体装置
7日前
三菱電機株式会社
回路遮断器
15日前
三菱電機株式会社
半導体装置
29日前
三菱電機株式会社
空気調和機
1か月前
三菱電機株式会社
半導体装置
1か月前
三菱電機株式会社
加熱調理器
15日前
三菱電機株式会社
調理システム
1か月前
三菱電機株式会社
空気清浄装置
15日前
三菱電機株式会社
光源デバイス
21日前
三菱電機株式会社
位置算出装置
今日
三菱電機株式会社
ねじ締め装置
1か月前
三菱電機株式会社
制御システム
21日前
三菱電機株式会社
貯湯式給湯機
1か月前
三菱電機株式会社
炊飯システム
1か月前
三菱電機株式会社
貯湯式給湯機
21日前
三菱電機株式会社
照明システム
1か月前
三菱電機株式会社
貯湯式給湯機
1か月前
三菱電機株式会社
空調システム
1か月前
三菱電機株式会社
空調システム
23日前
三菱電機株式会社
点検管理装置
28日前
三菱電機株式会社
貯湯式給湯機
1か月前
続きを見る
他の特許を見る