TOP
|
特許
|
意匠
|
商標
特許ウォッチ
Twitter
他の特許を見る
公開番号
2025140632
公報種別
公開特許公報(A)
公開日
2025-09-29
出願番号
2024040157
出願日
2024-03-14
発明の名称
貯湯式給湯機
出願人
三菱電機株式会社
代理人
弁理士法人高田・高橋国際特許事務所
主分類
F24H
4/02 20220101AFI20250919BHJP(加熱;レンジ;換気)
要約
【課題】比較的低い沸き上げ温度で沸き上げ運転をする場合にエネルギー効率の低下を抑制することのできる貯湯式給湯機を提供する。
【解決手段】本開示に係る貯湯式給湯機は、水を加熱する加熱手段と、加熱手段により加熱された湯を貯留する貯湯タンクと、貯湯タンク内の水を加熱手段に循環させる循環ポンプを有する貯湯回路と、貯湯タンク内の水温を検知する貯湯温度センサと、貯湯回路の水流量を取得する水流量取得手段と、加熱手段により加熱された湯を貯湯タンクに流入させる沸き上げ運転の最中に、貯湯温度センサの検出値と、水流量とに基づいて、加熱手段に流入する水の温度である入水温度の上昇を予測する予測手段と、予測手段により入水温度の上昇が予測された場合に、加熱手段の加熱能力と水流量とを低下させる加熱能力制御手段と、を備える。
【選択図】図1
特許請求の範囲
【請求項1】
水を加熱する加熱手段と、
前記加熱手段により加熱された湯を貯留する貯湯タンクと、
前記貯湯タンク内の水を前記加熱手段に循環させる循環ポンプを有する貯湯回路と、
前記貯湯タンク内の水温を検知する貯湯温度センサと、
前記貯湯回路の水流量を取得する水流量取得手段と、
前記加熱手段により加熱された湯を貯湯タンクに流入させる沸き上げ運転の最中に、前記貯湯温度センサの検出値と、前記水流量とに基づいて、前記加熱手段に流入する水の温度である入水温度の上昇を予測する予測手段と、
前記予測手段により前記入水温度の上昇が予測された場合に、前記加熱手段の加熱能力と前記水流量とを低下させる加熱能力制御手段と、
を備えた貯湯式給湯機。
続きを表示(約 790 文字)
【請求項2】
前記予測手段は、前記貯湯温度センサの位置から前記貯湯タンクの最下部までの容積を前記水流量で除した時間後に、前記貯湯温度センサが検知した温度の水が前記加熱手段に流入すると予測する請求項1に記載の貯湯式給湯機。
【請求項3】
前記加熱能力制御手段は、前記加熱手段に流入すると予測された水の温度が基準温度以上の場合、または、前記加熱手段に流入すると予測された水の温度が前記基準温度未満かつ前記沸き上げ運転の開始時の入水温度に比べて所定温度以上高い場合に、前記加熱手段の加熱能力と前記水流量とを低下させる請求項1または請求項2に記載の貯湯式給湯機。
【請求項4】
水を加熱する加熱手段と、
前記加熱手段により加熱された湯を貯留する貯湯タンクと、
前記貯湯タンク内の水を前記加熱手段に循環させる循環ポンプを有する貯湯回路と、
給湯負荷が集中する負荷集中時間帯を学習する学習手段と、
前記加熱手段により加熱された湯を貯湯タンクに流入させる沸き上げ運転の最中に、前記負荷集中時間帯の開始時刻と現在時刻との差分時間を算出する差分時間算出手段と、
前記差分時間が基準時間未満になると前記加熱手段の加熱能力を低下させ、現在時刻が前記負荷集中時間帯の開始時刻を過ぎると前記加熱手段の加熱能力を上昇させる加熱能力制御手段と、
を備えた貯湯式給湯機。
【請求項5】
前記基準時間は、前記加熱手段を定格能力で運転したときに1回の給湯またはシャワーに必要な湯量を前記加熱手段で生成するために必要な時間である請求項4に記載の貯湯式給湯機。
【請求項6】
前記沸き上げ運転で前記貯湯タンクに流入する湯の温度が50℃以上60℃以下である請求項1または請求項4に記載の貯湯式給湯機。
発明の詳細な説明
【技術分野】
【0001】
本開示は、貯湯式給湯機に関する。
続きを表示(約 2,100 文字)
【背景技術】
【0002】
下記特許文献1には、設定期間に給湯端末によって生じる負荷である給湯負荷が複数回発生する時間帯である負荷頻発時間帯に沸き上げ運転を行う場合に、加熱能力を第1の加熱能力よりも低い第2の加熱能力に変更する貯湯式給湯機が開示されている。
【先行技術文献】
【特許文献】
【0003】
特開2020-118315号公報
【発明の概要】
【発明が解決しようとする課題】
【0004】
貯湯式給湯機の標準沸き上げ温度は、レジオネラ菌予防の観点で60℃以上が望ましく、そこから配管放熱を考慮すると65℃以上が望ましいとされていた。これに対し、新たにレジオネラ菌の増殖条件を、密閉型貯湯タンクを備える給湯機の実機で検証したところ、標準沸き上げ温度の下限値を55℃としてもレジオネラ菌の増殖を抑制することが可能と結論付けられた。この点を踏まえて、従来定められている標準沸き上げ温度よりも低温の温水を沸き上げる低温沸き上げ運転を行うことが考えられる。沸き上げ温度を例えば55℃とする低温沸き上げ運転を行うと、貯湯タンク内で30℃~40℃程度の中温水の量が増加する。その結果、沸き上げ運転時のヒートポンプ入水温度が従来よりも高温になり、エネルギー効率が低下するという課題がある。
【0005】
本開示は、上述のような課題を解決するためになされた。本開示の目的は、比較的低い沸き上げ温度で沸き上げ運転をする場合にエネルギー効率の低下を抑制することのできる貯湯式給湯機を提供することである。
【課題を解決するための手段】
【0006】
本開示に係る貯湯式給湯機は、水を加熱する加熱手段と、加熱手段により加熱された湯を貯留する貯湯タンクと、貯湯タンク内の水を加熱手段に循環させる循環ポンプを有する貯湯回路と、貯湯タンク内の水温を検知する貯湯温度センサと、貯湯回路の水流量を取得する水流量取得手段と、加熱手段により加熱された湯を貯湯タンクに流入させる沸き上げ運転の最中に、貯湯温度センサの検出値と、水流量とに基づいて、加熱手段に流入する水の温度である入水温度の上昇を予測する予測手段と、予測手段により入水温度の上昇が予測された場合に、加熱手段の加熱能力と水流量とを低下させる加熱能力制御手段と、を備えたものである。
また、本開示に係る貯湯式給湯機は、水を加熱する加熱手段と、加熱手段により加熱された湯を貯留する貯湯タンクと、貯湯タンク内の水を加熱手段に循環させる循環ポンプを有する貯湯回路と、給湯負荷が集中する負荷集中時間帯を学習する学習手段と、加熱手段により加熱された湯を貯湯タンクに流入させる沸き上げ運転の最中に、負荷集中時間帯の開始時刻と現在時刻との差分時間を算出する差分時間算出手段と、差分時間が基準時間未満になると加熱手段の加熱能力を低下させ、現在時刻が負荷集中時間帯の開始時刻を過ぎると加熱手段の加熱能力を上昇させる加熱能力制御手段と、を備えたものである。
【発明の効果】
【0007】
本開示によれば、比較的低い沸き上げ温度で沸き上げ運転をする場合にエネルギー効率の低下を抑制することのできる貯湯式給湯機を提供することが可能となる。
【図面の簡単な説明】
【0008】
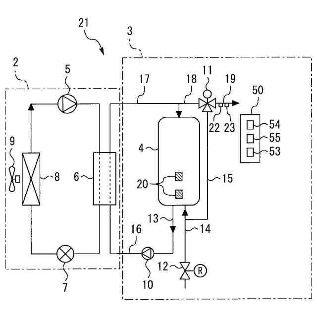
実施の形態1に係る貯湯式給湯機を示す図である。
予測手段がHP入水温度の上昇を予測する方法を説明するための図である。
実施の形態1における制御動作を示すフローチャートである。
実施の形態1における制御部の機能を実現する構成の一例を示す図である。
実施の形態2に係る貯湯式給湯機を示す図である。
実施の形態2における制御動作を示すフローチャートである。
低温沸き上げ運転時の加熱能力の変化の一例を示すグラフである。
【発明を実施するための形態】
【0009】
以下、図面を参照して実施の形態について説明する。各図において共通または対応する要素には、同一の符号を付して、説明を簡略化または省略する。以下の説明において、「水」、「湯」、「温水」、「湯水」等の記載は、原則として、液体の水を意味し、冷水から熱湯までもが含まれうるものとする。また、以下に示す実施の形態に示した構成は、本開示に係る技術的思想の一例を示すものであり、別の公知の技術と組み合わせることも可能であるし、本開示に記載の複数の技術的思想を組み合わせることも可能である。また、本開示の要旨を逸脱しない範囲で、構成の一部を省略または変更することも可能である。
【0010】
実施の形態1.
図1は、実施の形態1による貯湯式給湯機1を示す図である。図1に示すように、貯湯式給湯機1は、ヒートポンプサイクルを利用する加熱手段2と、貯湯タンク4を有する貯湯ユニット3とを備える。加熱手段2は、電力を消費して水を加熱する。加熱手段2は、屋外に設置される。貯湯ユニット3は、屋外に設置されてもよいし、屋内に設置されてもよい。
(【0011】以降は省略されています)
この特許をJ-PlatPat(特許庁公式サイト)で参照する
関連特許
三菱電機株式会社
換気扇
9日前
三菱電機株式会社
換気扇
9日前
三菱電機株式会社
換気扇
9日前
三菱電機株式会社
増幅器
今日
三菱電機株式会社
電子機器
10日前
三菱電機株式会社
収集装置
7日前
三菱電機株式会社
空気調和機
2日前
三菱電機株式会社
半導体装置
15日前
三菱電機株式会社
照明システム
15日前
三菱電機株式会社
空調システム
今日
三菱電機株式会社
ねじ締め装置
今日
三菱電機株式会社
誘導加熱調理器
9日前
三菱電機株式会社
電動機制御装置
21日前
三菱電機株式会社
樹脂成形用金型
今日
三菱電機株式会社
電流切替型DAC
15日前
三菱電機株式会社
全館空調システム
7日前
三菱電機株式会社
レンズモジュール
7日前
三菱電機株式会社
道路情報補正装置
2日前
三菱電機株式会社
ヒートポンプ装置
3日前
三菱電機株式会社
電池パック及び電池
2日前
三菱電機株式会社
保護継電器及び配電盤
9日前
三菱電機株式会社
点灯装置および照明器具
7日前
三菱電機株式会社
車両空調機用診断システム
10日前
三菱電機株式会社
測位システムおよび固定局
8日前
三菱電機株式会社
半導体ウェハの外観検査装置
8日前
三菱電機株式会社
配光制御レンズ及び照明装置
今日
三菱電機株式会社
監視装置、および監視システム
16日前
三菱電機株式会社
冷凍サイクル装置及び制御装置
今日
三菱電機株式会社
半導体装置および電力変換装置
3日前
三菱電機株式会社
制御システム、及び、表示方法
今日
三菱電機株式会社
加熱調理器及び加熱調理システム
16日前
三菱電機株式会社
換気装置、送風装置および制御装置
15日前
三菱電機株式会社
照明器具および照明器具の製造方法
17日前
三菱電機株式会社
満空検知システム、および、判定機
3日前
三菱電機株式会社
照明制御装置および照明制御システム
21日前
三菱電機株式会社
選択支援装置、方法、及びプログラム
14日前
続きを見る
他の特許を見る