TOP
|
特許
|
意匠
|
商標
特許ウォッチ
Twitter
他の特許を見る
10個以上の画像は省略されています。
公開番号
2025167440
公報種別
公開特許公報(A)
公開日
2025-11-07
出願番号
2024072026
出願日
2024-04-26
発明の名称
回転電機ユニット
出願人
三菱電機株式会社
代理人
個人
,
個人
,
個人
,
個人
主分類
H02M
7/48 20070101AFI20251030BHJP(電力の発電,変換,配電)
要約
【課題】筐体カバーの内部の温度分布の偏りを低減して、電力変換装置の放熱性を改善すること。
【解決手段】回転電機ユニットは、回転軸を有する回転電機と、回転軸の軸心に沿った軸方向において回転電機と並んで配置され、回転電機を制御する制御基板と、制御基板を収容する筐体カバーと、を有する電力変換装置と、を備え、筐体カバーの内部には、回転軸の回転動作を利用して気流を発生させる気流発生構造が設けられており、回転軸の先端部は、筐体カバーの内部空間まで延びており、気流発生構造は、回転軸の先端部に対して固定されている。
【選択図】図5
特許請求の範囲
【請求項1】
回転軸を有する回転電機と、
前記回転軸の軸心に沿った軸方向において前記回転電機と並んで配置され、前記回転電機を制御する制御基板と、前記制御基板を収容する筐体カバーと、を有する電力変換装置と、
を備え、
前記筐体カバーの内部には、前記回転軸の回転動作を利用して気流を発生させる気流発生構造が設けられており、
前記回転軸の先端部は、前記筐体カバーの内部空間まで延びており、
前記気流発生構造は、前記回転軸の先端部に対して固定されている、
回転電機ユニット。
続きを表示(約 1,000 文字)
【請求項2】
前記電力変換装置は、前記筐体カバーに収容されるインバータと、前記インバータを冷却させる冷却構造と、を有し、
前記冷却構造は、前記軸方向において前記制御基板を挟んで前記回転軸の先端部の反対側に設けられ、前記インバータに接触する冷却面を有する、請求項1に記載の回転電機ユニット。
【請求項3】
前記回転電機は、前記回転軸の先端部に取り付けられる回転検出用ターゲットを有し、
前記電力変換装置は、前記回転検出用ターゲットと前記軸方向に対向して設けられ、前記回転検出用ターゲットの回転を検出する回転検出部を有し、
前記気流発生構造は、前記回転検出用ターゲットを備える、請求項1または2に記載の回転電機ユニット。
【請求項4】
前記気流発生構造は、前記回転検出用ターゲットに取り付けられる複数の平形ブレードを有する平形ファンを備える、請求項3に記載の回転電機ユニット。
【請求項5】
前記複数の平形ブレードはそれぞれ、前記軸方向において前記回転検出部に対向する対向面を有し、前記回転検出部と前記対向面との前記軸方向における距離が周方向に変化するよう構成されている、請求項4に記載の回転電機ユニット。
【請求項6】
前記気流発生構造は、前記回転軸の先端部の外周面に取り付けられる複数の斜形ブレードを有する斜形ファンを備える、請求項1または2に記載の回転電機ユニット。
【請求項7】
前記気流発生構造は、前記斜形ファンを囲むように設けられる筒状カバーをさらに備える、請求項6に記載の回転電機ユニット。
【請求項8】
前記気流発生構造は、前記平形ファンを覆うように設けられる導風カバーをさらに備え、
前記導風カバーには、前記平形ファンにより発生した気流が噴出する噴出口が設けられている、請求項4に記載の回転電機ユニット。
【請求項9】
前記電力変換装置は、前記筐体カバーの内部の温度を検出する複数の温度センサを備え、
前記導風カバーには、前記噴出口を含む複数の噴出口が設けられており、前記複数の噴出口にはそれぞれ、前記噴出口を開閉する開閉構造が設けられており、前記制御基板は、前記複数の温度センサの検出結果に基づき、前記開閉構造を制御する、請求項8に記載の回転電機ユニット。
発明の詳細な説明
【技術分野】
【0001】
本開示は、回転電機ユニットに関する。
続きを表示(約 1,900 文字)
【背景技術】
【0002】
従来、回転電機と電力変換装置を一体化することにより、装置全体を小型化した回転電機ユニットが知られている。例えば、特許文献1では、回転軸の先端部を電力変換装置の筐体カバーの内部に配置することで、回転電機ユニットの小型化を図っている。
【先行技術文献】
【特許文献】
【0003】
特許第6897813号公報
【発明の概要】
【発明が解決しようとする課題】
【0004】
回転軸の先端部を電力変換装置の筐体カバーの内部に配置する場合、回転電機の駆動により発生する熱が電力変換装置まで伝搬する。また、電力変換装置の電子部品等も、通電により発熱する。電力変換装置には、筐体カバーの内部に配置される部品等の放熱のための冷却構造が設けられている。
【0005】
筐体カバーの内部に配置される部品のうち、冷却構造に接触する部品については、冷却構造を介して直接放熱できる。一方で、冷却構造に接触していない部品で発生した熱は、筐体カバー内の空気、および筐体カバーへの固定部分を介して冷却構造へ伝熱され、回転電機ユニットの外部へ放熱される。空気の熱伝導率は低く、また、筐体カバーの内部空間は密閉されている。したがって、冷却構造に接触していない部品で発生した熱は冷却構造に伝達されにくく、これら部品の周囲にこもりやすい。この結果、従来の回転電機ユニットでは、筐体カバーの内部に配置される部品のうち、冷却構造に接触していない部品の温度が高いままとなり、筐体カバーの内部の温度分布に偏りが生じていた。冷却構造に接触していない部品で発生した熱を冷却構造に効果的に伝達させて、回転電機ユニットの放熱性を向上させることが求められている。
【0006】
本開示は、前述した事情に鑑みてなされたものであり、筐体カバーの内部の温度分布の偏りを低減して、放熱性を向上させることが可能な回転電機ユニットを提供することを目的とする。
【課題を解決するための手段】
【0007】
本開示に係る回転電機ユニットは、回転軸を有する回転電機と、前記回転軸の軸心に沿った軸方向において前記回転電機と並んで配置され、前記回転電機を制御する制御基板と、前記制御基板を収容する筐体カバーと、を有する電力変換装置と、を備え、前記筐体カバーの内部には、前記回転軸の回転動作を利用して気流を発生させる気流発生構造が設けられており、前記回転軸の先端部は、前記筐体カバーの内部空間まで延びており、前記気流発生構造は、前記回転軸の先端部に対して固定されている。
【発明の効果】
【0008】
本開示によれば、回転軸の回転動作を利用して、筐体カバーの内部の温度分布の偏りを低減して、放熱性を向上させることが可能な回転電機ユニットを提供することができる。
【図面の簡単な説明】
【0009】
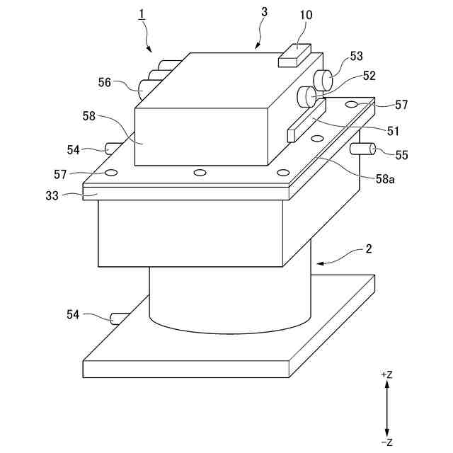
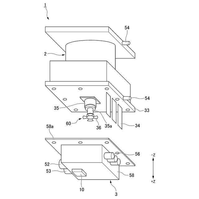
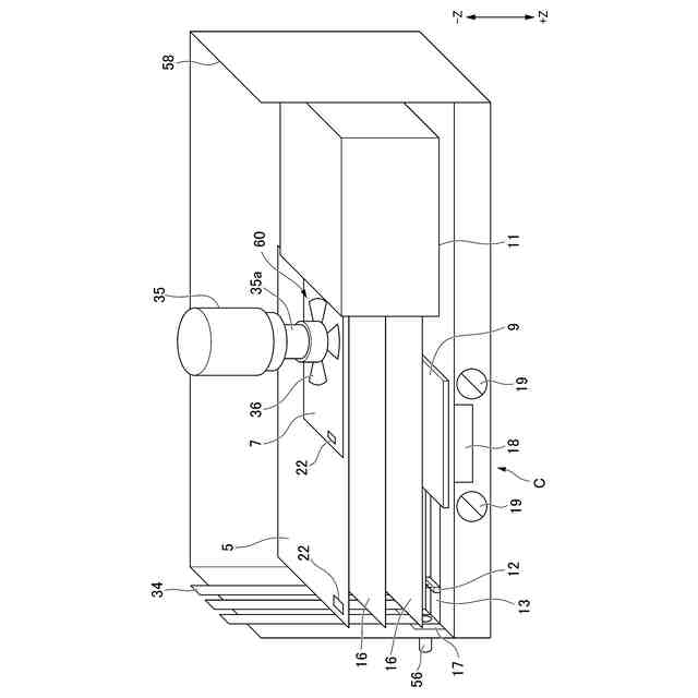
実施の形態1に係る回転電機ユニットの斜視図である。
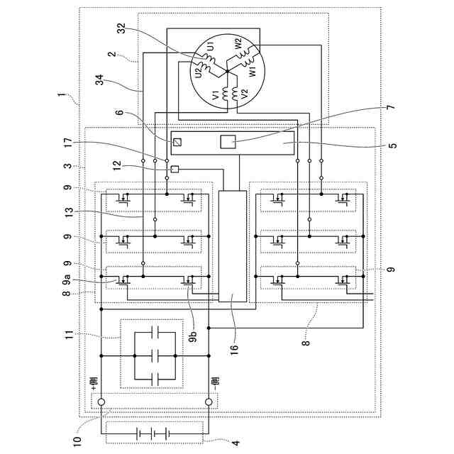
実施の形態1に係る回転電機ユニットの回路図である。
実施の形態1に係る回転電機ユニットの分解斜視図である。
実施の形態1に係る回転電機の概略断面図である。
実施の形態1に係る電力変換装置の斜視図である。
実施の形態1に係る電力変換装置の斜視図であって、制御基板および駆動基板を取り外した状態を示す図である。
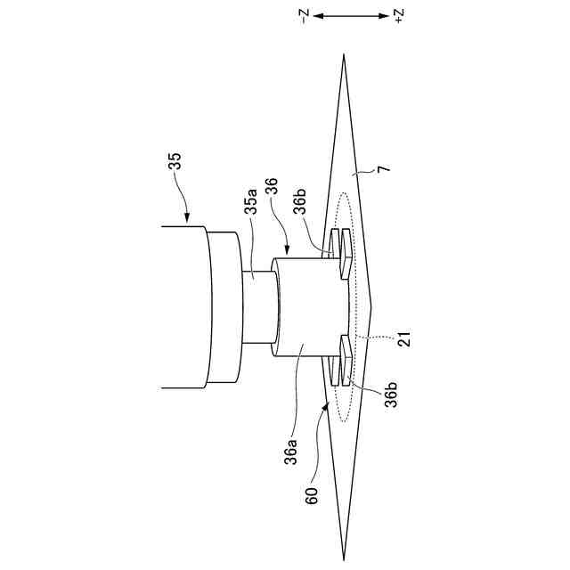
実施の形態1に係る気流発生構造としての回転検出用ターゲットおよび回転検出部の斜視図である。
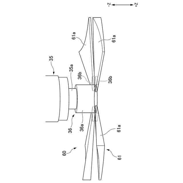
実施の形態2に係る気流発生構造の斜視図である。
実施の形態2の変形例に係る気流発生構造の斜視図である。
実施の形態3に係る気流発生構造の斜視図である。
実施の形態4に係る気流発生構造の斜視図である。
実施の形態5に係る気流発生構造の斜視図である。
実施の形態6に係る気流発生構造の斜視図である。
実施の形態6の変形例に係る気流発生構造の斜視図である。
実施の形態7に係る気流発生構造の概略断面図である。
実施の形態8に係る気流発生構造の概略断面図である。
実施の形態9に係る気流発生構造の斜視図である。
実施の形態9に係る気流発生構造の動作を説明する図である。
【発明を実施するための形態】
【0010】
<実施の形態1>
以下、実施の形態1に係る回転電機ユニット1について、図面を参照して説明する。図1は回転電機ユニット1の斜視図である。図2は回転電機ユニット1の回路図である。
(【0011】以降は省略されています)
この特許をJ-PlatPat(特許庁公式サイト)で参照する
関連特許
三菱電機株式会社
冷蔵庫
15日前
三菱電機株式会社
換気扇
8日前
三菱電機株式会社
照明器具
9日前
三菱電機株式会社
換気装置
7日前
三菱電機株式会社
電気機器
15日前
三菱電機株式会社
電動送風機
7日前
三菱電機株式会社
半導体装置
今日
三菱電機株式会社
半導体装置
2日前
三菱電機株式会社
冷凍冷蔵庫
今日
三菱電機株式会社
半導体装置
15日前
三菱電機株式会社
回路遮断器
23日前
三菱電機株式会社
加熱調理器
23日前
三菱電機株式会社
半導体装置
2日前
三菱電機株式会社
位置算出装置
8日前
三菱電機株式会社
空気清浄装置
23日前
三菱電機株式会社
車両制御装置
7日前
三菱電機株式会社
電力変換装置
2日前
三菱電機株式会社
電力変換装置
2日前
三菱電機株式会社
電磁波発生装置
15日前
三菱電機株式会社
移動体監視装置
28日前
三菱電機株式会社
見守りシステム
8日前
三菱電機株式会社
回転電機ユニット
28日前
三菱電機株式会社
食事支援システム
1日前
三菱電機株式会社
加熱調理システム
28日前
三菱電機株式会社
回転電機ユニット
28日前
三菱電機株式会社
照明制御システム
15日前
三菱電機株式会社
直流配電システム
9日前
三菱電機株式会社
スクロール圧縮機
1日前
三菱電機株式会社
空気調和機の室内機
23日前
三菱電機株式会社
車両用空調システム
8日前
三菱電機株式会社
被加工物の製造方法
1日前
三菱電機株式会社
空気調和機の室内機
9日前
三菱電機株式会社
伝送速度選択システム
7日前
三菱電機株式会社
ヒートポンプ給湯装置
23日前
三菱電機株式会社
リニューアルプレート
28日前
三菱電機株式会社
半導体装置の製造方法
7日前
続きを見る
他の特許を見る