TOP
|
特許
|
意匠
|
商標
特許ウォッチ
Twitter
他の特許を見る
10個以上の画像は省略されています。
公開番号
2025165109
公報種別
公開特許公報(A)
公開日
2025-11-04
出願番号
2024068990
出願日
2024-04-22
発明の名称
空調システム
出願人
三菱電機株式会社
代理人
弁理士法人きさ特許商標事務所
主分類
F24F
11/74 20180101AFI20251027BHJP(加熱;レンジ;換気)
要約
【課題】エネルギーロス及び利用者の快適性の低下を抑制することができる空調システムを提供することを目的とする。
【解決手段】空調システムは、第1空間と、第2空間と、を有する建物に設置される空調システムであって、第1空間に設置され、第1空間の暖房又は冷房を行う空気調和装置と、第1空間と第2空間を接続する風路に設けられ、第1空間の空気を第2空間に送る送風装置と、第2空間に設置され、第2空間の空気質情報を測定する空気質センサと、空気質情報に基づき送風装置を制御する制御装置と、を備え、制御装置は、空気質センサにエラーが発生したと判定される場合、送風装置を停止する、送風装置の制御モードを変更する、又は空気質情報に関連する情報を用いて送風装置を制御するものである。
【選択図】図3
特許請求の範囲
【請求項1】
第1空間と、第2空間と、を有する建物に設置される空調システムであって、
前記第1空間に設置され、前記第1空間の暖房又は冷房を行う空気調和装置と、
前記第1空間と前記第2空間を接続する風路に設けられ、前記第1空間の空気を前記第2空間に送る送風装置と、
前記第2空間に設置され、前記第2空間の空気質情報を測定する空気質センサと、
前記空気質情報に基づき前記送風装置を制御する制御装置と、を備え、
前記制御装置は、前記空気質センサにエラーが発生したと判定される場合、前記送風装置を停止する、前記送風装置の制御モードを変更する、又は前記空気質情報に関連する情報を用いて前記送風装置を制御する空調システム。
続きを表示(約 960 文字)
【請求項2】
前記制御モードは、前記送風装置を前記空気質情報に基づき自動で制御する自動制御モードと、前記送風装置を利用者により手動で制御する手動制御モードと、を含み、
前記制御装置は、
前記空気質センサにエラーが発生したと判定される場合、前記制御モードを前記手動制御モードに切り替え、
前記利用者へ前記制御モードが切り替えられたことを通知する請求項1に記載の空調システム。
【請求項3】
前記空気質センサによって測定された過去の空気質情報を記憶する記憶部をさらに備え、
前記制御装置は、前記空気質センサにエラーが発生したと判定される場合、前記記憶部に記憶される前記過去の空気質情報に基づいて前記送風装置を制御する請求項1又は2に記載の空調システム。
【請求項4】
前記制御装置は、
前記過去の空気質情報の保存時間が、予め設定された判定時間以上である場合、前記送風装置を停止し、
前記保存時間が前記判定時間未満である場合、前記過去の空気質情報に基づいて前記送風装置を制御する請求項3に記載の空調システム。
【請求項5】
前記制御装置は、前記空気質センサにエラーが発生したと判定される場合、屋外の空気質情報である屋外情報を取得し、前記屋外情報に基づいて前記送風装置を制御する請求項1又は2に記載の空調システム。
【請求項6】
前記空気質センサによって測定された過去の空気質情報、及び過去の屋外情報を記憶する記憶部をさらに備え、
前記屋外情報は、屋外の空気質情報であり、
前記制御装置は、
前記空気質センサにエラーが発生したと判定される場合、前記記憶部に記憶される前記過去の空気質情報及び前記過去の屋外情報と、現在の屋外情報と、に基づき現在の前記第2空間の空気質情報を推定し、
推定された前記空気質情報に基づいて前記送風装置を制御する請求項1又は2に記載の空調システム。
【請求項7】
前記制御装置は、前記空気質センサにエラーが発生したと判定される場合、前記記憶部に記憶される前記過去の屋外情報に基づき、前記現在の屋外情報を推定する請求項6に記載の空調システム。
発明の詳細な説明
【技術分野】
【0001】
本開示は、建物内の空調及び換気を行う空調システムに関するものである。
続きを表示(約 1,800 文字)
【背景技術】
【0002】
従来、住宅などの建物内の空調及び換気を行う空調システムにおいて、空気調和装置が設置された空調対象空間の空気を、空気調和装置が設置されていない非空調対象空間へ送ることで、建物内の温熱環境を改善することが知られている。例えば、特許文献1には、隣接する部屋の側壁に設けられた室間ファンによって一方の部屋から他方の部屋へ送風し、熱及び水分を移動する空調システムが開示されている。特許文献1の空調システムでは、搬送先の部屋に温度又は湿度などを測定するセンサを備え、測定結果に応じて室間ファンの運転を制御することが提案されている。
【先行技術文献】
【特許文献】
【0003】
特開2005-90824号公報
【発明の概要】
【発明が解決しようとする課題】
【0004】
特許文献1の空調システムにおいて、センサの故障又は通信障害などにより、搬送先の部屋の温度又は湿度などを取得できなかった場合、過剰な空気の搬送によるエネルギーロス、及び搬送先の部屋にいる利用者の快適性の低下が生じる恐れがある。
【0005】
本開示は、上記のような課題を解決するものであり、エネルギーロス及び利用者の快適性の低下を抑制することができる空調システムを提供することを目的とする。
【課題を解決するための手段】
【0006】
本開示に係る空調システムは、第1空間と、第2空間と、を有する建物に設置される空調システムであって、第1空間に設置され、第1空間の暖房又は冷房を行う空気調和装置と、第1空間と第2空間を接続する風路に設けられ、第1空間の空気を第2空間に送る送風装置と、第2空間に設置され、第2空間の空気質情報を測定する空気質センサと、空気質情報に基づき送風装置を制御する制御装置と、を備え、制御装置は、空気質センサにエラーが発生したと判定される場合、送風装置を停止する、送風装置の制御モードを変更する、又は空気質情報に関連する情報を用いて送風装置を制御するものである。
【発明の効果】
【0007】
本開示における空調システムによれば、空気質センサにエラーが発生したと判定される場合、送風装置を停止する、送風装置の制御モードを変更する、又は空気質情報に関連する情報を用いて送風装置を制御することで、エネルギーロス及び利用者の快適性の低下を抑制することができる。
【図面の簡単な説明】
【0008】
実施の形態1に係る空調システムの概略構成図である。
実施の形態1に係る空調システムの制御ブロック図である。
実施の形態1における送風制御の流れを示すフローチャートである。
実施の形態2に係る空調システムの制御ブロック図である。
実施の形態2における送風制御の流れを示すフローチャートである。
実施の形態3に係る空調システムの制御ブロック図である。
実施の形態3における送風制御の流れを示すフローチャートである。
実施の形態4における送風制御の流れを示すフローチャートである。
実施の形態5に係る空調システムの概略構成図である。
実施の形態5における送風制御の流れを示すフローチャートである。
実施の形態6に係る空調システムの制御ブロック図である。
実施の形態6における送風制御の流れを示すフローチャートである。
【発明を実施するための形態】
【0009】
以下、図面を参照して、本開示の実施の形態について説明する。なお、各図中、同一又は相当する部分には、同一符号を付して、その説明を適宜省略又は簡略化する。また、各図に記載の構成について、その形状、大きさ及び配置等は、本開示の範囲内で適宜変更することができる。
【0010】
実施の形態1.
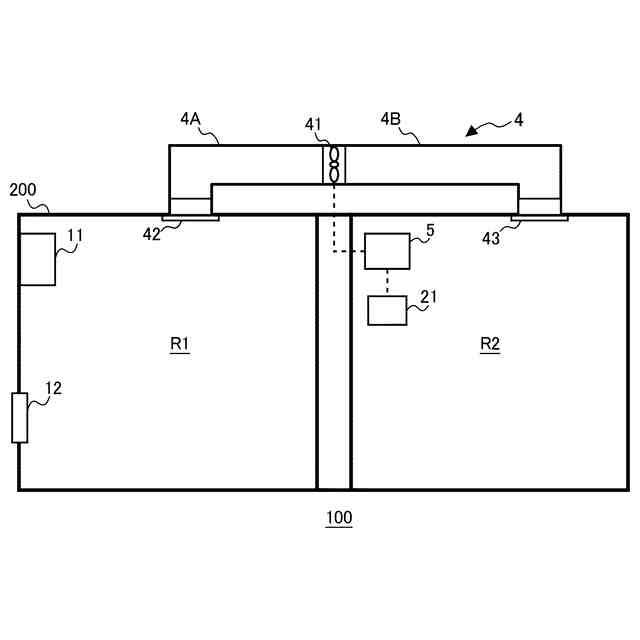
図1は、実施の形態1に係る空調システム100の概略構成図である。実施の形態1の空調システム100は、住宅などの建物200に設置される。図1は、建物200の断面模式図と、建物200に設置された空調システム100の各構成とを示している。図1を用いて、本実施の形態の空調システム100の構成及び配置について説明する。
(【0011】以降は省略されています)
この特許をJ-PlatPat(特許庁公式サイト)で参照する
関連特許
三菱電機株式会社
冷蔵庫
1か月前
三菱電機株式会社
増幅器
1か月前
三菱電機株式会社
換気扇
1か月前
三菱電機株式会社
換気扇
1か月前
三菱電機株式会社
冷蔵庫
9日前
三菱電機株式会社
換気扇
2日前
三菱電機株式会社
扇風機
1か月前
三菱電機株式会社
換気扇
1か月前
三菱電機株式会社
収集装置
1か月前
三菱電機株式会社
換気装置
1日前
三菱電機株式会社
電気機器
9日前
三菱電機株式会社
電子機器
1か月前
三菱電機株式会社
照明装置
23日前
三菱電機株式会社
照明器具
3日前
三菱電機株式会社
電動送風機
1日前
三菱電機株式会社
加熱調理器
17日前
三菱電機株式会社
半導体装置
1か月前
三菱電機株式会社
回路遮断器
17日前
三菱電機株式会社
半導体装置
9日前
三菱電機株式会社
保護リレー
1か月前
三菱電機株式会社
空気調和機
1か月前
三菱電機株式会社
半導体装置
1か月前
三菱電機株式会社
調理システム
1か月前
三菱電機株式会社
貯湯式給湯機
1か月前
三菱電機株式会社
空調システム
1か月前
三菱電機株式会社
炊飯システム
1か月前
三菱電機株式会社
貯湯式給湯機
23日前
三菱電機株式会社
光源デバイス
23日前
三菱電機株式会社
制御システム
23日前
三菱電機株式会社
ねじ締め装置
1か月前
三菱電機株式会社
貯湯式給湯機
1か月前
三菱電機株式会社
点検管理装置
1か月前
三菱電機株式会社
車両制御装置
1日前
三菱電機株式会社
照明システム
1か月前
三菱電機株式会社
空調システム
25日前
三菱電機株式会社
位置算出装置
2日前
続きを見る
他の特許を見る