TOP
|
特許
|
意匠
|
商標
特許ウォッチ
Twitter
他の特許を見る
10個以上の画像は省略されています。
公開番号
2025161030
公報種別
公開特許公報(A)
公開日
2025-10-24
出願番号
2024063870
出願日
2024-04-11
発明の名称
ねじ締め装置
出願人
三菱電機株式会社
代理人
弁理士法人ぱるも特許事務所
主分類
B23P
19/06 20060101AFI20251017BHJP(工作機械;他に分類されない金属加工)
要約
【課題】ねじの位置と押しつけ力を制御可能で、ねじ締めに必要な時間を低減し不良の発生を抑制できるねじ締め装置を提供することを目的とする。
【解決手段】第1モータ12の回転出力軸45、回転工具11および回転出力軸45と回転工具11とを接続する回転工具取り付け部18を有する回転工具ユニット10と、回転工具ユニットを回転軸方向に沿って移動させる工具位置変位部3と、第1モータと工具位置変位部を制御する制御部2と、ねじ90と被締結物99との間の距離を測定する第1距離測定部51と、回転出力軸と回転工具取り付け部の位置を測定する第2距離測定部52とを備え、回転出力軸と回転工具取り付け部が回転軸方向に摺動するともに、可撓性接続部材38で接続され、制御部は、第1距離測定部と第2距離測定部からの測定値に基づいて、ねじの押しつけ力Pと回転工具の位置を第1モータと工具位置変位部によって制御する。
【選択図】図1
特許請求の範囲
【請求項1】
モータ、このモータの回転出力軸、ねじを回転させる回転工具、および前記回転出力軸と前記回転工具とを接続する回転工具取り付け部を有する回転工具ユニットと、
前記回転工具ユニットを回転軸方向に沿って移動させる工具位置変位部と、
前記モータおよび前記工具位置変位部を制御する制御部と、
前記ねじとこのねじが取り付けられる被締結物との間の距離を測定する第1距離測定部と、
前記回転出力軸と前記回転工具取り付け部の相対位置を測定する第2距離測定部と、
を備え、
前記回転出力軸と前記回転工具取り付け部が回転軸方向に摺動するともに、可撓性のある接続部材で接続され、
前記制御部は、前記第1距離測定部と前記第2距離測定部からの測定値に基づいて、前記ねじの押しつけ力および前記回転工具の位置を、前記モータおよび前記工具位置変位部によって制御することを特徴とするねじ締め装置。
続きを表示(約 460 文字)
【請求項2】
前記制御部は、前記第1距離測定部と前記第2距離測定部からの測定値とに基づいて、前記回転出力軸が前記接続部材の圧縮により前記ねじよりも速い速度で、前記ねじを前記被締結物まで近づけるように制御することを特徴とする請求項1に記載のねじ締め装置。
【請求項3】
前記第2距離測定部は、非接触式の位置測定方式が用いられたことを特徴とする請求項1または請求項2に記載のねじ締め装置。
【請求項4】
前記制御部は、仮締め中および仮締め後、前記第1距離測定部と前記第2距離測定部からの測定値に基づき、ねじ締め動作の不良判定を行うことを特徴とする請求項1または請求項2に記載のねじ締め装置。
【請求項5】
前記回転出力軸に発生するトルクを検出するトルク検出部を備え、
本締め中および本締め後の前記第1距離測定部、前記第2距離測定部および前記トルク検出部の出力に基づき、ねじ締め動作の不良判定を行うことを特徴とする請求項1または請求項2に記載のねじ締め装置。
発明の詳細な説明
【技術分野】
【0001】
本開示は、ねじ締め装置に関するものである。
続きを表示(約 2,200 文字)
【背景技術】
【0002】
ねじ締め装置の制御方式には、ねじに加えるトルクに基づいて仮締めを終了するトルク制御方式がある。特許文献1には、トルク制御方式を用いたねじ締め装置の一例として、回転工具と、第1モータと、第2モータと、制御部とを有するねじ締め装置が記載されている。回転工具は、ねじを回転させる。第1モータは、回転工具を回転駆動する。第2モータは、回転工具を軸方向に移動させる。制御部は、第1モータを予め決められた回転速度とし、第2モータによる回転工具の移動を、トルクが閾値トルクに達するまで行い、ねじをねじ穴にねじ込むための第1ステップと、トルクを予め決められたトルクに達するまで増加させる、ねじの本締めを行うための第2ステップと、を実行する。
【先行技術文献】
【特許文献】
【0003】
国際公開第2021/261021号
【発明の概要】
【発明が解決しようとする課題】
【0004】
上記特許文献1に記載されているねじ締め装置によれば、ねじ穴にねじ込む動作(仮締め)を速くするにつれて、トルクが規定値に達したことを検出してから仮締めを停止するまでに遅れが発生しやすくなる。このため、ねじに加わるトルクが過度に大きくなることによって、ねじおよび被締結物が変形する不良が発生するおそれがある。従って、ねじ締めに必要な時間を低減しつつ、ねじ締めにおける不良の発生を抑制することが困難であるという問題があった。
【0005】
本開示は、上記のような課題を解決するためになされたものであり、ねじ位置とねじ押しつけ力を常に制御可能な機構を有し、ねじ締めに必要な時間を低減しつつ、ねじ締めにおける不良の発生を抑制することが可能なねじ締め装置を提供することを目的とする。
【課題を解決するための手段】
【0006】
本開示に係るねじ締め装置は、モータ、このモータの回転出力軸、ねじを回転させる回転工具、および前記回転出力軸と前記回転工具とを接続する回転工具取り付け部を有する回転工具ユニットと、前記回転工具ユニットを回転軸方向に沿って移動させる工具位置変位部と、前記モータおよび前記工具位置変位部を制御する制御部と、前記ねじとこのねじが取り付けられる被締結物との間の距離を測定する第1距離測定部と、前記回転出力軸と前記回転工具取り付け部の相対位置を測定する第2距離測定部と、を備え、前記回転出力軸と前記回転工具取り付け部が回転軸方向に摺動するともに、可撓性のある接続部材で接続され、前記制御部は、前記第1距離測定部と前記第2距離測定部からの測定値に基づいて、前記ねじの押しつけ力および前記回転工具の位置を、前記モータおよび前記工具位置変位部によって制御することを特徴とする。
【発明の効果】
【0007】
本開示に係るねじ締め装置によれば、ねじ締めに必要な時間を低減しつつ、ねじ締めにおける不良の発生を抑制することが可能なねじ締め装置を提供することができる。また、仮締めと本締めの間それぞれ所望のねじ押しつけ力を発揮しながらねじ締め動作が可能である。
【図面の簡単な説明】
【0008】
実施の形態1に係るねじ締め装置の要部の構成を示す断面図である。
実施の形態1に係るねじ締め装置の要部の構成を示す拡大断面図である。
実施の形態1に係るねじ締め装置の要部の構成を示す拡大側面図である。
実施の形態1に係るねじ締め装置の構成を概略的に示すブロック図である。
実施の形態1に係るねじ締め装置の動作を概略的に示すフロー図である。
実施の形態2に係るねじ締め装置の動作を示す概略図である。
実施の形態2に係るねじ締め装置における時間と降下量との関係を示す図である。
実施の形態4に係るねじ締め装置の動作を概略的に示すフロー図である。
実施の形態5に係るねじ締め装置の動作を概略的に示すフロー図である。
【発明を実施するための形態】
【0009】
実施の形態1.
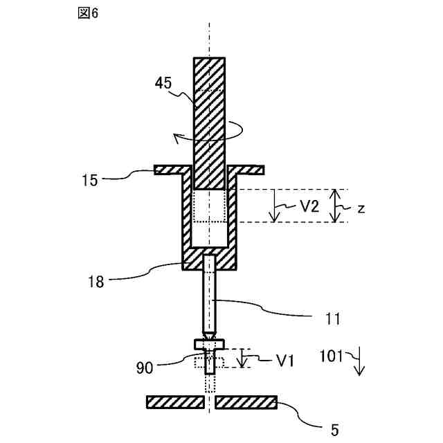
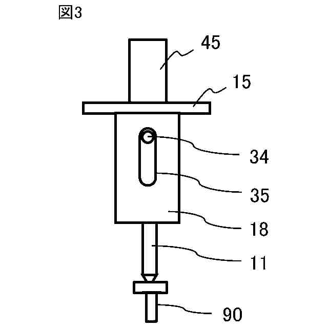
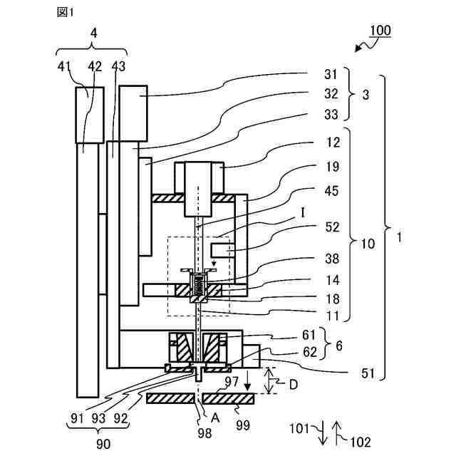
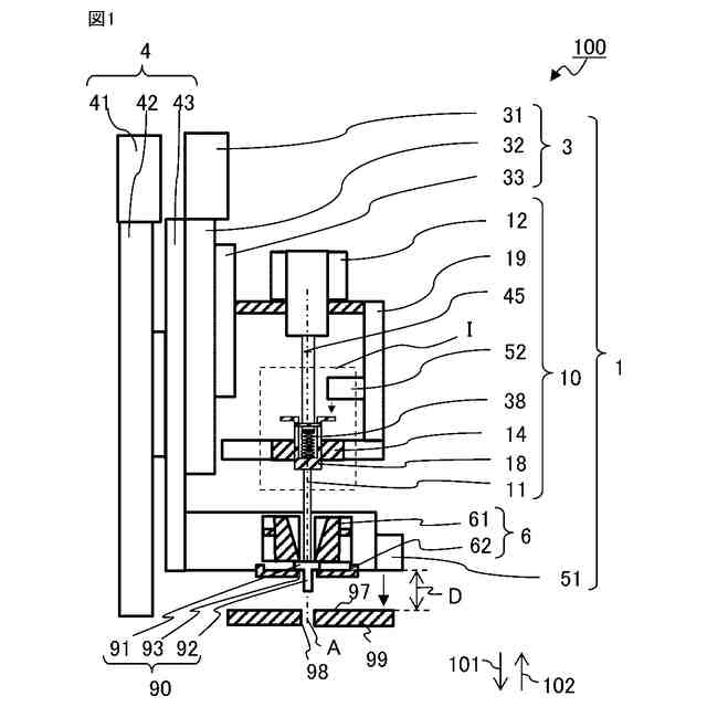
図1から図4を用いて、実施の形態1に係るねじ締め装置100の構成について説明する。図1は、実施の形態1に係るねじ締め装置の要部の構成を示す断面図である。図2は、図1の領域Iを示す拡大断面図であり、図3は、図1の領域Iを示す拡大側面図である。なお、図1において示される断面は、回転軸Aを含む断面である。図4は、ねじ締め装置100の構成を概略的に示すブロック図である。
【0010】
図1に示すように、ねじ締め装置100は、ねじ締めユニット1と、ユニット位置変位部4とを主に有している。ねじ締めユニット1は、ねじ90を回転させつつ、ねじ90を移動させる。ユニット位置変位部4は、ねじ締めユニット1を移動させる。ねじ締め装置100は、ねじ90を被締結物99に締結する。被締結物99の主面97において、雌ねじ98が設けられている。ねじ90は、頭部91と、雄ねじ部92とを有している。雄ねじ部92は、頭部91に連なっている。頭部91は、座面93を構成している。座面93は、主面97に接触する面である。
(【0011】以降は省略されています)
この特許をJ-PlatPat(特許庁公式サイト)で参照する
関連特許
個人
フライス盤
3か月前
日東精工株式会社
ねじ締め機
2か月前
日東精工株式会社
ねじ締め機
3か月前
日東精工株式会社
ねじ締め機
3か月前
日東精工株式会社
ねじ締め装置
2か月前
キヤノン電子株式会社
加工装置
1か月前
日東精工株式会社
ねじ締め装置
5か月前
株式会社ダイヘン
溶接電源装置
4か月前
ダイニチ工業株式会社
配膳治具
1か月前
株式会社ダイヘン
溶接電源装置
4か月前
株式会社ダイヘン
溶接電源装置
4か月前
株式会社FUJI
工作機械
5か月前
株式会社FUJI
工作機械
2か月前
個人
切削油供給装置
3か月前
株式会社FUJI
工作機械
5か月前
日東精工株式会社
ねじ整列トレー
27日前
株式会社FUJI
工作機械
2か月前
個人
型枠製造装置のフレーム
2か月前
中国電力株式会社
養生シート
1か月前
睦月電機株式会社
金属表面処理方法
1か月前
キヤノン電子株式会社
加工システム
3か月前
株式会社アンド
半田付け方法
3か月前
株式会社富田製作所
支持構造
1か月前
株式会社向洋技研
スタッドの製造方法
1か月前
大見工業株式会社
ドリル
4か月前
株式会社ツガミ
工作機械
3か月前
株式会社ダイヘン
溶接装置
13日前
株式会社ダイヘン
溶接装置
5か月前
株式会社ダイヘン
溶接装置
5か月前
トヨタ自動車株式会社
溶接マスク
5か月前
ビアメカニクス株式会社
レーザ加工装置
2か月前
有限会社 ナプラ
ソルダペースト
5か月前
株式会社不二越
ブローチ盤
3か月前
有限会社TNE
電気抵抗溶接方法
1か月前
ビアメカニクス株式会社
レーザ加工装置
2か月前
住友重機械工業株式会社
加工装置
5か月前
続きを見る
他の特許を見る