TOP
|
特許
|
意匠
|
商標
特許ウォッチ
Twitter
他の特許を見る
10個以上の画像は省略されています。
公開番号
2025163880
公報種別
公開特許公報(A)
公開日
2025-10-30
出願番号
2024067480
出願日
2024-04-18
発明の名称
点検管理装置
出願人
三菱電機株式会社
代理人
個人
,
個人
主分類
G06Q
50/08 20120101AFI20251023BHJP(計算;計数)
要約
【課題】本開示は、複数の施設の情報の関連づけを手動で行う必要なく、劣化状況が似通った複数の施設の点検データを閲覧し比較することが可能な点検管理装置の提供を目的とする。
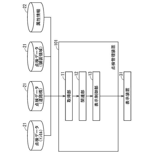
【解決手段】点検管理装置101は、複数の施設の各施設について、点検結果を表す点検データと、劣化状況に影響する属性を表す属性情報とを取得する取得部11と、属性情報に基づき複数の施設の点検データを関連付ける関連部12と、互いに関連付けられた複数の施設の点検データを同時に表示装置に表示させる表示制御部13と、を備える。
【選択図】図1
特許請求の範囲
【請求項1】
複数の施設の各施設について、点検結果を表す点検データと、劣化状況に影響する施設の属性を表す属性情報とを取得する取得部と、
前記属性情報に基づき前記複数の施設の前記点検データを関連付ける関連部と、
互いに関連付けられた前記複数の施設の前記点検データを同時に表示装置に表示させる表示制御部と、を備える、
点検管理装置。
続きを表示(約 1,400 文字)
【請求項2】
前記表示制御部は、前記複数の施設のうちユーザに指定された施設である指定施設の前記点検データと、前記指定施設に関連付けられた施設である関連施設の前記点検データとを同時に表示装置に表示させる、
請求項1に記載の点検管理装置。
【請求項3】
前記複数の施設は、道路上の施設であって、
前記属性情報は、施設の種類を表す種類情報とを含み、
前記関連部は、前記種類情報に基づき前記複数の施設から前記種類が同一である施設群である同一施設群を抽出し、前記同一施設群の前記点検データを関連付ける、
請求項2に記載の点検管理装置。
【請求項4】
前記属性情報は、前記各施設の位置を表す位置情報を含み、
前記関連部は、前記同一施設群の前記位置情報に基づき、前記同一施設群の前記点検データを前記同一施設群の道路上の前後関係に応じて関連付ける、
請求項3に記載の点検管理装置。
【請求項5】
前記属性情報は、前記各施設が設けられた道路の上りまたは下りの方向を表す方向情報を含み、
前記関連部は、前記方向情報に基づき同一の前記方向の道路上に設けられた施設群から前記同一施設群を抽出する、
請求項3に記載の点検管理装置。
【請求項6】
前記属性情報は、施設が設けられた道路の路線番号を表す路線情報を含み、
前記関連部は、前記路線情報に基づき同一の前記路線番号の道路上に設けられた施設群から前記同一施設群を抽出する、
請求項3に記載の点検管理装置。
【請求項7】
前記複数の施設は、河川上の施設であって、
前記属性情報は、前記各施設の前記河川上の位置を表す位置情報を含み、
前記関連部は、前記位置情報に基づき、前記複数の施設の点検データを前記河川上の前後関係に応じて関連付ける、
請求項1に記載の点検管理装置。
【請求項8】
前記属性情報は、前記各施設の設置環境を表す環境情報、前記各施設の用途を表す用途情報、前記各施設の工法を表す工法情報、前記各施設の内装種類を表す内装情報、および前記各施設の排水種別を表す排水情報の少なくともいずれかを含み、
前記関連部は、前記同一施設群の前記環境情報、前記用途情報、前記工法情報、前記内装情報および前記排水情報の少なくともいずれかに基づき、前記同一施設群の前記点検データを関連付ける、
請求項3に記載の点検管理装置。
【請求項9】
前記属性情報は、前記各施設の位置を表す位置情報を含み、
前記関連部は、前記種類情報に基づき前記複数の施設から前記種類が異なる施設群である他種施設群を抽出し、前記他種施設群の前記位置情報に基づき前記他種施設群の前記点検データを関連付ける、
請求項1に記載の点検管理装置。
【請求項10】
前記属性情報は、前記各施設が設けられた道路の上りまたは下りの方向を表す方向情報を含み、
前記関連部は、前記方向情報に基づき同一の前記方向の道路上に設けられた施設群から前記他種施設群を抽出する、
請求項9に記載の点検管理装置。
(【請求項11】以降は省略されています)
発明の詳細な説明
【技術分野】
【0001】
本開示は、施設の点検情報を管理する技術に関する。
続きを表示(約 1,100 文字)
【背景技術】
【0002】
省力化および効率化を図るため、施設の点検作業を支援する情報処理システムが求められている。そのような情報処理システムの例として、施設の劣化状況を監視して監視データを収集し、監視データに基づいて画面上に施設の劣化状況を可視化するシステムが考えられる。
【先行技術文献】
【特許文献】
【0003】
特開2013-254345号公報
【発明の概要】
【発明が解決しようとする課題】
【0004】
上記のようなシステムにおいて、ユーザは自身で劣化状況を確認したい施設を指定し、システムに表示させる必要がある。
【0005】
ところで、施設の劣化は、その施設の地理的条件など種々の条件によって影響を受ける。そのため、種々の条件が類似する施設同士で劣化状況は似通うことが想定される。従って、ユーザにとっては、劣化状況が似通う複数の施設のデータを閲覧することが、両者を比較しながら施設の点検計画を作成する上で望ましい。
【0006】
特許文献1には、設備の属性情報である設備台帳と設備の関連設備を予め定義した関連設備情報とを記憶するデータベースと、このデータベースを管理するデータベース管理手段に、設備の設備台帳およびこの設備の関連設備情報を要求し、データベース管理手段から取得した設備台帳および関連設備情報を表示する設備台帳表示手段とを備える設備管理システムが開示されている。
【0007】
しかし、特許文献1には、関連設備情報を自動的に抽出する方法について言及されていない。関連設備情報を人力で定義するのは困難であるという問題があった。
【0008】
本開示は、上記の問題点を解決するためになされたものであり、複数の施設の情報の関連づけを手動で行う必要なく、劣化状況が似通った複数の施設の点検データを閲覧し比較することが可能な点検管理装置の提供を目的とする。
【課題を解決するための手段】
【0009】
本開示の点検管理装置は、複数の施設の各施設について、点検結果を表す点検データと、劣化状況に影響する施設の属性を表す属性情報とを取得する取得部と、属性情報に基づき複数の施設の点検データを関連付ける関連部と、互いに関連付けられた複数の施設の点検データを同時に表示装置に表示させる表示制御部と、を備える。
【発明の効果】
【0010】
本開示の点検管理装置によれば、複数の施設の情報の関連づけを手動で行う必要なく、劣化状況が似通った複数の施設の点検データを閲覧し比較することが可能となる。
【図面の簡単な説明】
(【0011】以降は省略されています)
この特許をJ-PlatPat(特許庁公式サイト)で参照する
関連特許
三菱電機株式会社
増幅器
1か月前
三菱電機株式会社
冷蔵庫
7日前
三菱電機株式会社
扇風機
28日前
三菱電機株式会社
冷蔵庫
1か月前
三菱電機株式会社
照明装置
21日前
三菱電機株式会社
電気機器
7日前
三菱電機株式会社
照明器具
1日前
三菱電機株式会社
半導体装置
7日前
三菱電機株式会社
加熱調理器
15日前
三菱電機株式会社
空気調和機
1か月前
三菱電機株式会社
半導体装置
29日前
三菱電機株式会社
保護リレー
29日前
三菱電機株式会社
回路遮断器
15日前
三菱電機株式会社
ねじ締め装置
1か月前
三菱電機株式会社
貯湯式給湯機
21日前
三菱電機株式会社
光源デバイス
21日前
三菱電機株式会社
空調システム
1か月前
三菱電機株式会社
調理システム
1か月前
三菱電機株式会社
制御システム
21日前
三菱電機株式会社
貯湯式給湯機
1か月前
三菱電機株式会社
空調システム
23日前
三菱電機株式会社
点検管理装置
28日前
三菱電機株式会社
炊飯システム
1か月前
三菱電機株式会社
貯湯式給湯機
1か月前
三菱電機株式会社
空気清浄装置
15日前
三菱電機株式会社
電磁波発生装置
7日前
三菱電機株式会社
移動体監視装置
20日前
三菱電機株式会社
樹脂成形用金型
1か月前
三菱電機株式会社
空気調和システム
21日前
三菱電機株式会社
運転支援システム
28日前
三菱電機株式会社
加熱調理システム
20日前
三菱電機株式会社
回転電機ユニット
20日前
三菱電機株式会社
ヒートポンプ装置
1か月前
三菱電機株式会社
回転電機ユニット
20日前
三菱電機株式会社
道路情報補正装置
1か月前
三菱電機株式会社
直流配電システム
1日前
続きを見る
他の特許を見る