TOP
|
特許
|
意匠
|
商標
特許ウォッチ
Twitter
他の特許を見る
10個以上の画像は省略されています。
公開番号
2025159518
公報種別
公開特許公報(A)
公開日
2025-10-21
出願番号
2024062142
出願日
2024-04-08
発明の名称
ヒートポンプ装置
出願人
三菱電機株式会社
代理人
弁理士法人高田・高橋国際特許事務所
主分類
F25B
1/00 20060101AFI20251014BHJP(冷凍または冷却;加熱と冷凍との組み合わせシステム;ヒートポンプシステム;氷の製造または貯蔵;気体の液化または固体化)
要約
【課題】冷媒配管の継手部の設置箇所について一定の自由度を確保しつつ、継手部からの漏洩冷媒を中継機筐体内に貯留可能であるヒートポンプ装置を提供する。
【解決手段】ヒートポンプ装置は、冷媒と空気との間で熱を交換する第1熱交換器と、冷媒と水との間で熱を交換する第2熱交換器と、第1熱交換器と第2熱交換器を接続し、冷媒が封入された冷媒配管と、第2熱交換器に接続され、水が封入された水配管と、第2熱交換器を内部に収容する中継機筐体とを備える。冷媒配管の中途部分には、配管同士を接続する継手部が設けられる。継手部を内部に収容し、下面に開口が形成された容器をさらに備える。容器の開口は、中継機筐体の上面よりも鉛直方向の上側で、かつ、水平な投影面において、中継機筐体の上面の内側に配置される。中継機筐体の上面には、中継機筐体の内部と外部とを連通する貫通孔が形成される。
【選択図】図2
特許請求の範囲
【請求項1】
冷媒と空気との間で熱を交換する第1熱交換器と、
前記冷媒と水との間で熱を交換する第2熱交換器と、
前記第1熱交換器と前記第2熱交換器を接続し、前記冷媒が封入された冷媒配管と、
前記第2熱交換器に接続され、水が封入された水配管と、
前記第2熱交換器を内部に収容する中継機筐体と、を備え、
前記冷媒配管の中途部分には、配管同士を接続する継手部が設けられ、
前記継手部を内部に収容し、下面に開口が形成された容器をさらに備え、
前記容器の前記開口は、前記中継機筐体の上面よりも鉛直方向の上側で、かつ、水平な投影面において、前記中継機筐体の前記上面の内側に配置され、
前記中継機筐体の前記上面には、前記中継機筐体の内部と外部とを連通する貫通孔が形成されたヒートポンプ装置。
続きを表示(約 980 文字)
【請求項2】
前記中継機筐体内に設けられたファンと、
前記中継機筐体内に設けられ、前記冷媒を検知可能なセンサと、をさらに備え、
前記ファンは、前記センサによる前記冷媒に応じて動作する請求項1に記載のヒートポンプ装置。
【請求項3】
前記ファンは、前記貫通孔において前記中継機筐体の外部から内部に向かう吸引風を生成する請求項2に記載のヒートポンプ装置。
【請求項4】
第1センサとしての前記センサと、
前記容器内に設けられ、前記冷媒を検知可能な第2センサと、
前記第1センサの検知結果及び前記第2センサの検知結果に基づいて、前記中継機筐体内での冷媒漏洩の発生、及び、前記容器内での冷媒漏洩の発生を区別して検知する漏洩検知部と、を備えた請求項2又は請求項3に記載のヒートポンプ装置。
【請求項5】
前記漏洩検知部は、前記第2センサが冷媒を検知してから予め設定された基準時間が経過した以降に、前記第1センサが冷媒を検知した場合に、前記容器内での冷媒漏洩の発生を検知する請求項4に記載のヒートポンプ装置。
【請求項6】
前記容器の前記開口に接続され、前記容器内の前記冷媒を前記センサまで誘導する誘導部をさらに備えた請求項2又は請求項3に記載のヒートポンプ装置。
【請求項7】
冷媒と空気との間で熱を交換する第1熱交換器と、
前記冷媒と水との間で熱を交換する第2熱交換器と、
前記第1熱交換器と前記第2熱交換器を接続し、前記冷媒が封入された冷媒配管と、
前記第2熱交換器に接続され、水が封入された水配管と、
前記第2熱交換器を内部に収容する中継機筐体と、を備え、
前記冷媒配管の中途部分には、配管同士を接続する継手部が設けられ、
前記中継機筐体は、
上面が開放された本体部と、
下面が開放され、前記本体部の前記上面側を覆い、前記本体部に対して上下にスライドして移動可能なスライド部と、を備え、
前記スライド部は、
前記継手部が前記中継機筐体の外部に露出する第1位置と、
前記継手部を前記中継機筐体の内部に収容する第2位置との間で移動可能であるヒートポンプ装置。
発明の詳細な説明
【技術分野】
【0001】
本開示は、ヒートポンプ装置に関するものである。
続きを表示(約 2,300 文字)
【背景技術】
【0002】
圧縮機、負荷側熱交換器、減圧装置及び熱源側熱交換器が冷媒配管を介して接続され、冷媒を循環させる冷媒回路と、少なくとも負荷側熱交換器を収容する負荷ユニットと、を有するヒートポンプ装置において、負荷側熱交換器は、冷媒と熱媒体との熱交換を行うものであり、負荷ユニットは、熱媒体を流通させる熱媒体回路の少なくとも一部を収容する熱媒体回路室と、送風機と、室内の空気を吸い込む吸込口と、吸込口から吸い込まれた空気を室内に吹き出す吹出口と、吸込口と吹出口との間に形成され、熱媒体回路室から隔離された風路とを備え、負荷側熱交換器及び負荷側熱交換器と冷媒配管との間を接続する継手部が、負荷ユニットの風路に設けられているものが知られている(例えば、特許文献1参照)。
【先行技術文献】
【特許文献】
【0003】
特開2016-065674号公報
【発明の概要】
【発明が解決しようとする課題】
【0004】
しかしながら、特許文献1に示されるようなヒートポンプ装置においては、冷媒配管の継手部が、負荷ユニットの筐体内の風路に配置されている。このように、冷媒配管の継手部を負荷ユニットの筐体内に収容するため、冷媒配管の継手部の設置箇所が制限されてしまい、冷媒配管の継手部に関して、設置時の作業性、メンテナンス性等の低下を招くおそれがある。
【0005】
本開示は、このような課題を解決するためになされたものである。その目的は、冷媒配管の継手部の設置箇所について一定の自由度を確保しつつ、継手部からの冷媒漏洩の発生時に、漏洩冷媒を中継機筐体内に貯留して漏洩冷媒の流出を抑制可能であるヒートポンプ装置を提供することにある。
【課題を解決するための手段】
【0006】
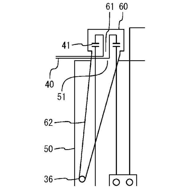
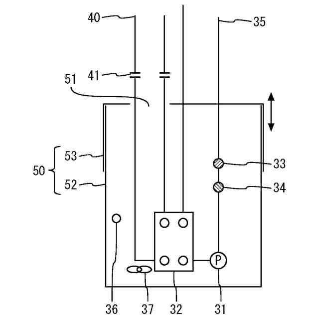
本開示に係るヒートポンプ装置は、冷媒と空気との間で熱を交換する第1熱交換器と、前記冷媒と水との間で熱を交換する第2熱交換器と、前記第1熱交換器と前記第2熱交換器を接続し、前記冷媒が封入された冷媒配管と、前記第2熱交換器に接続され、水が封入された水配管と、前記第2熱交換器を内部に収容する中継機筐体と、を備え、前記冷媒配管の中途部分には、配管同士を接続する継手部が設けられ、前記継手部を内部に収容し、下面に開口が形成された容器をさらに備え、前記容器の前記開口は、前記中継機筐体の上面よりも鉛直方向の上側で、かつ、水平な投影面において、前記中継機筐体の前記上面の内側に配置され、前記中継機筐体の前記上面には、前記中継機筐体の内部と外部とを連通する貫通孔が形成される。
【0007】
あるいは、本開示に係るヒートポンプ装置は、冷媒と空気との間で熱を交換する第1熱交換器と、前記冷媒と水との間で熱を交換する第2熱交換器と、前記第1熱交換器と前記第2熱交換器を接続し、前記冷媒が封入された冷媒配管と、前記第2熱交換器に接続され、水が封入された水配管と、前記第2熱交換器を内部に収容する中継機筐体と、を備え、前記冷媒配管の中途部分には、配管同士を接続する継手部が設けられ、前記中継機筐体は、上面が開放された本体部と、下面が開放され、前記本体部の前記上面側を覆い、前記本体部に対して上下にスライドして移動可能なスライド部と、を備え、前記スライド部は、前記継手部が前記中継機筐体の外部に露出する第1位置と、前記継手部を前記中継機筐体の内部に収容する第2位置との間で移動可能である。
【発明の効果】
【0008】
本開示に係るヒートポンプ装置によれば、冷媒配管の継手部の設置箇所について一定の自由度を確保しつつ、継手部からの冷媒漏洩の発生時に、漏洩冷媒を中継機筐体内に貯留して漏洩冷媒の流出を抑制可能であるという効果を奏する。
【図面の簡単な説明】
【0009】
実施の形態1に係るヒートポンプ装置の全体構成を示す図である。
実施の形態1に係るヒートポンプ装置の要部の構成を模式的に示す図である。
実施の形態1に係るヒートポンプ装置の要部の、水平な投影面への投影図である。
実施の形態1に係るヒートポンプ装置の制御系統の構成を示すブロック図である。
実施の形態1に係るヒートポンプ装置の要部の別例の構成を模式的に示す図である。
実施の形態1に係るヒートポンプ装置の変形例の構成を模式的に示す図である。
実施の形態1に係るヒートポンプ装置の変形例の構成を模式的に示す図である。
実施の形態1に係るヒートポンプ装置の制御装置の機能を実現する構成の一例を示す図である。
実施の形態2に係るヒートポンプ装置が備える中継機の構成を模式的に示す図である。
実施の形態2に係るヒートポンプ装置が備える中継機の構成を模式的に示す図である。
【発明を実施するための形態】
【0010】
本開示に係るヒートポンプ装置を実施するための形態について添付の図面を参照しながら説明する。各図において、同一又は相当する部分には同一の符号を付して、重複する説明は適宜に簡略化又は省略する。以下の説明においては便宜上、図示の状態を基準に各構造の位置関係を表現することがある。なお、本開示は以下の実施の形態に限定されることなく、本開示の趣旨を逸脱しない範囲において、各実施の形態の自由な組み合わせ、各実施の形態の任意の構成要素の変形、又は各実施の形態の任意の構成要素の省略が可能である。
(【0011】以降は省略されています)
この特許をJ-PlatPat(特許庁公式サイト)で参照する
関連特許
三菱電機株式会社
換気扇
9日前
三菱電機株式会社
増幅器
今日
三菱電機株式会社
換気扇
9日前
三菱電機株式会社
換気扇
9日前
三菱電機株式会社
電子機器
10日前
三菱電機株式会社
収集装置
7日前
三菱電機株式会社
空気調和機
2日前
三菱電機株式会社
半導体装置
15日前
三菱電機株式会社
貯湯式給湯機
25日前
三菱電機株式会社
空調システム
今日
三菱電機株式会社
照明システム
15日前
三菱電機株式会社
ねじ締め装置
今日
三菱電機株式会社
誘導加熱調理器
9日前
三菱電機株式会社
樹脂成形用金型
今日
三菱電機株式会社
電動機制御装置
21日前
三菱電機株式会社
レンズモジュール
7日前
三菱電機株式会社
電流切替型DAC
15日前
三菱電機株式会社
換気空調システム
25日前
三菱電機株式会社
風力発電システム
25日前
三菱電機株式会社
全館空調システム
7日前
三菱電機株式会社
照明制御システム
22日前
三菱電機株式会社
道路情報補正装置
2日前
三菱電機株式会社
ヒートポンプ装置
3日前
三菱電機株式会社
電池パック及び電池
2日前
三菱電機株式会社
保護継電器及び配電盤
9日前
三菱電機株式会社
点灯装置および照明器具
7日前
三菱電機株式会社
車両空調機用診断システム
10日前
三菱電機株式会社
測位システムおよび固定局
8日前
三菱電機株式会社
配光制御レンズ及び照明装置
今日
三菱電機株式会社
半導体ウェハの外観検査装置
8日前
三菱電機株式会社
監視装置、および監視システム
16日前
三菱電機株式会社
半導体装置および電力変換装置
3日前
三菱電機株式会社
制御システム、及び、表示方法
今日
三菱電機株式会社
冷凍サイクル装置及び制御装置
今日
三菱電機株式会社
加熱調理器及び加熱調理システム
16日前
三菱電機株式会社
照明器具および照明器具の製造方法
17日前
続きを見る
他の特許を見る