TOP
|
特許
|
意匠
|
商標
特許ウォッチ
Twitter
他の特許を見る
10個以上の画像は省略されています。
公開番号
2025156783
公報種別
公開特許公報(A)
公開日
2025-10-15
出願番号
2024059445
出願日
2024-04-02
発明の名称
誘導加熱調理器
出願人
三菱電機株式会社
,
三菱電機ホーム機器株式会社
代理人
弁理士法人きさ特許商標事務所
主分類
H05B
6/12 20060101AFI20251007BHJP(他に分類されない電気技術)
要約
【課題】加熱部の温度の上昇を抑制することができる誘導加熱調理器を提供する。
【解決手段】誘導加熱調理器は、筐体と、筐体の上部に設けられ、被加熱物が載置される天板と、筐体の内部に格納されたコイル基板と、コイル基板上に金属のパターンとして形成され、被加熱物を加熱するコイル部と、を有する加熱部と、加熱部に空気を送る送風機と、を備え、コイル基板のコイル部が形成された領域を除いた領域には、送風機から送られた空気を通過させるための貫通孔が形成されている。
【選択図】図3
特許請求の範囲
【請求項1】
筐体と、
前記筐体の上部に設けられ、被加熱物が載置される天板と、
前記筐体の内部に格納されたコイル基板と、前記コイル基板上に金属のパターンとして形成され、前記被加熱物を加熱するコイル部と、を有する加熱部と、
前記加熱部に空気を送る送風機と、を備え、
前記コイル基板の前記コイル部が形成された領域を除いた領域には、前記送風機から送られた空気を通過させるための貫通孔が形成されている
誘導加熱調理器。
続きを表示(約 1,100 文字)
【請求項2】
前記コイル部は、複数の巻回部からなり、
前記巻回部は、前記パターンが始端と終端とが径方向にずれるようにして1周巻かれたものであって、
前記コイル基板には、前記貫通孔として、2つの前記巻回部の間に位置する第1貫通孔が形成されている
請求項1に記載の誘導加熱調理器。
【請求項3】
前記コイル基板には、前記貫通孔として、前記コイル部の内側に位置する第2貫通孔が形成されている
請求項2に記載の誘導加熱調理器。
【請求項4】
前記コイル部の内周側の領域に形成された前記第1貫通孔の数は、前記コイル部の外周側の領域に形成された前記第1貫通孔の数より多い
請求項2又は3に記載の誘導加熱調理器。
【請求項5】
前記コイル部を、
内周部と、
前記内周部よりも外周側に位置し、複数の前記巻回部のうち、中央に位置する前記巻回部を含む中間部と、
前記中間部よりも外周側に位置する外周部と、に分割した場合、
前記内周部に対応する領域に形成された前記第1貫通孔の数は、前記中間部に対応する領域に形成された前記第1貫通孔の数よりも多く、
前記外周側に対応する領域に形成された前記第1貫通孔の数は、前記中間部に対応する領域に形成された前記第1貫通孔の数よりも多い
請求項2又は3に記載の誘導加熱調理器。
【請求項6】
前記送風機から送られる空気の風上側に形成された前記第1貫通孔の数は、前記送風機から送られる空気の風下側に形成された前記第1貫通孔の数よりも多い
請求項2又は3に記載の誘導加熱調理器。
【請求項7】
前記加熱部は、径方向に延びる磁性体を有し、
前記第1貫通孔は、前記磁性体に沿って形成されている
請求項2又は3に記載の誘導加熱調理器。
【請求項8】
前記被加熱物の温度を検出する被加熱物温度センサを備え、
前記コイル基板には、前記貫通孔として、前記被加熱物温度センサと前記コイル部との間に位置する第3貫通孔が形成されている
請求項1~3の何れか1項に記載の誘導加熱調理器。
【請求項9】
前記送風機は、前記コイル基板に設けられた基板送風機である
請求項1~3の何れか1項に記載の誘導加熱調理器。
【請求項10】
前記コイル基板には、前記貫通孔として、前記コイル部の外側に位置し、長辺が前記送風機の送風方向に沿った矩形形状の第4貫通孔が形成されている
請求項1~3の何れか1項に記載の誘導加熱調理器。
(【請求項11】以降は省略されています)
発明の詳細な説明
【技術分野】
【0001】
本開示は、被加熱物の誘導加熱調理を行う誘導加熱調理器に関する。
続きを表示(約 1,900 文字)
【背景技術】
【0002】
従来、誘導加熱調理器では、誘導加熱を行うための磁束を発生させるために、導線を巻回したコイルを有する加熱部を用いている。特許文献1には、細線を撚り合わせたリッツ線を導線として用いたコイルと異なり、基板上に形成したパターンを導線として用いたコイルが開示されている。
【先行技術文献】
【特許文献】
【0003】
特開2023-109314号公報
【発明の概要】
【発明が解決しようとする課題】
【0004】
しかしながら、特許文献1で示したコイルのように、基板上にパターンを形成した場合、リッツ線を導線としたコイルと比較して、導体面積を確保することが難しい。このため、コイルの導線の抵抗値が大きくなり、損失が増加するため、加熱部の温度が過剰に上昇してしまうことがあった。
【0005】
本開示は、上述の問題を解決するためになされたもので、加熱部の温度の過剰な上昇を抑制することができる誘導加熱調理器を提供することを目的とする。
【課題を解決するための手段】
【0006】
本開示に係る誘導加熱調理器は、筐体と、筐体の上部に設けられ、被加熱物が載置される天板と、筐体の内部に格納されたコイル基板と、コイル基板上に金属のパターンとして形成され、被加熱物を加熱するコイル部と、を有する加熱部と、加熱部に空気を送る送風機と、を備え、コイル基板のコイル部が形成された領域を除いた領域には、送風機から送られた空気を通過させるための貫通孔が形成されている。
【発明の効果】
【0007】
本開示の誘導加熱調理器によれば、コイル基板に貫通孔を形成している。これにより、コイル基板の表面と天板との間の空間と、コイル基板の裏面側の空間とが、貫通孔を介して連通するため、コイル基板の表面と天板との間の空間への送風経路の面積が増加し、冷却風の圧力損失が低減される。よって、コイル基板の表面と天板との間の空間を流れる空気の量が増加するため、加熱部の温度の過剰な上昇を抑制することができる。
【図面の簡単な説明】
【0008】
実施の形態1に係る誘導加熱調理器を示す分解斜視図である。
実施の形態1に係る誘導加熱回路部及び制御回路部を示す回路図である。
実施の形態1に係る加熱部を上方から見たときの斜視図である。
実施の形態2に係る加熱部を上方から見たときの斜視図である。
実施の形態3に係る加熱部を上方から見たときの斜視図である。
実施の形態4に係る加熱部の上視図である。
実施の形態5に係る加熱部を上方から見たときの斜視図である。
実施の形態6に係る加熱部を上方から見たときの斜視図である。
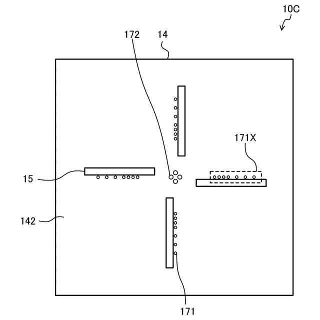
実施の形態6に係る基板送風機及びコイル基板を示す上視図である。
実施の形態6に係る基板送風機及びコイル基板を示す側視図である。
実施の形態7に係る加熱部を上方から見たときの斜視図である。
実施の形態7の変形例に係る加熱部を上方から見たときの斜視図である。
実施の形態8に係る加熱部を上方から見たときの斜視図である。
実施の形態8に係る加熱部の側視図である。
実施の形態8の変形例に係る加熱部を上方から見たときの斜視図である。
実施の形態9に係る加熱部を上方から見たときの斜視図である。
実施の形態9に係る加熱部の要部を示す拡大図である。
【発明を実施するための形態】
【0009】
実施の形態1.
図1は、実施の形態1に係る誘導加熱調理器100を示す分解斜視図である。実施の形態1における誘導加熱調理器100は、電磁誘導を利用して、被加熱物である調理容器及び調理物を加熱する加熱調理器である。なお、以下の説明において、誘導加熱調理器100において、被加熱物が載置される面から底面に向かう方向、又は底面から被加熱物が載置される面に向かう方向を上下方向という。
【0010】
図1に示すように、誘導加熱調理器100は、筐体1、天板2、送風機3、第1の加熱部10a、第2の加熱部10b、第3の加熱部10c、及びグリル庫20を備える。筐体1は、第1の加熱部10a、第2の加熱部10b、第3の加熱部10c、及びグリル庫20を収納するケースである。筐体1は、中空で上部が開口した形状をしている。
(【0011】以降は省略されています)
この特許をJ-PlatPat(特許庁公式サイト)で参照する
関連特許
三菱電機株式会社
換気扇
今日
三菱電機株式会社
換気扇
今日
三菱電機株式会社
換気扇
今日
三菱電機株式会社
照明装置
1か月前
三菱電機株式会社
回転電機
16日前
三菱電機株式会社
照明装置
26日前
三菱電機株式会社
換気装置
1か月前
三菱電機株式会社
電子機器
1日前
三菱電機株式会社
照明器具
1か月前
三菱電機株式会社
回転電機
26日前
三菱電機株式会社
回転電機
1か月前
三菱電機株式会社
半導体装置
6日前
三菱電機株式会社
半導体装置
1か月前
三菱電機株式会社
半導体装置
20日前
三菱電機株式会社
半導体装置
26日前
三菱電機株式会社
加熱調理器
19日前
三菱電機株式会社
半導体装置
1か月前
三菱電機株式会社
半導体装置
1か月前
三菱電機株式会社
電力変換装置
26日前
三菱電機株式会社
貯湯式給湯機
16日前
三菱電機株式会社
給湯システム
19日前
三菱電機株式会社
空気調和装置
27日前
三菱電機株式会社
照明システム
6日前
三菱電機株式会社
ネジ取出機構
27日前
三菱電機株式会社
回転電機装置
1か月前
三菱電機株式会社
電力変換装置
1か月前
三菱電機株式会社
車両制御装置
28日前
三菱電機株式会社
屋外設置用筐体
1か月前
三菱電機株式会社
送電線保護装置
26日前
三菱電機株式会社
給湯機システム
1か月前
三菱電機株式会社
非常用照明装置
19日前
三菱電機株式会社
電動機制御装置
12日前
三菱電機株式会社
はんだ処理装置
1か月前
三菱電機株式会社
誘導加熱調理器
今日
三菱電機株式会社
ウエハテスト装置
26日前
三菱電機株式会社
変圧器の診断方法
1か月前
続きを見る
他の特許を見る