TOP
|
特許
|
意匠
|
商標
特許ウォッチ
Twitter
他の特許を見る
10個以上の画像は省略されています。
公開番号
2025139141
公報種別
公開特許公報(A)
公開日
2025-09-26
出願番号
2024037921
出願日
2024-03-12
発明の名称
加熱調理器
出願人
三菱電機株式会社
,
三菱電機ホーム機器株式会社
代理人
弁理士法人きさ特許商標事務所
主分類
F24C
7/02 20060101AFI20250918BHJP(加熱;レンジ;換気)
要約
【課題】加熱室への被加熱物の出し入れのしやすさを維持しつつ、高周波の漏洩を抑制できる加熱調理器を得る。
【解決手段】加熱調理器は、開口を有する加熱室と、回転移動して開口を開閉する扉と、加熱室に電磁波を供給する高周波発生装置と、受皿を加熱室の内外に移動させる移動手段とを備え、移動手段は、加熱室の外側に配置されて前後に移動する一対のレールと、一対のレールの前部同士を接続し、扉が閉じられた状態において、扉と加熱室との間に位置する接続部とを有する。
【選択図】図3
特許請求の範囲
【請求項1】
開口を有する加熱室と、
回転移動して前記開口を開閉する扉と、
前記加熱室に電磁波を供給する高周波発生装置と、
受皿を前記加熱室の内外に移動させる移動手段とを備え、
前記移動手段は、
前記加熱室の外側に配置されて前後に移動する一対のレールと、
前記一対のレールの前部同士を接続し、前記扉が閉じられた状態において、前記扉と前記加熱室との間に位置する接続部とを有する
加熱調理器。
続きを表示(約 1,100 文字)
【請求項2】
前記移動手段は、
前記接続部に接続され、前記扉が閉じられている状態において、前記扉の外側に位置する把持部を備えた
請求項1記載の加熱調理器。
【請求項3】
前記移動手段は、
前記開口と対向する開口部を有する枠部材を備え、
前記枠部材の一辺が、前記接続部である
請求項1又は請求項2記載の加熱調理器。
【請求項4】
前記把持部は、
前記加熱室の壁を構成する材料よりも熱伝導率が低い材料で構成された断熱手段、
前記加熱室の壁を構成する材料よりも反射率が高い材料で構成された断熱手段、及び
電波を吸収する電波吸収手段、
のうちの一つ以上を備える
請求項2記載の加熱調理器。
【請求項5】
前記枠部材は、
前記加熱室の壁を構成する材料よりも熱伝導率が低い材料で構成された断熱手段、
前記加熱室の壁を構成する材料よりも反射率が高い材料で構成された断熱手段、及び
電波を吸収する電波吸収手段、
のうちの一つ以上を備える
請求項3記載の加熱調理器。
【請求項6】
前記移動手段は、
前記一対のレールを移動させる電動の駆動装置を備えた
請求項1又は請求項2記載の加熱調理器。
【請求項7】
前記扉の開閉状態を検知する扉開閉検知手段と、
前記扉開閉検知手段の検知結果に基づいて前記駆動装置を制御する制御手段とを備え、
前記扉が閉状態から開状態になったことが検知されると、前記制御手段は、前記移動手段の前端が前記開状態の前記扉の前端を超えない範囲で、前記一対のレールを後から前へ移動させるよう前記駆動装置を制御する
請求項6記載の加熱調理器。
【請求項8】
前記受皿の前記加熱室内への移動指示を受け付ける操作部を備え、
前記制御手段は、前記操作部が前記移動指示を受け付けると、前記一対のレールを前から後へ移動させる
請求項7記載の加熱調理器。
【請求項9】
前記移動手段は、前記一対のレールの間に配置された前記受皿が係合される受皿係合部を備え、
前記受皿の下面には、前記加熱室の底と接して前記受皿の移動を促進する移動促進手段を備える
請求項1又は請求項2記載の加熱調理器。
【請求項10】
前記移動促進手段は、車輪である
請求項9記載の加熱調理器。
(【請求項11】以降は省略されています)
発明の詳細な説明
【技術分野】
【0001】
本開示は、加熱室に収容された被加熱物を加熱する加熱調理器に関する。
続きを表示(約 2,700 文字)
【背景技術】
【0002】
加熱室にマイクロ波を供給する高周波発生装置を備えた加熱調理器が知られている。例えば特許文献1に記載の加熱調理器は、被加熱物を載置するための載置台と、載置台を保持して加熱室の内外へ載置台を移動させる引き出し体と、引き出し体に取り付けられて加熱室を開閉する開閉扉とを備えている。
【先行技術文献】
【特許文献】
【0003】
特開2005-201501号公報
【発明の概要】
【発明が解決しようとする課題】
【0004】
特許文献1に記載の加熱調理器の開閉扉は、引き出し体とともにスライド移動して加熱室を開閉する構造であり、被加熱物を加熱室に出し入れする際の作業性がよい。ところが、一般的に、開閉扉をスライド移動させるためのレール構造は、開閉扉にがたつきを生じさせやすい。また、ユーザーが開閉扉にぶつかったり不意に開閉扉に触ってしまったりすると、開ける意図がなくとも開閉扉がわずかに開くことがある。このように、スライド移動式の開閉扉はわずかに開き易い構造であるが、開閉扉と加熱室とのわずかな隙間は検知が難しい。そして、高周波を発生させる加熱調理器は、開閉扉が開かれているときには高周波の発生を停止させる必要があるが、開閉扉と加熱室との隙間の検知が難しいことから高周波発生装置を適切なタイミングで停止させることが困難であり、高周波の漏洩対策が望まれていた。
【0005】
本開示は、上記のような課題を背景としてなされたものであり、加熱室への被加熱物の出し入れのしやすさを維持しつつ、高周波の漏洩を抑制できる加熱調理器を提供するものである。
【課題を解決するための手段】
【0006】
本開示に係る加熱調理器は、開口を有する加熱室と、回転移動して前記開口を開閉する扉と、前記加熱室に電磁波を供給する高周波発生装置と、受皿を前記加熱室の内外に移動させる移動手段とを備え、前記移動手段は、前記加熱室の外側に配置されて前後に移動する一対のレールと、前記一対のレールの前部同士を接続し、前記扉が閉じられた状態において、前記扉と前記加熱室との間に位置する接続部とを有するものである。
【発明の効果】
【0007】
本開示によれば、受皿を移動させる移動手段によって加熱室への被加熱物の出し入れを容易にすることができ、また、回転移動する扉は加熱室との間に隙間を生じさせにくいため、高周波の漏洩を抑制できる。
【図面の簡単な説明】
【0008】
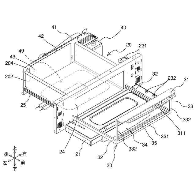
実施の形態1に係る加熱調理器100が設置された状態を示す図である。
実施の形態1に係る加熱調理器100の天板1が取り外された状態の斜視図である。
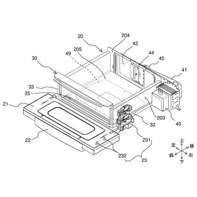
実施の形態1に係る加熱室20及びその周辺部材の前方からの斜視図である。
実施の形態1に係る加熱室20及びその周辺部材の後方からの斜視図である。
実施の形態1に係る加熱室20及びその周辺部材の左前方からの斜視図である。
実施の形態1に係る加熱室20及びその周辺部材の右前方からの斜視図である。
実施の形態1に係る受皿50の上からの斜視図である。
実施の形態1に係る受皿50の下からの斜視図である。
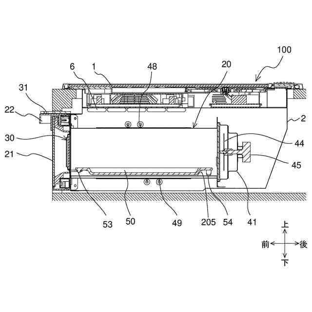
実施の形態1に係る加熱調理器100の、扉21が閉じられた状態の前後方向に沿った縦断面模式図である。
実施の形態1に係る加熱調理器100の、扉21が開かれた状態の前後方向に沿った縦断面模式図である。
実施の形態1に係る加熱調理器100の、移動手段30が最も前に引き出された状態の前後方向に沿った縦断面模式図である。
実施の形態2に係る加熱調理器100Aの斜視図である。
実施の形態2に係る加熱調理器100Aの天板1が取り外された状態の斜視図である。
実施の形態2に係る加熱室20及びその周辺部材の前方からの斜視図である。
実施の形態2に係る加熱室20及びその周辺部材の後方からの斜視図である。
実施の形態2に係る加熱室20及びその周辺部材の斜視図である。
実施の形態2に係る加熱室20及びその周辺部材の斜視図である。
実施の形態2に係る受皿50Aの上からの斜視図である。
実施の形態2に係る受皿50Aの下からの斜視図である。
実施の形態2に係る加熱調理器100の、扉21が閉じられた状態の前後方向に沿った縦断面模式図である。
実施の形態1に係る加熱調理器100の、扉21が開かれた状態の前後方向に沿った縦断面模式図である。
実施の形態2に係る加熱調理器100の、移動手段30Aが最大限移動した状態の前後方向に沿った縦断面模式図である。
【発明を実施するための形態】
【0009】
以下、本開示に係る加熱調理器を、組み込み式の誘導加熱調理器に適用した場合の実施の形態を、図面を参照して説明する。本開示は、以下の実施の形態に限定されるものではなく、本開示の主旨を逸脱しない範囲で種々に変形することが可能である。また、本開示は、以下の各実施の形態に示す構成のうち、組合せ可能な構成のあらゆる組合せを含むものである。また、図面に示す加熱調理器は、本開示の加熱調理器が適用される機器の一例を示すものであり、図面に示された加熱調理器によって本開示の適用機器が限定されるものではない。また、以下の説明において、理解を容易にするために方向を表す用語(例えば「上」、「下」、「右」、「左」、「前」、「後」など)を適宜用いるが、これらは説明のためのものであって、本開示を限定するものではない。また、各図において、同一の符号を付したものは、同一の又はこれに相当するものであり、これは明細書の全文において共通している。なお、各図面では、各構成部材の相対的な寸法関係又は形状等が実際のものとは異なる場合がある。
【0010】
実施の形態1.
図1は、実施の形態1に係る加熱調理器100が設置された状態を示す図である。図1は、キッチン台200に加熱調理器100が設置された状態を示している。加熱調理器100は、キッチン台200に設けられた据え付け穴に挿入されている。キッチン家具の寸法は、JIS A 0017にて規格化されており、一般に市販のキッチン家具は当該規格に準拠した寸法で構成される。当該規格に準拠したキッチン台200の上面は、80、85、90又は95cmに設定されている。
(【0011】以降は省略されています)
この特許をJ-PlatPat(特許庁公式サイト)で参照する
関連特許
三菱電機株式会社
換気扇
10日前
三菱電機株式会社
増幅器
1日前
三菱電機株式会社
換気扇
10日前
三菱電機株式会社
換気扇
10日前
三菱電機株式会社
電子機器
11日前
三菱電機株式会社
収集装置
8日前
三菱電機株式会社
半導体装置
16日前
三菱電機株式会社
空気調和機
3日前
三菱電機株式会社
照明システム
16日前
三菱電機株式会社
空調システム
1日前
三菱電機株式会社
ねじ締め装置
1日前
三菱電機株式会社
電動機制御装置
22日前
三菱電機株式会社
樹脂成形用金型
1日前
三菱電機株式会社
誘導加熱調理器
10日前
三菱電機株式会社
全館空調システム
8日前
三菱電機株式会社
レンズモジュール
8日前
三菱電機株式会社
照明制御システム
23日前
三菱電機株式会社
ヒートポンプ装置
4日前
三菱電機株式会社
道路情報補正装置
3日前
三菱電機株式会社
電流切替型DAC
16日前
三菱電機株式会社
電池パック及び電池
3日前
三菱電機株式会社
保護継電器及び配電盤
10日前
三菱電機株式会社
点灯装置および照明器具
8日前
三菱電機株式会社
車両空調機用診断システム
11日前
三菱電機株式会社
測位システムおよび固定局
9日前
三菱電機株式会社
配光制御レンズ及び照明装置
1日前
三菱電機株式会社
半導体ウェハの外観検査装置
9日前
三菱電機株式会社
制御システム、及び、表示方法
1日前
三菱電機株式会社
監視装置、および監視システム
17日前
三菱電機株式会社
冷凍サイクル装置及び制御装置
1日前
三菱電機株式会社
半導体装置および電力変換装置
4日前
三菱電機株式会社
加熱調理器及び加熱調理システム
17日前
三菱電機株式会社
換気装置、送風装置および制御装置
16日前
三菱電機株式会社
満空検知システム、および、判定機
4日前
三菱電機株式会社
照明器具および照明器具の製造方法
18日前
三菱電機株式会社
照明制御装置および照明制御システム
22日前
続きを見る
他の特許を見る