TOP
|
特許
|
意匠
|
商標
特許ウォッチ
Twitter
他の特許を見る
10個以上の画像は省略されています。
公開番号
2025165597
公報種別
公開特許公報(A)
公開日
2025-11-05
出願番号
2024069743
出願日
2024-04-23
発明の名称
食事支援システム及び炊飯器
出願人
三菱電機株式会社
,
三菱電機ホーム機器株式会社
代理人
弁理士法人きさ特許商標事務所
主分類
A47J
27/00 20060101AFI20251028BHJP(家具;家庭用品または家庭用設備;コーヒーひき;香辛料ひき;真空掃除機一般)
要約
【課題】ユーザによる複数の種類の米の混合比率の決定を支援することができる食事支援システム及び炊飯器を提供する。
【解決手段】食事支援システムは、ユーザの身体特性に関する情報であるユーザ情報、及びおかずに含まれる食材の摂食量を示すおかず情報を取得する取得部と、ユーザ情報及びおかず情報に基づいて、複数の種類の米の混合比率を求める演算部と、演算部が求めた混合比率を報知させる報知部と、を有する。
【選択図】図7
特許請求の範囲
【請求項1】
ユーザの身体特性に関する情報であるユーザ情報、及びおかずに含まれる食材の摂食量を示すおかず情報を取得する取得部と、
前記ユーザ情報及び前記おかず情報に基づいて、複数の種類の米の混合比率を求める演算部と、
前記演算部が求めた前記混合比率を報知する報知部と、を有する
食事支援システム。
続きを表示(約 1,000 文字)
【請求項2】
前記複数の種類の米の少なくとも何れか1種には、第1栄養成分が含まれ、
前記演算部は、前記ユーザが摂取する前記第1栄養成分の摂取量が、前記身体特性に対応して予め定められた摂取目標量を満たす前記混合比率を求める
請求項1に記載の食事支援システム。
【請求項3】
前記複数の種類の米の少なくとも何れか1種には、第1栄養成分及び前記第1栄養成分と異なる第2栄養成分が含まれ、
前記演算部は、前記ユーザが摂取する前記第1栄養成分及び前記第2栄養成分のうち、前記ユーザによって選択された栄養成分の摂取量が、前記身体特性に対応して予め定められた摂取目標量を満たす前記混合比率を求める
請求項1に記載の食事支援システム。
【請求項4】
前記第1栄養成分は、たんぱく質であって、
前記複数の種類の米のうちの1つは、たんぱく質を主成分とした人造米である
請求項2又は3に記載の食事支援システム。
【請求項5】
前記第1栄養成分は、食物繊維であって、
前記複数の種類の米のうちの1つは、玄米である
請求項2又は3に記載の食事支援システム。
【請求項6】
前記第1栄養成分は、炭水化物であって、
前記複数の種類の米のうちの1つは、白米である
請求項2又は3に記載の食事支援システム。
【請求項7】
前記取得部は、前記ユーザによる過去の食事の内容を示す情報である食事履歴情報を取得し、
前記演算部は、前記ユーザ情報、前記おかず情報及び前記食事履歴情報に基づいて、前記混合比率を求める
請求項1~3の何れか1項に記載の食事支援システム。
【請求項8】
前記ユーザ情報は、年齢、性別、体重及び身体活動レベルのうち、少なくとも1つ以上の情報を含む
請求項1~3の何れか1項に記載の食事支援システム。
【請求項9】
請求項1~3の何れか1項に記載の食事支援システムと、
米飯を加熱する加熱装置と、を備える炊飯器。
【請求項10】
前記ユーザからの操作を受け付ける操作装置を備え、
ネットワークを介して通信端末と接続され、
前記取得部は、前記通信端末又は前記操作装置から入力された前記おかずに含まれる食材の摂食量を取得する
請求項9に記載の炊飯器。
(【請求項11】以降は省略されています)
発明の詳細な説明
【技術分野】
【0001】
本開示は、米の混合比率を推奨する食事支援システム及び炊飯器に関する。
続きを表示(約 1,500 文字)
【背景技術】
【0002】
近年、健康意識の向上に伴い、食生活を改善したいと考える者が多くなっている。食生活を改善するため、米飯からの炭水化物の摂取量を減らす、あるいは特定の栄養成分の摂取量を増やすことを目的として、白米に代わり、玄米、発芽米又は人造米等が食されることがある。特許文献1には、白米に代替して食される人造米として、大豆を主原料としたものが開示されている。
【先行技術文献】
【特許文献】
【0003】
特開2008-212145号公報
【発明の概要】
【発明が解決しようとする課題】
【0004】
特許文献1では、人造米を、白米又は玄米などに混ぜて炊飯を行なう場合、人造米の配合割合としては、5~50重量%(乾燥重量あたり)、好ましくは10~40重量%(乾燥重量あたり)とするのが望ましい、とされている。しかしながら、消費者が実際に炊飯を行う際には、各種の米の混合比率を具体的に決める必要があるところ、消費者自らが自身に適した米の混合比率を決めることは容易ではない。
【0005】
本開示は、上記のような課題を解決するためになされたもので、ユーザによる複数の種類の米の混合比率の決定を支援することができる食事支援システム及び炊飯器を提供することを目的とする。
【課題を解決するための手段】
【0006】
本開示に係る食事支援システムは、ユーザの身体特性に関する情報であるユーザ情報、及びおかずに含まれる食材の摂食量を示すおかず情報を取得する取得部と、ユーザ情報及びおかず情報に基づいて、複数の種類の米の混合比率を求める演算部と、演算部が求めた混合比率を報知させる報知部と、を有する。
【0007】
本開示に係る炊飯器は、上記の食事支援システムと、米飯を加熱する加熱装置と、を備えるものである。
【発明の効果】
【0008】
本開示の食事支援システム及び炊飯器は、ユーザ情報とおかず情報とに基づいて、複数の種類の米の混合比率を求め、これをユーザに報知する。このため、食事支援システム及び炊飯器は、ユーザによる米の混合比率の決定を支援することができる。
【図面の簡単な説明】
【0009】
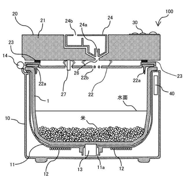
実施の形態1に係る炊飯器の構成例を示す断面模式図である。
実施の形態1に係る操作表示装置を示す模式図である。
実施の形態1に係る健康米種選択画面を示す模式図である。
実施の形態1に係るおかず入力画面を示す模式図である。
実施の形態1に係る制御装置の構成例を示すハードウェア構成図である。
実施の形態1に係る炊飯器の構成例を示す機能ブロック図である。
実施の形態1に係る炊飯器の動作を示すフローチャートである。
実施の形態1に係る目標量対応情報を示す図である。
実施の形態1に係る混合比率対応情報を示す図である。
実施の形態1の変形例2に係る炊飯器の構成例を示す機能ブロック図である。
実施の形態2に係る炊飯器の動作を示すフローチャートである。
【発明を実施するための形態】
【0010】
以下に、図面を参照して、実施の形態を説明する。各図における同一の符号は、同一の構成または同一に相当する構成を示す。また、本開示では、重複する説明については、適宜、簡略化または省略する。本開示は、その趣旨を逸脱しない範囲において、以下に説明する実施の形態によって開示される構成のあらゆる変形およびあらゆる組み合わせを含み得るものである。
(【0011】以降は省略されています)
この特許をJ-PlatPat(特許庁公式サイト)で参照する
関連特許
三菱電機株式会社
冷蔵庫
1か月前
三菱電機株式会社
冷蔵庫
18日前
三菱電機株式会社
換気扇
11日前
三菱電機株式会社
換気扇
1か月前
三菱電機株式会社
扇風機
1か月前
三菱電機株式会社
換気扇
1か月前
三菱電機株式会社
換気扇
1か月前
三菱電機株式会社
増幅器
1か月前
三菱電機株式会社
電子機器
1か月前
三菱電機株式会社
電気機器
18日前
三菱電機株式会社
収集装置
1か月前
三菱電機株式会社
換気装置
10日前
三菱電機株式会社
照明器具
12日前
三菱電機株式会社
照明装置
1か月前
三菱電機株式会社
保護リレー
1か月前
三菱電機株式会社
半導体装置
1か月前
三菱電機株式会社
空気調和機
1か月前
三菱電機株式会社
回路遮断器
26日前
三菱電機株式会社
半導体装置
5日前
三菱電機株式会社
冷凍冷蔵庫
3日前
三菱電機株式会社
半導体装置
5日前
三菱電機株式会社
電動送風機
10日前
三菱電機株式会社
半導体装置
3日前
三菱電機株式会社
半導体装置
18日前
三菱電機株式会社
加熱調理器
26日前
三菱電機株式会社
半導体装置
2か月前
三菱電機株式会社
空調システム
1か月前
三菱電機株式会社
位置算出装置
11日前
三菱電機株式会社
光源デバイス
1か月前
三菱電機株式会社
点検管理装置
1か月前
三菱電機株式会社
車両制御装置
10日前
三菱電機株式会社
貯湯式給湯機
1か月前
三菱電機株式会社
炊飯システム
1か月前
三菱電機株式会社
調理システム
1か月前
三菱電機株式会社
制御システム
1か月前
三菱電機株式会社
貯湯式給湯機
1か月前
続きを見る
他の特許を見る