TOP
|
特許
|
意匠
|
商標
特許ウォッチ
Twitter
他の特許を見る
10個以上の画像は省略されています。
公開番号
2025132615
公報種別
公開特許公報(A)
公開日
2025-09-10
出願番号
2024030293
出願日
2024-02-29
発明の名称
靴ベラ
出願人
個人
代理人
個人
主分類
A47G
25/82 20060101AFI20250903BHJP(家具;家庭用品または家庭用設備;コーヒーひき;香辛料ひき;真空掃除機一般)
要約
【課題】下肢が不自由な人に、容易に靴を履くことができる靴ベラを提供すること。
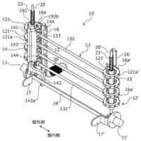
【解決手段】本発明に係る靴ベラは、前方に靴をはめ込み把持する靴はめ込み部を有する前方土台部と前方土台部の後方に延伸した後方土台とを有する土台下部と、土台下部の上方に設けたストッパ部とを有する土台と、第一アーム、第二アーム、第三アーム、第一関節、および第二関節を有する二関節と、伸長方向に直角方向の断面がU字状のヘラと、ストッパ部の側面に取り付けられ上方に伸長する取っ手棒と、を備え、第一アームの一端には、第一関節を回転軸として第二アームの一端が回転可能に取り付けられ、第二アームの他端は、第二関節を回転軸として第三アームの一端に回転可能に取り付けられ、第一関節と第二関節は連動してヘラを水平状態から垂直状態に移動可能であることを特徴とする靴ベラである。
【選択図】図1
特許請求の範囲
【請求項1】
下肢不自由者が使用する靴ベラであって、
前方に靴をはめ込み把持する靴はめ込み部を有する前方土台部と、前記前方土台部の後方に延伸した後方土台とを有する土台下部と、前記土台下部の上方に設けたストッパ部と、前記ストッパ部の上部前面に位置する二関節取付部と、前記ストッパ部の前面に前記ストッパ部の頂部より低い位置に位置する前部ストッパ部と、を有する土台と、
第一アーム、第二アーム、第三アーム、第一関節、および第二関節を有する二関節と、
前記第一アームの上面に取り付けられ、裏面が前記ストッパ部の頂部に位置する頂部ストッパ部に接することにより後方に回転しないように制限される、伸長方向に直角方向の断面が略U字状のヘラと、
前記ストッパ部の側面に取り付けられ上方に伸長する取っ手棒と、を備え、
前記第一アームの一端には、前記第一関節を回転軸として前記第二アームの一端が回転可能に取り付けられ、前記第二アームの他端は、前記第二関節を回転軸として前記第三アームの一端に回転可能に取り付けられ、前記第一関節と前記第二関節は連動して前記ヘラを床面に対して水平から垂直に移動可能であることを特徴とする靴ベラ。
続きを表示(約 740 文字)
【請求項2】
前記ヘラの略中央より前方に位置するヘラ前方部は、前記ヘラ前方部の後方に延伸するヘラ後方部より幅が狭いことを特徴とする請求項1に記載の靴ベラ。
【請求項3】
前記ヘラ前方部の先端の部分には、前記ヘラの伸長面から裏面方向に傾斜した、踵入れ部を有することを特徴とする請求項2に記載の靴ベラ。
【請求項4】
前記取っ手棒の上部に位置するグリップと、前記グリップの下端部と上端部とのそれぞれに両端のそれぞれが取り付けた帯状の取っ手紐と、前記取っ手棒の上端部に取り付けた取っ手ループと、を有することを特徴とする請求項3に記載の靴ベラ。
【請求項5】
前記前方土台部の内側に弾性体を有することを特徴とする請求項4に記載の靴ベラ。
【請求項6】
前記ヘラが前記ストッパ部の背面に前記ヘラの裏面が接して直立することが可能なことを特徴とする請求項5に記載の靴ベラ。
【請求項7】
前記取っ手棒の上部に位置するグリップと、前記グリップの下端部と上端部とのそれぞれに両端のそれぞれが取り付けた帯状の取っ手紐と、前記取っ手棒の上端部に取り付けた取っ手ループと、を有することを特徴とする請求項1に記載の靴ベラ。
【請求項8】
前記前方土台部の内側に弾性体を有することを特徴とする請求項7に記載の靴ベラ。
【請求項9】
前記ヘラが前記ストッパ部の背面に前記ヘラの裏面が接して直立することが可能なことを特徴とする請求項8に記載の靴ベラ。
【請求項10】
前記前方土台部の内側に弾性体を有することを特徴とする請求項1に記載の靴ベラ。
(【請求項11】以降は省略されています)
発明の詳細な説明
【技術分野】
【0001】
本発明は、つま先を自力で靴の履き口に入れることが困難な人でも、容易に靴を履くことができる靴ベラに関する。
続きを表示(約 1,400 文字)
【背景技術】
【0002】
靴を履く動作としては、先ず、つま先を靴の履き口に入れる必要がある。しかしながら、つま先を靴の履き口に入れたとしても、足の踵を靴の履き口に入れることは、必ずしも容易ではない。そのため、靴の履き口に足の踵を容易に入れるために靴ベラが利用されている。
【0003】
また、手足等身体的に不具合がある人でも簡単に靴が履くことができるよう、特許文献1には、玄関上がり框に一対の靴ベラ取り付けた靴ベラが開示されている。
【0004】
一方、立ったまま靴を履くときには、身体を支えるものがないため、ふらつくことがある。これに対し、例えば、特許文献2には、靴の踵と靴のベロを2つのヘラでガイドし履き口を広げる機能を有する靴ベラおよびこれを備えた杖が開示されている。
【先行技術文献】
【特許文献】
【0005】
実用新案登録第3082924号公報
特開2019-115644号公報
【非特許文献】
【0006】
イスブ 2019年10月20日 「靴の履き方『頸髄損傷』」 https://www.youtube.com/watchi?v=3MGUX3ZUUtk
三井 和哉 2022年11月25日 「『靴を履く』手が不自由でも自力で靴を履く方法(脊髄損傷 事故)」 https://www.youtube.com/watchi?v=93DalYobXcc
【発明の概要】
【発明が解決しようとする課題】
【0007】
ここで、下肢が不自由な人(以下、「下肢不自由者」とも言う。)、例えば、脊髄損傷者が車椅子に座っている状態で靴を履く様子が非特許文献1および非特許文献2に開示されている。次に、車いすに座った状態で脊髄損傷者が左足に靴を履く手順を図21~23に示す。
【0008】
脊髄損傷者が靴を履くには、先ず、履く靴を手が届く範囲に置く。次に、一方の足を手に引っ掛け股関節を外旋、屈曲、外転し、膝関節を屈曲させることで他方の膝の上に足を持ち上げる(図21)。そして、手に引っ掛けた靴の履き口に足のつま先を入れ、靴の底を手で押し、足の踵を靴の履き口に入れる(図22)。さらに、足の踵で押されて履き口に入り込んでしまった靴の踵を出すために、S字フックを靴の踵にあるループに引っ掛け、靴の踵を引き出す(図23)。
【0009】
このように、下肢が不自由な人が靴を履くことは、非常に煩雑な作業を必要とする。例えば、特許文献1に開示された靴ベラであっても、下肢が不自由な人にとっては、つま先を靴の履き口に差し入れることが難しい。また、特許文献2に開示された靴の踵と靴のベロを2つのヘラでガイドし履き口を広げる機能を有する靴ベラおよびこれを備えた杖であっても、踵を靴の中に入れることはできるものの、つま先を靴の中に入れることは自力で行う必要がある。
【0010】
したがって、下肢が不自由な人、例えば、脊髄損傷者には、先ず、つま先を靴の履き口に差し入れ、その後、踵を靴の中に入れることの動作を補助し、容易に靴を履くことができる靴ベラを提供することが望まれている。
【課題を解決するための手段】
(【0011】以降は省略されています)
この特許をJ-PlatPat(特許庁公式サイト)で参照する
関連特許
個人
清掃具
6日前
レンゴー株式会社
棚用装飾具
4日前
上海坤健家具有限公司
座椅子
4日前
有限会社姫田石材店
花立用花支持具
4日前
株式会社ナスタ
宅配ボックス
4日前
株式会社Deto
吐水器
11日前
個人
重複曲げ折り部位を設けた変成ハリガネハンガー
11日前
テイ・エス テック株式会社
車両内装システム
11日前
テイ・エス テック株式会社
車両内装システム
11日前
テイ・エス テック株式会社
車両内装システム
11日前
河村電器産業株式会社
宅配ボックス装置
4日前
テイ・エス テック株式会社
車両内装システム
11日前
モリテックスチール株式会社
2部材のスライド構造及び物掛け
11日前
株式会社創和
取付ブロック、壁面収納ユニット及び平面収納ユニット
4日前
株式会社arne
壁掛家具の脱落防止構造
4日前
株式会社愛工舎製作所
無水湯煎器及び当該機器を備えた食品用縦型ミキサー
1日前
コシオカ産業株式会社
アダプター
4日前
公立大学法人大阪
座圧測定装置及び座位姿勢改善方法
4日前
パナソニックIPマネジメント株式会社
浴槽用手すり及び浴室手すり構造
11日前
パナソニックIPマネジメント株式会社
炊飯器
4日前
広葉樹合板株式会社
支持装置及びネットワーク型支持装置システム
11日前
日本製紙クレシア株式会社
ロール状ペーパータオル製品
4日前
リア・コーポレーション
シート組立体およびその組立方法
4日前
株式会社7’s
液垂れ防止具、及び液垂れ防止具セット
11日前
象印マホービン株式会社
複合部材及びその製造方法並びに飲料容器及びその製造方法
11日前
寧波利洋新材料股分有限公司
カーテンの穴あけ不要の電動取付装置及びそのトップフレーム取付組立体
11日前
寧波利洋新材料股分有限公司
カーテン取り付け用の穴あけ不要の電動取付装置及びそのトップフレーム取付組立体
11日前
他の特許を見る