TOP
|
特許
|
意匠
|
商標
特許ウォッチ
Twitter
他の特許を見る
10個以上の画像は省略されています。
公開番号
2025140286
公報種別
公開特許公報(A)
公開日
2025-09-29
出願番号
2024039589
出願日
2024-03-14
発明の名称
簡易防災トイレ
出願人
個人
代理人
主分類
A47K
11/04 20060101AFI20250919BHJP(家具;家庭用品または家庭用設備;コーヒーひき;香辛料ひき;真空掃除機一般)
要約
【課題】
簡易防災トイレの機能を機械化で向上させて、通常のトイレ使用に近い環境を整え、使用者自身の健康が維持にもつながる簡易防災トイレを提供することを目的とする。
【解決手段】
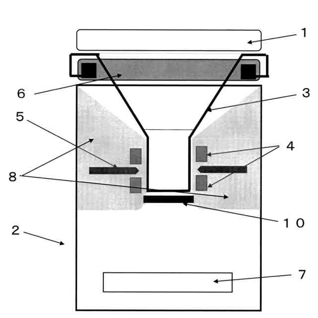
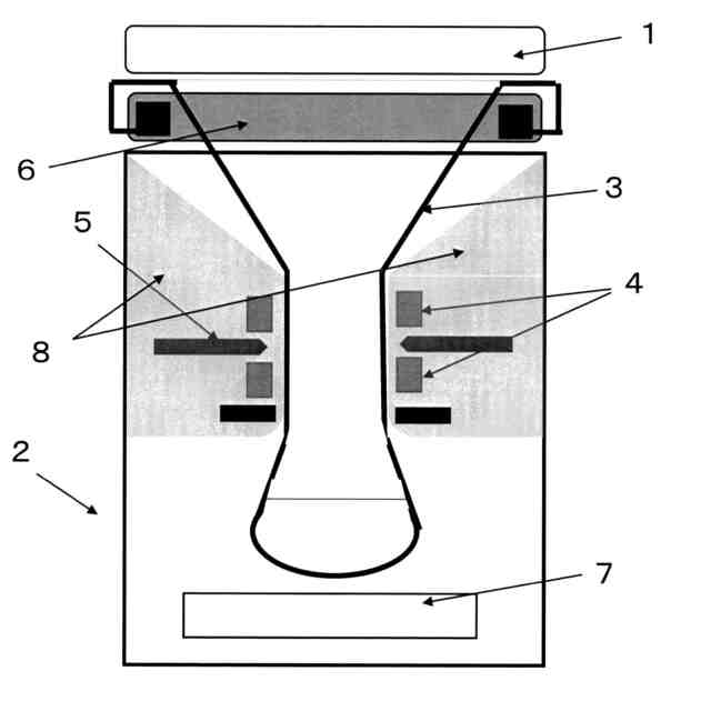
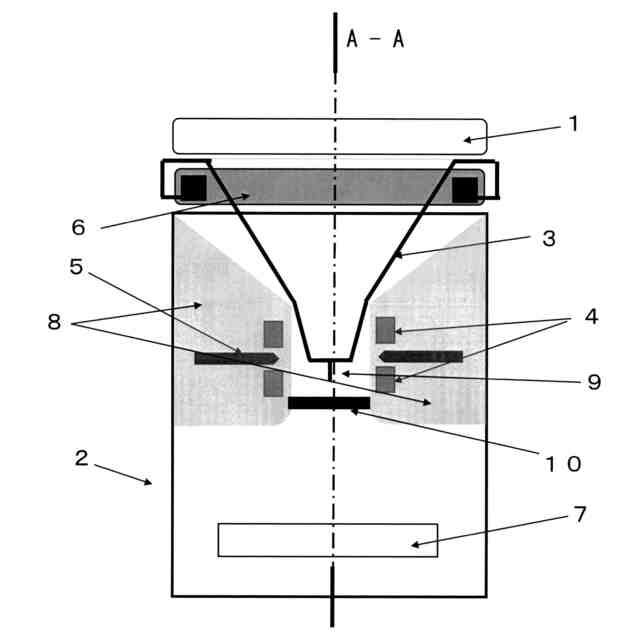
便座1と便座1側の排便穴より内側の径全体が狭い、または一部が狭い排便穴を持つ便座置台2と、汚物入れ袋3と、密封設備4や切断設備5を設置している。また汚物入れ袋3を便座1周辺にてまとめて収納するカートリッジ6と汚物入れ袋用の引き出し容器7、フラッパー弁10も格納されていることを特徴とするものである。トイレ使用後、汚物入れ袋3自体がクビレ8部分の汚物入れ袋通し穴9内に落下、その後密封設備4を用いて汚物入れ袋3自体を密封、切断設備5で切断して、汚物入れ袋用引き出し容器7にて収納する形になっている。
【選択図】 図2
特許請求の範囲
【請求項1】
便座と前記便座側の排便穴より内側の径全体が狭い、または一部が狭い排便穴を持つ便座置台と、汚物類を収納する袋と、前記汚物類を収納する袋を密封し、切断することを特徴とする簡易防災トイレ。
続きを表示(約 130 文字)
【請求項2】
連続でも利用することを可能にするために、前記便座周辺に前記汚物入れ袋を順繰りに繰り出すことができる収納容器と、前記便座置台の内側に汚物入れ袋用の引き出し容器とフラッパー弁が格納されていることを特徴とする請求項1に記載した簡易防災トイレ。
発明の詳細な説明
【技術分野】
【0001】
本発明は、簡易防災トイレに関するものである。
続きを表示(約 2,400 文字)
【背景技術】
【0002】
一般的に現在使用している簡易防災トイレについては、災害毎に多少進化してきているが、未だに人力作業(だから単発方式でのトイレ使用になる)に頼り切っている商品ばかりで、改善が行き詰っている状態まで来ている。食事面や睡眠面では、時間の経過と共に進化してきているが、トイレ面の既存の商品(概ね汚物入れ袋と凝固剤のセットのみ)については、構造上の関係(基本既設のトイレ便器を便座置台として使用しているため)から、汚物類を収納する袋自体が無駄に大きく、使用後に当事者自身が手作業で後処理(飛沫汚れの拡散付着の処理や臭気含みの空気の排出と密封搬出処理)をすることにより、特に目立った進化が無い。そのため精神衛生上のストレスが増加しており、使用を控えることによって健康を害している環境もある。このことは、寸胴型の簡易防災トイレも同じような大きさの汚物類を収納する袋を使用しているため、同様の問題が発生している。
【0003】
今後簡易防災トイレを更に発展させるためには、使用するにあたっての衛生面自体の向上はもちろんであるが、精神衛生上のストレスを減少させる環境を整える必要がある。特に人力作業を軽減させて、通常のトイレ使用時に近い環境にする必要がある。
【0004】
特許文献1に開示された内容やその他類似したものは、使用毎に当事者が既存のトイレ便器や簡易防災トイレに商品を設置準備して、使用後に当事者が手作業で後処理をする内容である。そのため、トイレ便器毎で設置準備方法(トイレ便器の形状等の問題)にバラツキがあり、使用後も手作業で後処理をするため、特に精神衛生上のストレスが増加している。そのため使用回数自体を控えている使用者が目立ってきている。既存のトイレ便器や簡易防災トイレの便座置台自体を再検討(簡易防災トイレとして)しない限り、汚物類を収納する袋自体も非常に大きいままで、設置準備する手間、使用後の後処理についても袋自体が大きいことにより、ストレスを減少させることはできない。具体的な説明としては、汚物類を収納する袋自体が大きいということは、使用に伴う飛沫汚れの拡散付着処理(拡散範囲が広い)が大変で、臭気含みの空気が汚物類を収納する袋内に充満することによって、臭気含みの空気の排出作業、袋自体の密封から搬出処理までを手作業で行われるため、ストレスが軽減されることは無い。また使用者が手作業のため、汚物等を身体に付着する可能性も高い。
【先行技術文献】
【特許文献】
【0005】
特許第6817670号公報
実用新案登録第3144187号公報
【発明の概要】
【発明が解決しようとする課題】
【0006】
臭気含みの空気の排出の低減と自動密封処理
上述のように一般的に使用している簡易防災トイレシステムについて、精神衛生上のストレスを軽減させて、通常のトイレ使用時に近い環境にすることが課題である。
【0007】
本発明は、上述の問題点を鑑みなされたものであり、トイレ使用前から使用後までの手作業を極力削減して、精神衛生上から来るストレスを減少させて、通常のトイレ使用時に近い環境にすることが目的である。
【課題を解決するための手段】
【0008】
上述の課題を解決するため、前記便座と前記便座側の排便穴より内側の径全体が狭い、または内側の周囲にクビレや逆クビレがある、または漏斗状や逆漏斗状のように一部が狭い排便穴を持つ便座置台と、汚物類を収納する袋(以下、汚物入れ袋で表記)と、前記汚物類入れ袋を密封や切断する設備(以下、前記密封設備や前記切断設備で表記)を設置している。詳細な内容としては、図2で示すように、前記便座置台の内側に前記汚物入れ袋と前記密封設備や切断設備を設置して、連続でも利用することを可能にするために、前記便座周辺に前記汚物入れ袋を順繰りに繰り出すことができる収納容器(以下、カートリッジで表記、詳細は段落番号0009で説明)を設置していることを特徴とする。尚、前記便座置台の内側については、段落番号0010にて改めて説明する。
【0009】
本発明において簡易防災トイレを使用する環境は、概ね通常のトイレ使用が困難な災害時の場合である。そのような環境では、不特定多数の人間が使用するので、連続利用を可能にする必要がある。その対策としては、図2から図9で示すように、前記汚物入れ袋(前記汚物入れ袋の初回の先端部分以外は基本底辺が密封されていない筒状の長い袋)を、口の開いた方の端から反対側の端に向かって丸める状態(丸める状態が幾重にも重なっている状態)で、カートリッジ内に収納して、前記カートリッジ内の汚物入れ袋が前記便座の下から設置準備されて、トイレを使用する毎に前記汚物入れ袋を順繰りに繰り出しができることと、前記便座置台の内側に段落番号0008でも述べているクビレ等が付いていること、同じく内側に前記汚物入れ袋用の引き出し容器と前記フラッパー弁が格納されていることを特徴とする請求項1に記載した簡易防災トイレである。
【0010】
連続利用を可能とするための補足として、段落番号0009の続きになるが、前記汚物入れ袋の量自体を前記カートリッジ内により多く収納する必要がある。その対策としては、前記便座側の排便穴より内側の径全体が狭い、または内側の周囲にクビレや逆クビレがある、または漏斗状や逆漏斗状のように一部が狭い排便穴を付けることによって、無駄な空間を削減することとなり、それが前記汚物入れ袋自体の縮小化となり、次に使用に伴う飛沫汚れの拡散付着を限定することができ、最後に臭気含みの空気の体積量の削減ができることを特徴とする請求項1に記載した簡易防災トイレである。
(【0011】以降は省略されています)
この特許をJ-PlatPat(特許庁公式サイト)で参照する
関連特許
個人
箸
13日前
個人
家具
3か月前
個人
椅子
2か月前
個人
掃除機
8か月前
個人
自助箸
6か月前
個人
掃除道具
8か月前
個人
掃除用具
3か月前
個人
枕
4か月前
個人
屋外用箒
6か月前
個人
多用途紐
10日前
個人
ソファー
1か月前
個人
ハンガー
6か月前
個人
体洗い具
9か月前
個人
枕
7か月前
個人
耳拭き棒
10か月前
個人
省煙消臭器
8か月前
個人
片手代替具
10か月前
個人
開閉トング
5か月前
個人
組立式棚板
6か月前
個人
掃除シート
8か月前
個人
エコ掃除機
11か月前
個人
物品
2か月前
個人
洗面台
10か月前
個人
シャワー装置
5か月前
個人
靴ベラ
1か月前
個人
バターナイフ
13日前
個人
紙コップ 蓋
1か月前
個人
経典表示装置
3か月前
個人
ゴミ袋保持枠
6か月前
個人
中身のない枕
6か月前
個人
転倒防止装置
4か月前
個人
受け皿
5か月前
個人
補助寝具
7か月前
個人
食事用具
11か月前
個人
簡易防災トイレ
28日前
個人
汚水汚れ防止具
9か月前
続きを見る
他の特許を見る