TOP
|
特許
|
意匠
|
商標
特許ウォッチ
Twitter
他の特許を見る
公開番号
2025073938
公報種別
公開特許公報(A)
公開日
2025-05-13
出願番号
2023194750
出願日
2023-10-27
発明の名称
開閉トング
出願人
個人
代理人
主分類
A47G
21/10 20060101AFI20250502BHJP(家具;家庭用品または家庭用設備;コーヒーひき;香辛料ひき;真空掃除機一般)
要約
【課題】
トングで大きさや重量や形状が異なる物を挟んで掴む際に二つのアーム間の幅を拡げることができ且つトングを落とす不安もない
開閉トングを提供する。
【解決手段】
先端部と末端部を有する二つのアーム及び前記二つのアームの前記末端部を連結する板バネとからなるトングにおいて、前記二つのアームの前記先端部と前記末端部の間に前記二つのアームの長手方向に対し略直角となる向きに指を挿入可能に
指リングを設け
て手の指の開きと握力を利用して前記二つのアーム同士を開閉するようにす
る。
【選択図】図1
特許請求の範囲
【請求項1】
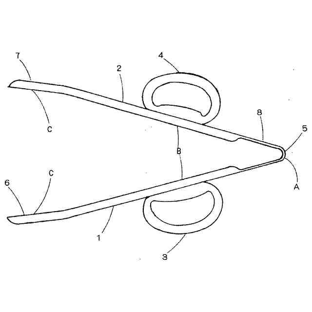
[図1]に記すように、トングの両アーム(1)(2)に指リング(3)(4)を取り付けたことを特徴とする開閉トング。
発明の詳細な説明
【技術分野】
【0001】
この発明は、トングの両アームに指リングを取り付けた開閉トングに関するものである。
続きを表示(約 1,300 文字)
【背景技術】
【0002】
従来、トングはバネの力で先端部が開き、アームを手の親指と人差し指で挟み、残りの指は落とさない様にアームに添えただけで使用していた。
【先行技術文献】
【特許文献】
【0003】
特開2018-050713公報
特開2018-143696公報
特開2021-094197公報
特開2023-000026公報
【発明の概要】
【発明が解決しようとする課題】
【0004】
従来の技術は、次のような欠点があった。
同一の物を次々にゆっくりと挟む場合には良いが、次々に大きさも重量も異なる異形の物を挟もうとした時には、板バネが持つ反発力だけでアーム同士が開くため挟める幅に限界があり、それ以上開きたい場合は、もう片方の手を添えて開かなくてはならず、なおかつ指を添えただけでトングを押さえているため落とすことがある。
本発明は、以上のような欠点をなくすためになされたものである。
【課題が解決するための手段】
【0005】
トングのアーム(1)の末端部(5)と先端部(6)の間に、親指が入る指リング(3)を設け、片方のアーム(2)には末端部(5)と先端部(7)の間に、残り指4本が入る指リング(4)を設ける。
本発明は、以上の構成による開閉トングである。
【発明の効果】
【0006】
従来のトングの先端部(6)(7)は、板バネ(8)の反発力のみで開くため限界幅があり、それ以上開こうとして手から落とすこともあったが、本発明では指リング(3)(4)を設ける事により、指の開きを最大限利用ができ、その板バネ(8)がもつ限界開き幅を超えた幅広の物も挟む事ができ、今まで形状大きさに応じて使い分けていたトングは、その必要性がなくなり、片手の指すべてが指リング(3)(4)内に納まることにより、指の開きと握力は最大限利用ができ、トングを落とすのではという不安からも解放され、本発明の開閉トングにより、自由に開閉し気持ちよく片手の一部として使用できる。
【図面の簡単な説明】
【0007】
本発明の平面図である。
本発明の側面図である。
本発明の斜図である。
【発明を実施するための形態】
【0008】
以下、本発明を実施するための形態について説明する。
[図1]に記すように、先端部(6)(7)が物を挟むための作用点(C)であり、このトングの支点(A)と作用点(C)の間に力点(B)があり、その力点(B)の位置に指リング(3)(4)を設け、その中に片手の全ての指を入れる事により、片手の指の開きと全握力を最大限利用し、落とす事を心配しないで自由に開閉ができる。
本発明は、以上の構成による開閉トングである。
【符号の説明】
【0009】
1 アーム
2 アーム
3 指リング
4 指リング
5 末端部
6 先端部
7 先端部
8 板バネ
A 支点
B 力点
C 作用点
この特許をJ-PlatPat(特許庁公式サイト)で参照する
関連特許
個人
箸
1か月前
個人
家具
4か月前
個人
椅子
3か月前
個人
自助箸
7か月前
個人
掃除機
8か月前
個人
掃除道具
8か月前
個人
枕
5か月前
個人
屋外用箒
7か月前
個人
ハンガー
7か月前
個人
ソファー
2か月前
個人
体洗い具
10か月前
個人
耳拭き棒
11か月前
個人
掃除用具
3か月前
個人
枕
8か月前
個人
多用途紐
1か月前
個人
片手代替具
11か月前
個人
省煙消臭器
8か月前
個人
エコ掃除機
12か月前
個人
組立式棚板
7か月前
個人
物品
3か月前
個人
掃除シート
9か月前
個人
開閉トング
6か月前
個人
靴ベラ
2か月前
個人
中身のない枕
7か月前
個人
洗面台
10か月前
個人
バターナイフ
1か月前
個人
経典表示装置
4か月前
個人
紙コップ 蓋
2か月前
個人
転倒防止装置
5か月前
個人
ゴミ袋保持枠
7か月前
個人
受け皿
5か月前
個人
シャワー装置
6か月前
個人
ホバー掃除機。
6か月前
個人
簡易防災トイレ
1か月前
個人
補助寝具
8か月前
個人
汚水汚れ防止具
10か月前
続きを見る
他の特許を見る