TOP
|
特許
|
意匠
|
商標
特許ウォッチ
Twitter
他の特許を見る
10個以上の画像は省略されています。
公開番号
2025165669
公報種別
公開特許公報(A)
公開日
2025-11-05
出願番号
2024069886
出願日
2024-04-23
発明の名称
遠心送風機および換気機器
出願人
三菱電機株式会社
代理人
弁理士法人加藤国際特許事務所
主分類
F04D
29/44 20060101AFI20251028BHJP(液体用容積形機械;液体または圧縮性流体用ポンプ)
要約
【課題】 使用者側へ伝播する騒音を低減させることのできる遠心送風機を提供する。
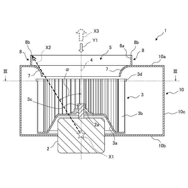
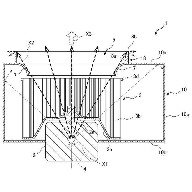
【解決手段】 遠心送風機1は、モータ2と、モータ2のシャフト2aに固定された円筒状の羽根車3と、羽根車3が収容され、空気を吸い込む吸込口5が設けられた吸込口面10aを有するスクロールケーシング10と、吸込口5に設けられ、吸込口5に吸い込まれた空気を羽根車3に案内するベルマウス7と、吸込口面10aに設けられ、吸込口5を囲む環状の遮蔽壁8とを備える。
【選択図】図2
特許請求の範囲
【請求項1】
モータと、
前記モータのシャフトに固定された円筒状の羽根車と、
前記羽根車が収容され、空気を吸い込む吸込口が設けられた吸込口面を有するスクロールケーシングと、
前記吸込口に設けられ、前記吸込口に吸い込まれた空気を前記羽根車に案内するベルマウスと、
前記吸込口面に設けられ、前記吸込口を囲む環状の遮蔽壁とを備える遠心送風機。
続きを表示(約 970 文字)
【請求項2】
前記スクロールケーシングは、
空気を吹き出す吹出口と、
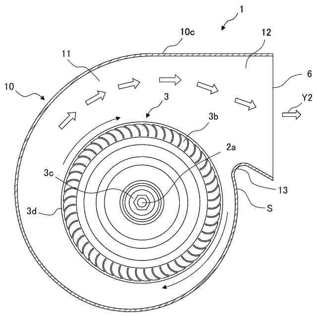
前記羽根車を回転可能に収容し、前記羽根車の回転によって発生した空気流を前記吹出口に導く螺旋状の流路を構成するスクロール部と、
前記スクロール部と前記吹出口との間の流路を構成するディフューズ部と、
前記スクロール部に設けられ、前記空気流を前記ディフューズ部に導くと共に、前記空気流の一部を分岐して前記スクロール部内を再循環させる舌部とを備える請求項1記載の遠心送風機。
【請求項3】
前記遮蔽壁は、前記吸込口面に固定する固定部材を備え、
前記固定部材の固定位置は、前記舌部によって前記空気流の一部を分岐させる分岐領域である請求項2記載の遠心送風機。
【請求項4】
前記固定部材の中心位置と前記羽根車の回転軸とを通る直線と、前記吹出口から吹き出される前記空気流の吹き出し方向と平行で且つ前記羽根車の回転軸を通る基準軸線とのなす角度が0度から70度の間である請求項3記載の遠心送風機。
【請求項5】
前記遮蔽壁の外径は、前記吸込口面の外周端部を両端とし前記羽根車の回転軸を通る線分よりも小さい請求項1から請求項4のいずれか一項に記載の遠心送風機。
【請求項6】
前記遮蔽壁の内径は、前記吸込口の開口径より大きい請求項1から請求項4のいずれか一項に記載の遠心送風機。
【請求項7】
前記遮蔽壁は、前記羽根車の回転軸に対して回転対称の形状である請求項1から請求項4のいずれか一項に記載の遠心送風機。
【請求項8】
前記遮蔽壁の上端部を通り前記ベルマウスの表面に接する接線と、前記羽根車の回転軸とのなす角度が20度から60度の間である請求項1から請求項4のいずれか一項に記載の遠心送風機。
【請求項9】
前記羽根車の回転軸に垂直な面において、前記羽根車の回転軸から前記遮蔽壁までの距離が方向によって異なる請求項1から請求項4のいずれか一項に記載の遠心送風機。
【請求項10】
前記遮蔽壁の高さが周方向に沿って変化する請求項1から請求項4のいずれか一項に記載の遠心送風機。
(【請求項11】以降は省略されています)
発明の詳細な説明
【技術分野】
【0001】
本開示は、遠心送風機およびこの遠心送風機を備えた換気機器に関する。
続きを表示(約 1,700 文字)
【背景技術】
【0002】
特許文献1には、吸込口に誘引される空気を整流するために、吸入口側端部を覆うベルマウスを備えた遠心送風機が開示されている。この遠心送風機は、ベルマウスによって送風性能の向上を図っている。
【先行技術文献】
【特許文献】
【0003】
特許第3921832号公報
【発明の概要】
【発明が解決しようとする課題】
【0004】
ここで、遠心送風機は、羽根車を収容するスクロールケーシングを有する。スクロールケーシングは、空気の吸込口と空気の吹出口とを有し、羽根車の回転によって発生する空気流の流路を構成する。羽根車の回転などによってスクロールケーシングの内部で発生した騒音は、吸込口または吹出口からスクロールケーシングの外へ放出される。
【0005】
遠心送風機は、効率的に空気流を発生させられることに加え、静圧も確保することができる。このため、ダクト用換気扇等をはじめとする各種換気機器に幅広く搭載されている。こうした換気機器は、遠心送風機の吸込口側に使用者がいるケースが多い。例えば、換気機器が吸込口を下にして部屋の天井に設置されている場合、この部屋で生活する使用者が吸込口の下にいるケースがこれに該当する。このようなケースでは、遠心送風機の内部で発生した騒音が吸込口から直接使用者に伝播することになるので、特に、吸込口側の騒音対策が重要となっている。
【0006】
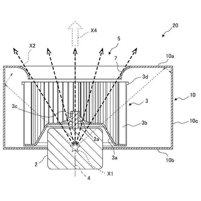
しかしながら、特許文献1に記載された遠心送風機においては、スクロールケーシングの内部で発生した騒音が、ベルマウスの湾曲した表面で反射するので、多くの騒音が使用者側へ伝播し、騒音悪化を招くという課題があった。
【0007】
本開示は、上記のような課題を解決するためになされたものであり、使用者側へ伝播する騒音を低減させることができる遠心送風機および換気機器を提供することを目的とする。
【課題を解決するための手段】
【0008】
本開示に係る遠心送風機は、モータと、モータのシャフトに固定された円筒状の羽根車と、羽根車が収容され、空気を吸い込む吸込口が設けられた吸込口面を有するスクロールケーシングと、吸込口に設けられ、吸込口に吸い込まれた空気を羽根車に案内するベルマウスと、吸込口面に設けられ、吸込口を囲む環状の遮蔽壁とを備える。
【発明の効果】
【0009】
本開示に係る遠心送風機および換気機器は、使用者側へ伝播する騒音を低減させることができるという効果を奏する。
【図面の簡単な説明】
【0010】
実施の形態1に係る遠心送風機を示す斜視図である。
実施の形態1に係る遠心送風機を示す断面図である。
実施の形態1に係る遠心送風機を示す断面図である。
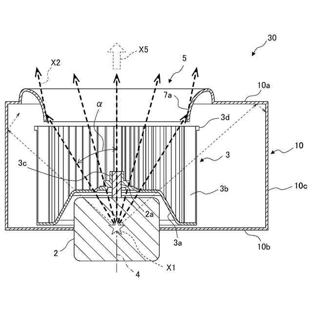
実施の形態1に係る遠心送風機における騒音伝播の様子を示す図である。
第1の比較例に係る遠心送風機を示す断面図である。
第1の比較例に係る遠心送風機における騒音伝播の様子を示す図である。
第2の比較例に係る遠心送風機を示す斜視図である。
第2の比較例に係る遠心送風機における騒音伝播の様子を示す図である。
実施の形態1に係る遠心送風機と第1の比較例に係る遠心送風機とにおける、周波数と騒音値の実機試験結果を表す図である。
実施の形態1に係る遠心送風機と第2の比較例に係る遠心送風機とにおける、周波数と騒音値の実機試験結果を表す図である。
遮蔽壁の上端部を通りベルマウスの湾曲した表面に接する接線と回転軸とのなす角度と、吸込口から使用者に向けて伝播する騒音の実機試験結果との関係を示す図である。
実施の形態1に係る遠心送風機の具体的な構造を示す平面図である。
実施の形態2に係る遠心送風機を示す平面図である。
実施の形態3に係る遠心送風機を示す平面図である。
実施の形態4に係る換気扇を示す平面図である。
【発明を実施するための形態】
(【0011】以降は省略されています)
この特許をJ-PlatPat(特許庁公式サイト)で参照する
関連特許
三菱電機株式会社
増幅器
1か月前
三菱電機株式会社
換気扇
1か月前
三菱電機株式会社
扇風機
1か月前
三菱電機株式会社
換気扇
1か月前
三菱電機株式会社
換気扇
1か月前
三菱電機株式会社
換気扇
11日前
三菱電機株式会社
冷蔵庫
1か月前
三菱電機株式会社
冷蔵庫
18日前
三菱電機株式会社
照明器具
12日前
三菱電機株式会社
電気機器
18日前
三菱電機株式会社
照明装置
1か月前
三菱電機株式会社
換気装置
10日前
三菱電機株式会社
電子機器
1か月前
三菱電機株式会社
収集装置
1か月前
三菱電機株式会社
半導体装置
5日前
三菱電機株式会社
電動送風機
10日前
三菱電機株式会社
回路遮断器
26日前
三菱電機株式会社
半導体装置
5日前
三菱電機株式会社
冷凍冷蔵庫
3日前
三菱電機株式会社
半導体装置
2か月前
三菱電機株式会社
保護リレー
1か月前
三菱電機株式会社
半導体装置
1か月前
三菱電機株式会社
加熱調理器
26日前
三菱電機株式会社
半導体装置
3日前
三菱電機株式会社
半導体装置
18日前
三菱電機株式会社
空気調和機
1か月前
三菱電機株式会社
貯湯式給湯機
1か月前
三菱電機株式会社
ねじ締め装置
1か月前
三菱電機株式会社
位置算出装置
11日前
三菱電機株式会社
空調システム
1か月前
三菱電機株式会社
空気清浄装置
26日前
三菱電機株式会社
車両制御装置
10日前
三菱電機株式会社
空調システム
1か月前
三菱電機株式会社
点検管理装置
1か月前
三菱電機株式会社
照明システム
2か月前
三菱電機株式会社
調理システム
1か月前
続きを見る
他の特許を見る