TOP
|
特許
|
意匠
|
商標
特許ウォッチ
Twitter
他の特許を見る
10個以上の画像は省略されています。
公開番号
2025175683
公報種別
公開特許公報(A)
公開日
2025-12-03
出願番号
2024081897
出願日
2024-05-20
発明の名称
半導体装置
出願人
三菱電機株式会社
代理人
弁理士法人深見特許事務所
主分類
H01L
23/48 20060101AFI20251126BHJP(基本的電気素子)
要約
【課題】組立性の悪化を抑制でき、かつ小型化を図ることが可能な半導体装置を提供する。
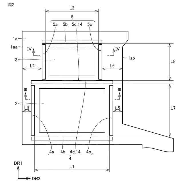
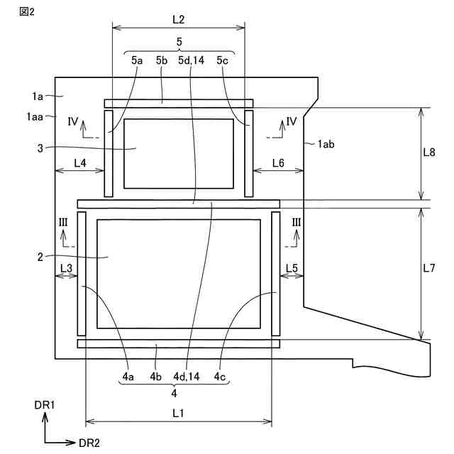
【解決手段】半導体装置は、ベース部材1aと、第1半導体素子2と、第2半導体素子3とを備える。第2半導体素子3は、第1半導体素子2より平面サイズが小さい。第1半導体素子2と第2半導体素子3とは第1方向DR1において並んでいる。ベース部材1aには、第1半導体素子2を囲むように第1溝4が形成されている。ベース部材1aには、第2半導体素子3を囲むように第2溝5が形成されている。第1半導体素子2と第2半導体素子3との間の領域において、第1溝4と第2溝5とは重なっている。第1方向DR1と直交する方向である第2方向DR2において、第1半導体素子2を挟むように配置されている第1溝4の部分の間の距離L1よりも、第2半導体素子3を挟むように配置されている第2溝5の部分の間の距離L2が小さい。
【選択図】図2
特許請求の範囲
【請求項1】
導電性材料により構成されるベース部材と、
前記ベース部材に、接合材により接続される第1半導体素子と、
前記ベース部材に、接合材により接続され、前記第1半導体素子より平面サイズの小さい第2半導体素子とを備え、
前記第1半導体素子と前記第2半導体素子とは第1方向において並んでおり、
前記ベース部材には、前記第1半導体素子を囲むように第1溝が形成され、
前記ベース部材には、前記第2半導体素子を囲むように第2溝が形成され、
前記第1半導体素子と前記第2半導体素子との間の領域において、前記第1溝と前記第2溝とは重なっており、
前記第1方向と直交する方向である第2方向において、前記第1半導体素子を挟むように配置されている前記第1溝の部分の間の距離よりも、前記第2半導体素子を挟むように配置されている前記第2溝の部分の間の距離が小さい、半導体装置。
続きを表示(約 1,000 文字)
【請求項2】
端子と、
前記端子と前記ベース部材とを電気的に接続する接続部と、
前記ベース部材および前記接続部を覆う絶縁性の樹脂とを備え、
前記端子は前記樹脂から突出しており、
前記第1方向において、前記接続部から前記第1溝までの距離より、前記接続部から前記第2溝までの距離は大きい、請求項1に記載の半導体装置。
【請求項3】
前記ベース部材と前記接続部とは別体であり、
前記ベース部材と前記接続部とは、はんだまたは合金層を介して接合されている、請求項2に記載の半導体装置。
【請求項4】
前記ベース部材と前記接続部とは一体の金属部材により構成されている、請求項2に記載の半導体装置。
【請求項5】
前記第2方向において、前記ベース部材の端部と前記第2溝との間の距離は、前記ベース部材の前記端部と前記第1溝との間の距離より大きい、請求項1に記載の半導体装置。
【請求項6】
前記第2方向において、前記ベース部材の一方の端部と前記第2溝との間の距離は、前記ベース部材の他方の端部と前記第2溝との間の距離と異なる、請求項1に記載の半導体装置。
【請求項7】
前記第1溝および前記第2溝の断面形状がV字状である、請求項1に記載の半導体装置。
【請求項8】
前記第1半導体素子および前記第2半導体素子の少なくともいずれか一方を制御する第3半導体素子を備え、
前記第1方向において、前記第3半導体素子から前記第1溝までの距離より、前記第3半導体素子から前記第2溝までの距離は小さく、
前記第1方向において、前記第1半導体素子を挟むように配置されている前記第1溝の部分の間の距離よりも、前記第2半導体素子を挟むように配置されている前記第2溝の部分の間の距離が小さい、請求項1から請求項7のいずれか1項に記載の半導体装置。
【請求項9】
前記第1半導体素子と前記第2半導体素子とを電気的に接続する主電流配線と、
前記第1半導体素子と前記第2半導体素子とのいずれか一方と前記第3半導体素子とを電気的に接続する制御配線とを備え、
前記制御配線の断面積は、前記主電流配線の断面積より小さい、請求項8に記載の半導体装置。
発明の詳細な説明
【技術分野】
【0001】
本開示は、半導体装置に関する。
続きを表示(約 1,700 文字)
【背景技術】
【0002】
従来、基板の表面上にはんだ等の接合材によって半導体素子が接合された半導体装置が知られている(たとえば、特開2017-098508号公報参照)。
【先行技術文献】
【特許文献】
【0003】
特開2017-098508号公報
【発明の概要】
【発明が解決しようとする課題】
【0004】
上記特開2017-098508号公報に開示された半導体装置では、基板の表面において半導体素子の角部に面する位置に複数の溝が形成され、当該溝の内部まで接合材を充填させている。上記半導体装置では、接合材を溝の内部に充填するため、接合材が溝から溢れるように配置されている。この結果、接合材を溶融させて半導体素子を基板表面に固定するときに、半導体素子の位置がずれて半導体素子の移動量(すなわち設計時に想定された位置からのずれ量)が大きくなる可能性がある。
【0005】
このように半導体素子の移動量が大きくなると、半導体素子に接合されるワイヤの位置がずれて短絡が発生したり、半導体素子に対するワイヤの接合工程自体がうまく行かなかったりと、半導体装置の組立性が悪化する。さらに、複数の半導体素子に対して個別に独立した溝を形成しているため、半導体装置の小型化という点で改善の余地があった。
【0006】
そこで、本開示は、組立性の悪化を抑制でき、かつ小型化を図ることが可能な半導体装置を提供することを目的とする。
【課題を解決するための手段】
【0007】
本開示に係る半導体装置は、ベース部材と、第1半導体素子と、第2半導体素子とを備える。ベース部材は導電性材料により構成される。第1半導体素子は、ベース部材に接合材により接続される。第2半導体素子は、ベース部材に接合材により接続される。第2半導体素子は、第1半導体素子より平面サイズが小さい。第1半導体素子と第2半導体素子とは第1方向において並んでいる。ベース部材には、第1半導体素子を囲むように第1溝が形成されている。ベース部材には、第2半導体素子を囲むように第2溝が形成されている。第1半導体素子と第2半導体素子との間の領域において、第1溝と第2溝とは重なっている。第1方向と直交する方向である第2方向において、第1半導体素子を挟むように配置されている第1溝の部分の間の距離よりも、第2半導体素子を挟むように配置されている第2溝の部分の間の距離が小さい。
【発明の効果】
【0008】
上記によれば、組立性の悪化を抑制でき、かつ小型化を図ることが可能な半導体装置が得られる。
【図面の簡単な説明】
【0009】
実施の形態1に係る半導体装置の平面模式図である。
図1に示された半導体装置の部分拡大平面模式図である。
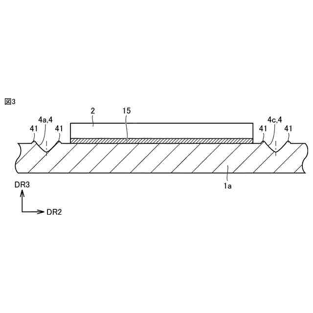
図2の線分III-IIIにおける断面模式図である。
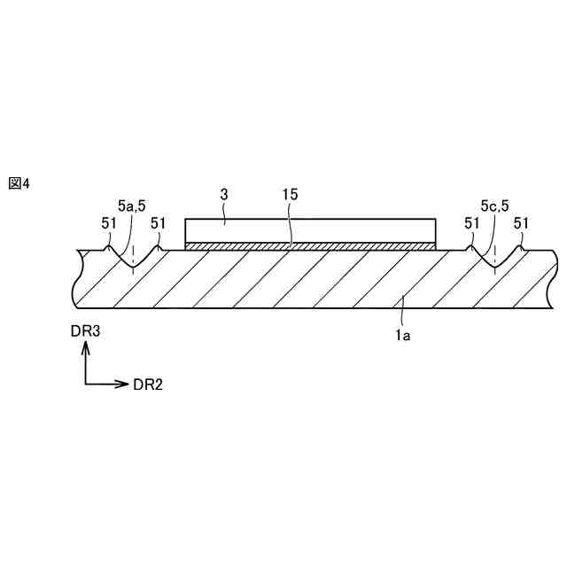
図2の線分IV-IVにおける断面模式図である。
図1に示された半導体装置の第1制御配線の断面模式図である。
図1に示された半導体装置の主電力配線の断面模式図である。
図1に示された半導体装置の第1変形例を示す部分断面模式図である。
図1に示された半導体装置の第2変形例を示す部分断面模式図である。
図1に示された半導体装置の第3変形例を示す部分断面模式図である。
図1に示された半導体装置の第4変形例を示す部分断面模式図である。
図1に示された半導体装置の第5変形例を示す部分断面模式図である。
図1に示された半導体装置の第6変形例を示す部分断面模式図である。
実施の形態2に係る半導体装置の部分拡大平面模式図である。
【発明を実施するための形態】
【0010】
以下、本開示の実施の形態を説明する。なお、同一の構成には同一の参照番号を付し、その説明は繰り返さない。
(【0011】以降は省略されています)
この特許をJ-PlatPat(特許庁公式サイト)で参照する
関連特許
三菱電機株式会社
扇風機
1か月前
三菱電機株式会社
換気扇
1か月前
三菱電機株式会社
冷蔵庫
1か月前
三菱電機株式会社
増幅器
1か月前
三菱電機株式会社
換気扇
1か月前
三菱電機株式会社
換気扇
1か月前
三菱電機株式会社
換気扇
7日前
三菱電機株式会社
冷蔵庫
14日前
三菱電機株式会社
電子機器
1か月前
三菱電機株式会社
照明器具
8日前
三菱電機株式会社
換気装置
6日前
三菱電機株式会社
照明装置
28日前
三菱電機株式会社
収集装置
1か月前
三菱電機株式会社
電気機器
14日前
三菱電機株式会社
半導体装置
1か月前
三菱電機株式会社
回路遮断器
22日前
三菱電機株式会社
半導体装置
1日前
三菱電機株式会社
半導体装置
1日前
三菱電機株式会社
半導体装置
14日前
三菱電機株式会社
空気調和機
1か月前
三菱電機株式会社
半導体装置
1か月前
三菱電機株式会社
保護リレー
1か月前
三菱電機株式会社
加熱調理器
22日前
三菱電機株式会社
電動送風機
6日前
三菱電機株式会社
空調システム
1か月前
三菱電機株式会社
貯湯式給湯機
1か月前
三菱電機株式会社
点検管理装置
1か月前
三菱電機株式会社
空気清浄装置
22日前
三菱電機株式会社
電力変換装置
1日前
三菱電機株式会社
ねじ締め装置
1か月前
三菱電機株式会社
位置算出装置
7日前
三菱電機株式会社
電力変換装置
1日前
三菱電機株式会社
制御システム
28日前
三菱電機株式会社
空調システム
1か月前
三菱電機株式会社
車両制御装置
6日前
三菱電機株式会社
照明システム
1か月前
続きを見る
他の特許を見る