TOP
|
特許
|
意匠
|
商標
特許ウォッチ
Twitter
他の特許を見る
10個以上の画像は省略されています。
公開番号
2025173337
公報種別
公開特許公報(A)
公開日
2025-11-27
出願番号
2024078883
出願日
2024-05-14
発明の名称
換気扇
出願人
三菱電機株式会社
代理人
個人
主分類
F24F
7/10 20060101AFI20251119BHJP(加熱;レンジ;換気)
要約
【課題】換気扇の停止時に副吸込口から副吸込ダクトへの空気の逆流を防ぐことができる換気扇を得ること。
【解決手段】換気扇100は、主吸込口1eと副吸込口1fと排気口1gとが形成された換気扇ボディ1と、主吸込口1eおよび副吸込口1fから排気口1gに向かう気流を生成するファン2と、換気扇ボディ1に着脱可能に取り付けられて排気側ダクト10と排気口1gとを連通する筒状の排気側ダクト接続部3と、換気扇ボディ1に着脱可能に取り付けられて副吸込側ダクト11と副吸込口1fとを連通する筒状の副吸込側ダクト接続部5とを備える。副吸込側ダクト接続部5の内部には、開閉可能な副吸込側シャッタ6が設置される。副吸込側シャッタ6は、換気扇100の運転時にファン2が生成する気流の吸気圧で開いて副吸込側ダクト11と副吸込口1fとの連通を許容し換気扇100の停止時に自重で閉じて副吸込側ダクト11と副吸込口1fとの連通を遮断する。
【選択図】図2
特許請求の範囲
【請求項1】
1つの部屋の空気を吸い込むための主吸込口と、前記主吸込口が空気を吸い込む前記部屋とは別室の空気を吸い込むための副吸込口と、吸い込んだ空気を排気するための排気口とが形成された箱状の換気扇ボディと、
前記換気扇ボディの内部に配置されて、前記主吸込口および前記副吸込口のそれぞれから前記排気口に向かう気流を生成するファンと、
前記換気扇ボディに着脱可能に取り付けられて、屋外に繋がる排気ダクトと前記排気口とを連通する筒状の排気側ダクト接続部と、
前記換気扇ボディに着脱可能に取り付けられて、前記別室に繋がる副吸込側ダクトと前記副吸込口とを連通する筒状の副吸込側ダクト接続部と、
を備え、
前記副吸込側ダクト接続部の内部には、開閉可能な副吸込側シャッタが設置され、
前記副吸込側シャッタは、換気扇の運転時に前記ファンが生成する気流の吸気圧で開いて前記副吸込側ダクトと前記副吸込口との連通を許容し、前記換気扇の停止時に自重で閉じて前記副吸込側ダクトと前記副吸込口との連通を遮断することを特徴とする換気扇。
続きを表示(約 820 文字)
【請求項2】
前記副吸込側ダクト接続部の内周面には、前記換気扇の停止時に前記副吸込側シャッタが自重で閉じた際に、前記副吸込側シャッタのうち前記副吸込側ダクトの方を向く面に接触することによって前記副吸込側シャッタの回転を規制するシャッタ止めが形成され、
前記副吸込側シャッタは、前記換気扇の運転時に前記吸気圧で開いた際に、前記シャッタ止めから離れることを特徴とする請求項1に記載の換気扇。
【請求項3】
前記副吸込側ダクト接続部の内部には、前記換気扇の停止時に前記副吸込側シャッタが自重で閉じた際に、前記副吸込側シャッタのうち前記副吸込側ダクトの方を向く面に接触することによって前記副吸込側シャッタの外れを防止するシャッタバーが形成されていることを特徴とする請求項1に記載の換気扇。
【請求項4】
前記副吸込側ダクト接続部の内周面には、2つの軸受部が形成され、
前記副吸込側シャッタは、
前記軸受部に回転可能に支持される回転軸と、
前記回転軸の回転に伴って回転可能であり、前記副吸込側ダクトと前記副吸込口との連通を許容する開位置と前記副吸込側ダクトと前記副吸込口との連通を遮断する閉位置とに回転するシャッタ本体と、
前記シャッタ本体に設けられた重りと、
を有し、
前記回転軸および前記重りは、前記副吸込側シャッタの重心位置よりも上側に設けられていることを特徴とする請求項1から3のいずれか1つに記載の換気扇。
【請求項5】
前記シャッタ本体の上縁の形状は、円弧形状であり、
前記重りは、前記回転軸よりも上側に設けられ、
前記重りの外周部のうち上部の形状は、前記シャッタ本体の上縁に沿った円弧形状であり、
前記重りの外周部のうち前記上部以外の形状は、直線形状であることを特徴とする請求項4に記載の換気扇。
発明の詳細な説明
【技術分野】
【0001】
本開示は、主吸込口および副吸込口が形成された換気扇に関する。
続きを表示(約 2,300 文字)
【背景技術】
【0002】
従来、箱状の換気扇ボディに吸込口および排気口を形成して、屋外に繋がる排気ダクトと排気口とを連通する筒状の排気側ダクト接続部を換気扇ボディに着脱可能に取り付けた換気扇が知られている。換気扇の運転時には、室内の空気が吸込口から換気扇ボディの内部に吸い込まれ、吸い込まれた室内の空気は、排気口、排気側ダクト接続部および排気ダクトを通じて屋外へと排気される。
【0003】
排気側ダクト接続部の内部には、一般に、開閉可能な排気側シャッタが設置されている。例えば、特許文献1には、換気扇の運転時に排気圧で開いて排気口と排気側ダクトとの連通を許容し、換気扇の停止時に自重で閉じて排気口と排気側ダクトとの連通を遮断する排気側シャッタが開示されている。排気側ダクト接続部の内部に排気側シャッタを設置することにより、換気扇の停止時に排気ダクトから排気口への空気の逆流を防ぐことができるため、外気が排気側ダクトを通じて室内に侵入することを防止できる。
【0004】
換気扇の中には、換気扇ボディに2つ以上の吸込口が形成されて2部屋以上を換気する機能を持つ換気扇が存在する。この種の換気扇では、例えば、1つの部屋の空気を吸い込むための主吸込口と別室の空気を吸い込むための副吸込口とが換気扇ボディに形成され、別室に繋がる副吸込側ダクトと副吸込口とを連通する筒状の副吸込側ダクト接続部が換気扇ボディに着脱可能に取り付けられている。
【先行技術文献】
【特許文献】
【0005】
特許第6735906号公報
【発明の概要】
【発明が解決しようとする課題】
【0006】
換気扇の停止時に副吸込口から副吸込ダクトへの空気の逆流が生じると、換気扇の運転時に吸い込まれた空気が副吸込ダクトを通じて別室に侵入するという問題がある。特許文献1には、1つの部屋を換気する機能を持つ換気扇の排気側ダクト接続部および排気側シャッタについては開示されているものの、2部屋以上を換気する機能を持つ換気扇については開示されていないし、副吸込側ダクト接続部および副吸込側ダクト接続部の内部にシャッタを設けることについても開示されていない。副吸込側ダクト接続部と排気側ダクト接続部とでは、空気の流れる向きが異なるし、形状も異なるため、排気側シャッタと同じ構成のシャッタをそのまま副吸込側ダクト接続部の内部に設置することは困難である。そこで、換気扇の停止時に副吸込口から副吸込ダクトへの空気の逆流を防ぐことができるシャッタを備えた換気扇の開発が望まれている。
【0007】
本開示は、上記に鑑みてなされたものであって、換気扇の停止時に副吸込口から副吸込ダクトへの空気の逆流を防ぐことができる換気扇を得ることを目的とする。
【課題を解決するための手段】
【0008】
上述した課題を解決し、目的を達成するために、本開示にかかる換気扇は、箱状の換気扇ボディと、ファンと、筒状の排気側ダクト接続部と、筒状の副吸込側ダクト接続部とを備えている。換気扇ボディには、1つの部屋の空気を吸い込むための主吸込口と、主吸込口が空気を吸い込む部屋とは別室の空気を吸い込むための副吸込口と、吸い込んだ空気を排気するための排気口とが形成されている。ファンは、換気扇ボディの内部に配置されて、主吸込口および副吸込口のそれぞれから排気口に向かう気流を生成する。排気側ダクト接続部は、換気扇ボディに着脱可能に取り付けられて、屋外に繋がる排気ダクトと排気口とを連通する。副吸込側ダクト接続部は、換気扇ボディに着脱可能に取り付けられて、別室に繋がる副吸込側ダクトと副吸込口とを連通する。副吸込側ダクト接続部の内部には、開閉可能な副吸込側シャッタが設置されている。副吸込側シャッタは、換気扇の運転時にファンが生成する気流の吸気圧で開いて副吸込側ダクトと副吸込口との連通を許容し、換気扇の停止時に自重で閉じて副吸込側ダクトと副吸込口との連通を遮断する。
【発明の効果】
【0009】
本開示によれば、換気扇の停止時に副吸込口から副吸込ダクトへの空気の逆流を防ぐことができる、という効果を奏する。
【図面の簡単な説明】
【0010】
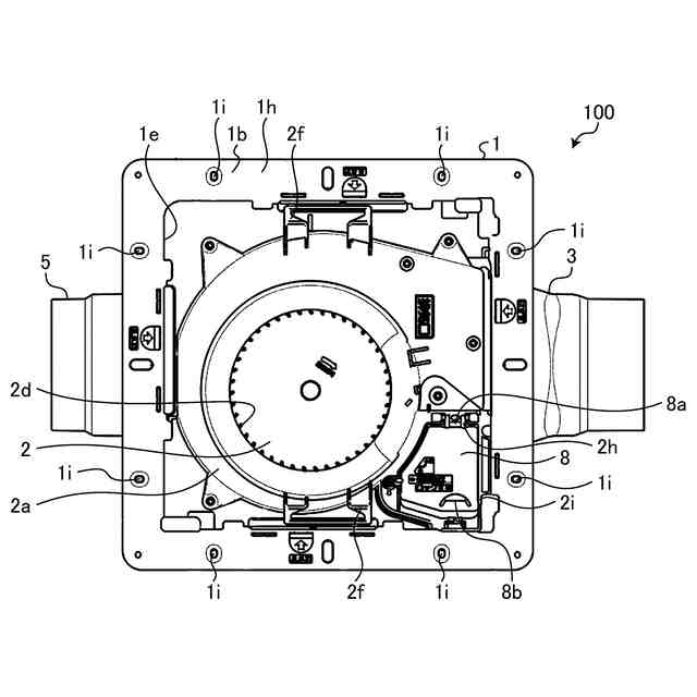
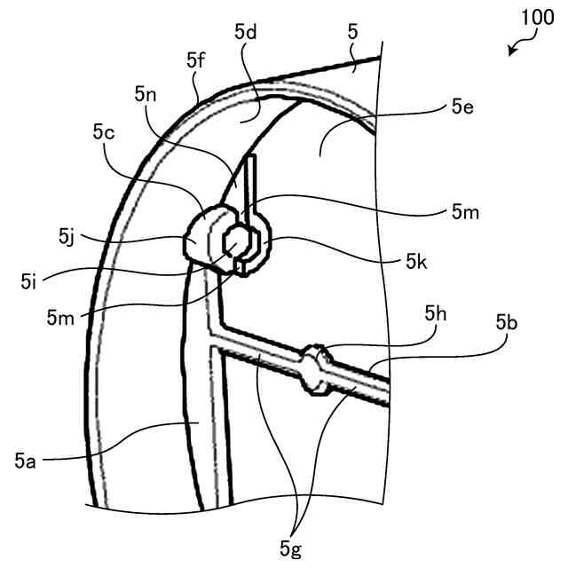
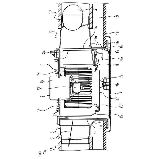
実施の形態1にかかる換気扇を模式的に示した図
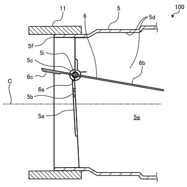
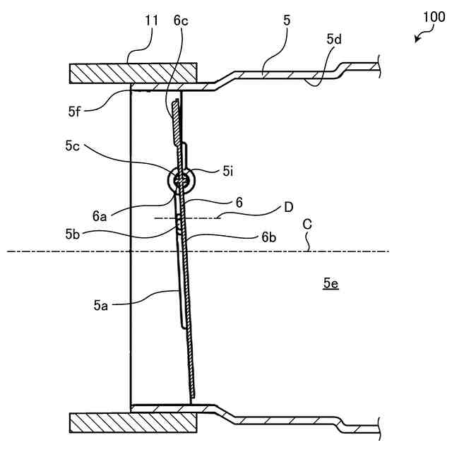
実施の形態1にかかる換気扇の取り付け状態を示す鉛直断面図
実施の形態1にかかる換気扇を示す下面図であって、化粧グリルが装着されていない状態であり端子カバーが閉じた状態を示す図
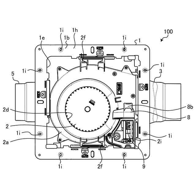
実施の形態1にかかる換気扇を示す下面図であって、化粧グリルが装着されていない状態であり端子カバーが開いた状態を示す図
実施の形態1における副吸込側ダクト接続部を副吸込側ダクト側から見た状態を示す正面図
図5に示される状態から副吸込側シャッタを省略した状態を示す正面図
実施の形態1における副吸込側ダクト接続部のシャッタ止めとシャッタバーと軸受部とを示す斜視図
実施の形態1にかかる換気扇の運転時に副吸込側シャッタが開いた状態を示す鉛直断面図であって、図5に示されるIX-IX線に沿った断面図に相当する図
実施の形態1にかかる換気扇の停止時に副吸込側シャッタが閉じた状態を示す鉛直断面図であって、図5に示されるIX-IX線に沿った断面図
【発明を実施するための形態】
(【0011】以降は省略されています)
この特許をJ-PlatPat(特許庁公式サイト)で参照する
関連特許
三菱電機株式会社
扇風機
1か月前
三菱電機株式会社
増幅器
1か月前
三菱電機株式会社
換気扇
1か月前
三菱電機株式会社
換気扇
1か月前
三菱電機株式会社
換気扇
1か月前
三菱電機株式会社
冷蔵庫
9日前
三菱電機株式会社
冷蔵庫
1か月前
三菱電機株式会社
換気扇
2日前
三菱電機株式会社
照明装置
23日前
三菱電機株式会社
電子機器
1か月前
三菱電機株式会社
回転電機
2か月前
三菱電機株式会社
照明器具
3日前
三菱電機株式会社
収集装置
1か月前
三菱電機株式会社
電気機器
9日前
三菱電機株式会社
換気装置
1日前
三菱電機株式会社
半導体装置
9日前
三菱電機株式会社
加熱調理器
2か月前
三菱電機株式会社
保護リレー
1か月前
三菱電機株式会社
加熱調理器
17日前
三菱電機株式会社
半導体装置
1か月前
三菱電機株式会社
電動送風機
1日前
三菱電機株式会社
回路遮断器
17日前
三菱電機株式会社
半導体装置
2か月前
三菱電機株式会社
空気調和機
1か月前
三菱電機株式会社
半導体装置
1か月前
三菱電機株式会社
光源デバイス
23日前
三菱電機株式会社
照明システム
1か月前
三菱電機株式会社
炊飯システム
1か月前
三菱電機株式会社
空気清浄装置
17日前
三菱電機株式会社
車両制御装置
1日前
三菱電機株式会社
空調システム
25日前
三菱電機株式会社
貯湯式給湯機
1か月前
三菱電機株式会社
調理システム
1か月前
三菱電機株式会社
貯湯式給湯機
23日前
三菱電機株式会社
空調システム
1か月前
三菱電機株式会社
ねじ締め装置
1か月前
続きを見る
他の特許を見る