TOP
|
特許
|
意匠
|
商標
特許ウォッチ
Twitter
他の特許を見る
10個以上の画像は省略されています。
公開番号
2025156817
公報種別
公開特許公報(A)
公開日
2025-10-15
出願番号
2024059511
出願日
2024-04-02
発明の名称
換気扇
出願人
三菱電機株式会社
代理人
個人
主分類
F24C
15/20 20060101AFI20251007BHJP(加熱;レンジ;換気)
要約
【課題】給気ダクトと給気チャンバーとの位置ずれが生じても給気接続口への給気ダクトの配管作業を容易に行える換気扇を得ること。
【解決手段】レンジ1は、調理排気を吸い込む吸込口6と、調理排気を吹き出す吹出口7とが設けられた筐体3と、筐体3の天面の上部に固定され、前面に給気口10が形成され、給気ダクト11が接続されるダクト接続口13が複数の面に形成された直方体状の給気チャンバー12と、ダクト接続口13に取り付けられて給気ダクト11と給気チャンバー12とを連結するアタッチメント14とを備え、給気チャンバー12は、筐体3に対する固定位置を左右方向に調整可能であり、アタッチメント14は、給気チャンバー12に対する固定位置を上下方向及び左右方向に調整可能である。
【選択図】図2
特許請求の範囲
【請求項1】
調理排気を吸い込む吸込口と、前記調理排気を吹き出す吹出口とが設けられた筐体と、
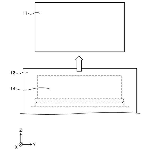
前記筐体の天面の上部に固定され、前面に給気口が形成され、給気ダクトが接続される給気ダクト接続口が複数の面に形成された直方体状の給気チャンバーと、
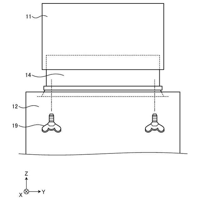
前記給気ダクト接続口に取り付けられて前記給気ダクトと前記給気チャンバーとを連結するアタッチメントとを備え、
前記給気チャンバーは、前記筐体に対する固定位置を左右方向に調整可能であり、
前記アタッチメントは、前記給気チャンバーに対する固定位置を上下方向及び左右方向に調整可能であることを特徴とする換気扇。
続きを表示(約 260 文字)
【請求項2】
前記給気チャンバーの底面には、横長形状穴が形成されており、
前記給気チャンバーは、前記横長形状穴を通したネジによって前記筐体にネジ止めされることを特徴とする請求項1に記載の換気扇。
【請求項3】
前記筐体は、排気ダクトが接続される排気ダクト接続口を有し、
前記給気チャンバーは、前記筐体に対する固定位置を、左右方向における前記給気ダクト接続口と前記排気ダクト接続口との距離が250mm以上となる位置に調整可能であることを特徴とする請求項1又は2に記載の換気扇。
発明の詳細な説明
【技術分野】
【0001】
本開示は、調理排気を屋外へ排気する換気扇に関する。
続きを表示(約 1,500 文字)
【背景技術】
【0002】
調理器具を用いて加熱調理を行う際には、油煙、水蒸気、臭気及び熱気等を含む調理排気が発生する。このため、調理排気を屋外へ排気するために換気扇が用いられる。
【0003】
特許文献1には、排気ダクトが接続される送風ボックスと、外気導入用の給気ダクトが接続される給気チャンバーとを横並びに配置した同時給排型の換気扇であるレンジフードが開示されている。
【先行技術文献】
【特許文献】
【0004】
特開2007-93154号公報
【発明の概要】
【発明が解決しようとする課題】
【0005】
しかしながら、上記特許文献1に開示される換気扇は、給気ダクトの位置ずれにより給気チャンバーの給気接続口への給気ダクトの配管作業が困難になる場合があるという問題があった。
【0006】
本開示は、上記に鑑みてなされたものであって、給気ダクトと給気チャンバーとの位置ずれが生じても給気接続口への給気ダクトの配管作業を容易に行える換気扇を得ることを目的とする。
【課題を解決するための手段】
【0007】
上述した課題を解決し、目的を達成するために、本開示に係る換気扇は、調理排気を吸い込む吸込口と、調理排気を吹き出す吹出口とが設けられた筐体と、筐体の天面の上部に固定され、前面に給気口が形成され、給気ダクトが接続される給気ダクト接続口が複数の面に形成された直方体状の給気チャンバーと、給気ダクト接続口に取り付けられて給気ダクトと前記給気チャンバーとを連結するアタッチメントとを備える。給気チャンバーは、筐体に対する固定位置を左右方向に調整可能であり、アタッチメントは、前記給気チャンバーに対する固定位置を上下方向及び左右方向に調整可能である。
【発明の効果】
【0008】
本開示によれば、給気ダクトと給気チャンバーとの位置ずれが生じても給気接続口への給気ダクトの配管作業を容易に行える換気扇を得られるという効果を奏する。
【図面の簡単な説明】
【0009】
実施の形態1に係るレンジの斜視図
実施の形態1に係るレンジの側面拡大図
実施の形態1に係るレンジの側面図
実施の形態1に係るレンジの突出部の寸法関係を示す図
実施の形態1に係るレンジの背面側の斜視図
実施の形態1に係るレンジのアタッチメントの取り付け方法を示す図
実施の形態1に係るレンジの給気チャンバーの斜視図
実施の形態1に係るレンジのアタッチメントの固定方法を示す図
実施の形態2に係るレンジの給気チャンバーの斜視図
実施の形態2に係るレンジの給気チャンバーの取り付け方法を示す図
実施の形態2に係るレンジのアタッチメントの取り付け方法を示す図
実施の形態2に係るレンジの上面図
実施の形態3に係るレンジの側面図
実施の形態3に係るレンジの筐体と給気チャンバーとの接続部分の拡大側面図
実施の形態3に係るレンジの筐体と給気チャンバーとの接続部の拡大断面図
実施の形態3に係るレンジの給気チャンバーに支えネジを取り付けた状態を示す断面図
【発明を実施するための形態】
【0010】
以下に、実施の形態に係る換気扇を図面に基づいて詳細に説明する。なお、以下の各図面に示す各部材の縮尺は一例であり、各部材の寸法比率は実際とは異なる場合がある。各図面間においても同様である。
(【0011】以降は省略されています)
この特許をJ-PlatPat(特許庁公式サイト)で参照する
関連特許
三菱電機株式会社
増幅器
12日前
三菱電機株式会社
冷蔵庫
8日前
三菱電機株式会社
扇風機
6日前
三菱電機株式会社
空気調和機
14日前
三菱電機株式会社
保護リレー
7日前
三菱電機株式会社
半導体装置
7日前
三菱電機株式会社
調理システム
8日前
三菱電機株式会社
貯湯式給湯機
8日前
三菱電機株式会社
炊飯システム
8日前
三菱電機株式会社
空調システム
12日前
三菱電機株式会社
ねじ締め装置
12日前
三菱電機株式会社
点検管理装置
6日前
三菱電機株式会社
貯湯式給湯機
9日前
三菱電機株式会社
空調システム
1日前
三菱電機株式会社
樹脂成形用金型
12日前
三菱電機株式会社
道路情報補正装置
14日前
三菱電機株式会社
運転支援システム
6日前
三菱電機株式会社
ヒートポンプ装置
15日前
三菱電機株式会社
レンズモジュール
19日前
三菱電機株式会社
電池パック及び電池
14日前
三菱電機株式会社
人流情報取得システム
8日前
三菱電機株式会社
点灯装置および照明器具
19日前
三菱電機株式会社
高周波増幅器モジュール
9日前
三菱電機株式会社
点灯装置および照明装置
6日前
三菱電機株式会社
遠心送風機および換気機器
今日
三菱電機株式会社
半導体装置及び電力変換装置
9日前
三菱電機株式会社
配光制御レンズ及び照明装置
12日前
三菱電機株式会社
プロペラファン、及び送風機
8日前
三菱電機株式会社
食事支援システム及び炊飯器
今日
三菱電機株式会社
制御システム、及び、表示方法
12日前
三菱電機株式会社
半導体装置および電力変換装置
15日前
三菱電機株式会社
冷凍サイクル装置及び制御装置
12日前
三菱電機株式会社
満空検知システム、および、判定機
15日前
三菱電機株式会社
換気装置、熱交換型換気装置及び送風装置
9日前
三菱電機株式会社
コンタクトプローブおよび半導体検査装置
15日前
三菱電機株式会社
セラミック複合体および飛翔体用レドーム
12日前
続きを見る
他の特許を見る