TOP
|
特許
|
意匠
|
商標
特許ウォッチ
Twitter
他の特許を見る
公開番号
2025166626
公報種別
公開特許公報(A)
公開日
2025-11-06
出願番号
2024070791
出願日
2024-04-24
発明の名称
光源デバイス
出願人
三菱電機株式会社
代理人
弁理士法人高田・高橋国際特許事務所
主分類
F21S
6/00 20060101AFI20251029BHJP(照明)
要約
【課題】水分の侵入を長期間にわたって防止することのできる光源デバイスを提供する。
【解決手段】本開示に係る光源デバイスは、複数の筐体構成部品(ケース7、ガラス蓋6)によって周囲を密閉された空間に光源(光源部品2)を有する光源デバイス90であって、筐体構成部品(ケース7)と筐体構成部品(ガラス蓋6)との合わせ面に、ゴム材料からなる第一のシーリング材9と、第一のシーリング材9に隣接し、金属、セラミックスまたはガラスからなるスペーサ11とが設けられているものである。
【選択図】図1
特許請求の範囲
【請求項1】
複数の筐体構成部品によって周囲を密閉された空間に光源を有する光源デバイスであって、
前記筐体構成部品と前記筐体構成部品との合わせ面に、ゴム材料からなる第一のシーリング材と、前記第一のシーリング材に隣接し、金属、セラミックスまたはガラスからなるスペーサとが設けられている光源デバイス。
続きを表示(約 580 文字)
【請求項2】
前記合わせ面に、前記スペーサに隣接し、ゴム材料からなる第二のシーリング材が設けられている請求項1に記載の光源デバイス。
【請求項3】
前記合わせ面において、一方の前記筐体構成部品に凹部が設けられ、他方の前記筐体構成部品に凸部が設けられ、前記凹部と前記凸部とが互いにかみ合う構造を有し、
前記凹部の深さ及び前記凸部の高さが、前記シーリング材の厚さよりも大きい請求項1または請求項2に記載の光源デバイス。
【請求項4】
前記凹部及び前記凸部の組が複数設けられている請求項3に記載の光源デバイス。
【請求項5】
前記合わせ面において、少なくとも一方の前記筐体構成部品に凹部が設けられ、前記凹部の内部が前記シーリング材で埋められている請求項1または請求項2に記載の光源デバイス。
【請求項6】
前記合わせ面において、一方の前記筐体構成部品に第一凹部が設けられ、他方の前記筐体構成部品に、前記第一凹部と向かい合う第二凹部が設けられ、
前記第一凹部と前記第二凹部の内部が前記シーリング材で埋められている請求項1または請求項2に記載の光源デバイス。
【請求項7】
前記スペーサが前記筐体構成部品と一体に形成されている請求項1または請求項2に記載の光源デバイス。
発明の詳細な説明
【技術分野】
【0001】
本開示は、光源デバイスに関する。
続きを表示(約 1,200 文字)
【背景技術】
【0002】
例えば集魚灯のように外部が水で満たされる光源デバイスに対し、水の浸入による電子部品の故障を防止するため、防水措置がとられる。下記特許文献1に開示された従来の光源デバイスでは、ゴム材をシーリング材として使用した密閉ケース内に、通気性のある容器を設け、容器の内部にシリカゲル等の乾燥剤を入れて水分を吸収させる。これにより、電子部品の故障を防止する。
【先行技術文献】
【特許文献】
【0003】
特開2013-4510号公報
【発明の概要】
【発明が解決しようとする課題】
【0004】
しかしながら、常時水中に設置される場合など、水との接触時間が長期間(数年~)となる光源デバイスの場合は、水がシーリング材内部に拡散してデバイス内部へ透過することにより、電子部品の結露または故障が発生する懸念がある。したがって、水がデバイス内部へ透過するのを抑制する構成が必要である。
【0005】
本開示は、上述のような課題を解決するためになされた。本開示の目的は、水分の侵入を長期間にわたって防止することのできる光源デバイスを提供することである。
【課題を解決するための手段】
【0006】
本開示に係る光源デバイスは、複数の筐体構成部品によって周囲を密閉された空間に光源を有する光源デバイスであって、筐体構成部品と筐体構成部品との合わせ面に、ゴム材料からなる第一のシーリング材と、第一のシーリング材に隣接し、金属、セラミックスまたはガラスからなるスペーサとが設けられているものである。
【発明の効果】
【0007】
本開示によれば、水分の侵入を長期間にわたって防止することのできる光源デバイスを提供することが可能となる。
【図面の簡単な説明】
【0008】
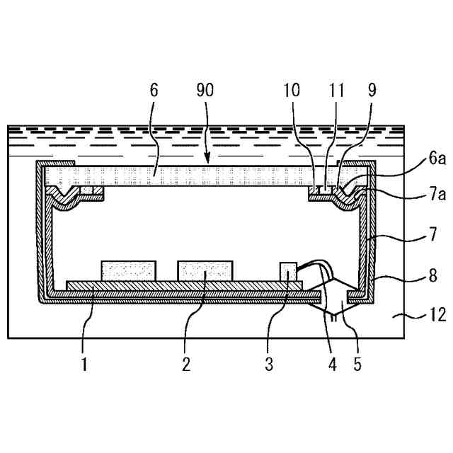
実施の形態1に係る光源デバイスを示す断面図である。
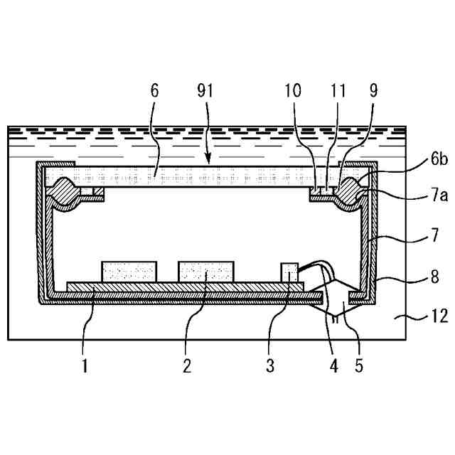
実施の形態2に係る光源デバイスを示す断面図である。
【発明を実施するための形態】
【0009】
以下、図面を参照して実施の形態について説明する。各図において共通または対応する要素には、同一の符号を付して、説明を簡略化または省略する。以下に示す実施の形態に示した構成は、本開示に係る技術的思想の一例を示すものであり、別の公知の技術と組み合わせることも可能であるし、本開示に記載の複数の技術的思想を組み合わせることも可能である。また、本開示の要旨を逸脱しない範囲で、構成の一部を省略または変更することも可能である。
【0010】
実施の形態1.
図1は、実施の形態1に係る光源デバイス90を示す断面図である。図1に示すように、光源デバイス90は、筐体構成部品であるケース7と、ケース7の内部に設置された電子基板1とを有する。電子基板1には、光源部品2と、コネクタ3とが実装されている。
(【0011】以降は省略されています)
この特許をJ-PlatPat(特許庁公式サイト)で参照する
関連特許
個人
室外機器
5か月前
個人
照明装置
1か月前
個人
照明システム
5か月前
個人
消火器設置表示装置
1か月前
個人
車載機器の通気構造
3か月前
株式会社遠藤照明
照明装置
2か月前
個人
LEDライト
5か月前
株式会社小糸製作所
車両用灯具
2か月前
デンカ株式会社
照明装置
5か月前
株式会社小糸製作所
車両用灯具
2か月前
日亜化学工業株式会社
面状光源
12日前
能美防災株式会社
表示灯
3か月前
デンカ株式会社
道路用照明
5か月前
スタンレー電気株式会社
照射用光源
2か月前
株式会社小糸製作所
誘導装置
2か月前
株式会社小糸製作所
投光装置
3か月前
フルトラム株式会社
光学機器
2か月前
アクア株式会社
冷蔵庫
4か月前
株式会社小糸製作所
投光装置
3か月前
株式会社小糸製作所
表示用灯具
2か月前
株式会社小糸製作所
車両用灯具
5か月前
株式会社小糸製作所
車両用灯具
4日前
株式会社小糸製作所
表示用灯具
2か月前
株式会社小糸製作所
車両用灯具
5か月前
株式会社小糸製作所
車両用灯具
5か月前
株式会社小糸製作所
車両用灯具
1か月前
株式会社小糸製作所
車両用灯具
1か月前
株式会社小糸製作所
車両用灯具
5か月前
株式会社小糸製作所
車両用灯具
1か月前
株式会社小糸製作所
車両用灯具
1か月前
株式会社小糸製作所
車両用灯具
5か月前
株式会社小糸製作所
車両用灯具
1か月前
株式会社ユーシン
表示・照明装置
2か月前
オムロン株式会社
発光エンブレム
1か月前
東芝ライテック株式会社
照明装置
4か月前
株式会社パクマケ
スポットライト
5か月前
続きを見る
他の特許を見る