TOP
|
特許
|
意匠
|
商標
特許ウォッチ
Twitter
他の特許を見る
公開番号
2025162774
公報種別
公開特許公報(A)
公開日
2025-10-28
出願番号
2024066192
出願日
2024-04-16
発明の名称
炊飯システム
出願人
三菱電機株式会社
,
三菱電機ホーム機器株式会社
代理人
弁理士法人高田・高橋国際特許事務所
主分類
A47J
27/00 20060101AFI20251021BHJP(家具;家庭用品または家庭用設備;コーヒーひき;香辛料ひき;真空掃除機一般)
要約
【課題】米飯の冷却を行うことが可能な炊飯器をユーザが使いやすくすることを効果的に支援する。
【解決手段】
本開示に係る炊飯システムは、米および水を含む被加熱物を収容する容器と、容器内の被加熱物を加熱して米飯を炊き上げて炊き上げた米飯の保温および冷却が可能な加熱冷却手段と、を備える。本開示に係る炊飯システムは、加熱冷却手段によって米飯が冷却される前に加熱冷却手段によって米飯が保温される時間をユーザが設定可能な設定手段、および、加熱冷却手段によって米飯が冷却されている際に米飯の炊き上げの完了からの経過時間を表示する表示手段、の少なくとも一方を備えることを特徴とするものである。
【選択図】図4
特許請求の範囲
【請求項1】
米および水を含む被加熱物を収容する容器と、
前記容器内の前記被加熱物を加熱して米飯を炊き上げて炊き上げた米飯の保温および冷却が可能な加熱冷却手段と、
を備え、
前記加熱冷却手段によって前記米飯が冷却される前に前記加熱冷却手段によって前記米飯が保温される時間をユーザが設定可能な設定手段、および、前記加熱冷却手段によって前記米飯が冷却されている際に前記米飯の炊き上げの完了からの経過時間を表示する表示手段、の少なくとも一方を備えることを特徴とする炊飯システム。
続きを表示(約 680 文字)
【請求項2】
前記設定手段および表示手段の両方を備えることを特徴とする請求項1に記載の炊飯システム。
【請求項3】
前記加熱冷却手段は、前記米飯を10℃以下の温度に保冷することを特徴とする請求項1または請求項2に記載の炊飯システム。
【請求項4】
前記加熱冷却手段は、前記米飯をマイナス1℃以上で10℃以下の温度に保冷することを特徴とする請求項1または請求項2に記載の炊飯システム。
【請求項5】
前記表示手段は、前記加熱冷却手段によって前記米飯が冷却されている際に、前記加熱冷却手段によって前記米飯が保温された時間を表示することを特徴とする請求項2に記載の炊飯システム。
【請求項6】
前記表示手段は、前記加熱冷却手段によって前記米飯が冷却されている時間を表示することを特徴とする請求項2に記載の炊飯システム。
【請求項7】
前記米飯の炊き上げの完了からの経過時間、前記加熱冷却手段による前記米飯の保温の開始からの経過時間、および、前記加熱冷却手段による前記米飯の冷却の開始からの経過時間、の少なくとも1つが基準以上になると報知を行う報知手段を備えることを特徴とする請求項1または請求項2に記載の炊飯システム。
【請求項8】
前記表示手段は、前記加熱冷却手段によって前記米飯が保温されている際、および、前記加熱冷却手段によって前記米飯が冷却されている際、の少なくとも一方において前記容器内の前記米飯の量を表示することを特徴とする請求項2に記載の炊飯システム。
発明の詳細な説明
【技術分野】
【0001】
本開示は、炊飯システムに関するものである。
続きを表示(約 1,500 文字)
【背景技術】
【0002】
特許文献1に、米飯を長時間保存することを目的とした炊飯器が記載されている。この炊飯器は、炊き上げられた米飯の冷却を行う手段を備えるものである。
【先行技術文献】
【特許文献】
【0003】
特開平7-204091号公報
【発明の概要】
【発明が解決しようとする課題】
【0004】
上記の特許文献1に記載の炊飯器においては、ユーザインタフェースが十分に考慮されておらず、使い勝手が悪いという課題があった。
【0005】
本開示は、上記のような課題を解決するためのものである。本開示の目的は、米飯の冷却を行うことが可能な炊飯器をユーザが使いやすくすることを効果的に支援することである。
【課題を解決するための手段】
【0006】
本開示に係る炊飯システムは、米および水を含む被加熱物を収容する容器と、前記容器内の前記被加熱物を加熱して米飯を炊き上げて炊き上げた米飯の保温および冷却が可能な加熱冷却手段と、を備える。本開示に係る炊飯システムは、前記加熱冷却手段によって前記米飯が冷却される前に前記加熱冷却手段によって前記米飯が保温される時間をユーザが設定可能な設定手段、および、前記加熱冷却手段によって前記米飯が冷却されている際に前記米飯の炊き上げの完了からの経過時間を表示する表示手段、の少なくとも一方を備えることを特徴とするものである。
【発明の効果】
【0007】
本開示に係る炊飯システムによれば、米飯の冷却を行うことが可能な炊飯器をユーザが使いやすくすることを効果的に支援することができる。
【図面の簡単な説明】
【0008】
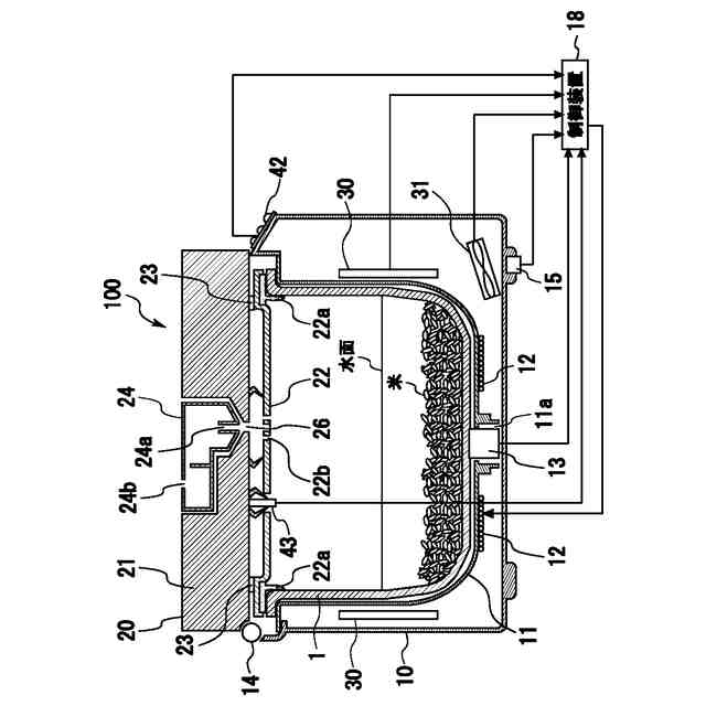
実施の形態1の炊飯器の断面構造に制御系統の構成を併せて示す概略図である。
実施の形態1の炊飯器の制御部の構成例を示す機能ブロック図である。
実施の形態1の炊飯システムの動作例を示すフローチャートである。
実施の形態1の炊飯システムの炊飯設定を行うスマートフォンのアプリ画面の例を示す図である。
実施の形態1の炊飯システムにおいて、炊飯設定の入力が完了してから炊飯工程が開始するまでの期間におけるスマートフォンのアプリ画面の例を示す図である。
実施の形態1の炊飯システムにおいて、保温工程の実行中のスマートフォンのアプリ画面の例を示す図である。
実施の形態1の炊飯システムにおいて、保冷工程の実行中のスマートフォンのアプリ画面の例を示す図である。
実施の形態1の炊飯システムにおいて、保冷工程の実行中にユーザに報知を行うスマートフォンのアプリ画面の例を示す図である。
【発明を実施するための形態】
【0009】
以下、添付の図面を参照して、本開示に係る炊飯システムの実施の形態について説明する。各図における同一の符号は、同一の部分または相当する部分を示す。また、本開示では、重複する説明については、適宜に簡略化または省略する。なお、本開示は、その趣旨を逸脱しない範囲において、以下の実施の形態によって開示される構成のあらゆる変形およびあらゆる組み合わせを含み得るものである。
【0010】
実施の形態1.
図1は、実施の形態1の炊飯器100の断面構造に制御系統の構成を併せて示す概略図である。図1に示すように、炊飯器100は、鍋状容器1、本体10および蓋体20を備えている。
(【0011】以降は省略されています)
この特許をJ-PlatPat(特許庁公式サイト)で参照する
関連特許
三菱電機株式会社
扇風機
2日前
三菱電機株式会社
換気扇
17日前
三菱電機株式会社
増幅器
8日前
三菱電機株式会社
冷蔵庫
4日前
三菱電機株式会社
換気扇
17日前
三菱電機株式会社
換気扇
17日前
三菱電機株式会社
収集装置
15日前
三菱電機株式会社
電子機器
18日前
三菱電機株式会社
空気調和機
10日前
三菱電機株式会社
半導体装置
23日前
三菱電機株式会社
半導体装置
3日前
三菱電機株式会社
保護リレー
3日前
三菱電機株式会社
点検管理装置
2日前
三菱電機株式会社
調理システム
4日前
三菱電機株式会社
貯湯式給湯機
4日前
三菱電機株式会社
炊飯システム
4日前
三菱電機株式会社
ねじ締め装置
8日前
三菱電機株式会社
空調システム
8日前
三菱電機株式会社
貯湯式給湯機
5日前
三菱電機株式会社
照明システム
23日前
三菱電機株式会社
樹脂成形用金型
8日前
三菱電機株式会社
電動機制御装置
29日前
三菱電機株式会社
誘導加熱調理器
17日前
三菱電機株式会社
換気空調システム
1か月前
三菱電機株式会社
照明制御システム
1か月前
三菱電機株式会社
電流切替型DAC
23日前
三菱電機株式会社
道路情報補正装置
10日前
三菱電機株式会社
ヒートポンプ装置
11日前
三菱電機株式会社
全館空調システム
15日前
三菱電機株式会社
レンズモジュール
15日前
三菱電機株式会社
風力発電システム
1か月前
三菱電機株式会社
運転支援システム
2日前
三菱電機株式会社
電池パック及び電池
10日前
三菱電機株式会社
保護継電器及び配電盤
17日前
三菱電機株式会社
人流情報取得システム
4日前
三菱電機株式会社
高周波増幅器モジュール
5日前
続きを見る
他の特許を見る