TOP
|
特許
|
意匠
|
商標
特許ウォッチ
Twitter
他の特許を見る
公開番号
2025170832
公報種別
公開特許公報(A)
公開日
2025-11-20
出願番号
2024075603
出願日
2024-05-08
発明の名称
電磁波発生装置
出願人
三菱電機株式会社
代理人
弁理士法人ぱるも特許事務所
主分類
H01J
23/12 20060101AFI20251113BHJP(基本的電気素子)
要約
【課題】導波管内の真空を保持した状態で導波管内部の陽極の位置を調整できる電磁波発生装置を提供する。
【解決手段】陰極1と、陰極に対向して配置された第1陽極2と、第1陽極の陰極とは反対側に配置された導波管3と、導波管の内部に設置された少なくとも1個の第2陽極212、222と、導波管の外部に設置され第2陽極を導波管の管軸と平行な方向に移動させる駆動機構51、52と、導波管の管軸と平行な方向に設けられたスリットを貫通し第2陽極と駆動機構とを締結する締結部材と、内部を真空に保持する真空容器4とを備えた電磁波発生装置100において、締結部材の導波管の外部に位置する部分が導電性の遮蔽板31、32で遮蔽されている。
【選択図】図1
特許請求の範囲
【請求項1】
陰極と、
前記陰極に対向して配置され電子が通過可能な第1陽極と、
前記第1陽極の前記陰極とは反対側に配置された電磁波を導波する中空の導波管と、
前記導波管の内部に設置された少なくとも1個の第2陽極と、
前記導波管の外部に設置され前記第2陽極を前記導波管の管軸と平行な方向に移動させる駆動機構と、
前記導波管の管軸と平行な方向に設けられたスリットを貫通し前記第2陽極と前記駆動機構とを締結する締結部材と、
前記陰極、前記第1陽極、前記導波管、前記第2陽極、前記駆動機構および前記締結部材を内部に密閉して真空に保持する真空容器とを備えた電磁波発生装置において、
前記締結部材の前記導波管の外部に位置する部分が導電性の遮蔽部材で遮蔽されていることを特徴とする電磁波発生装置。
続きを表示(約 680 文字)
【請求項2】
前記遮蔽部材は、前記導波管に設けられた前記スリットの外周側に配置された導電性の遮蔽板であることを特徴する請求項1に記載の電磁波発生装置。
【請求項3】
前記遮蔽部材は、前記導波管に設けられた前記スリットの内周側に配置された導電性の遮蔽板であることを特徴する請求項1に記載の電磁波発生装置。
【請求項4】
前記遮蔽部材は、前記導波管に設けられた前記スリットの内部に配置された導電性の充填部材であることを特徴する請求項1に記載の電磁波発生装置。
【請求項5】
陰極と、
前記陰極に対向して配置され電子が通過可能な第1陽極と、
前記第1陽極の前記陰極とは反対側に配置された電磁波を導波する中空の導波管と、
前記導波管の内部に設置された少なくとも1個の第2陽極と、
前記導波管の外部に設置され前記第2陽極を前記導波管の管軸と平行な方向に移動させる駆動機構と、
前記導波管に設けられた管軸と平行な方向に延びるスリットを貫通し前記第2陽極と前記駆動機構とを締結する締結部材と、
前記陰極、前記第1陽極、前記導波管、前記第2陽極、前記駆動機構および前記締結部材を内部に密閉して真空に保持する真空容器とを備えた電磁波発生装置において、
前記導波管の外周側の前記真空容器と前記導波管との間に、前記第1陽極と前記第2陽極との間に生成される仮想陰極から出射される電磁波の共振周波数を変更する共振周波数変更板を有することを特徴とする電磁波発生装置。
発明の詳細な説明
【技術分野】
【0001】
本開示は、電磁波発生装置に関する。
続きを表示(約 1,700 文字)
【背景技術】
【0002】
高出力の電磁波を発生させる電磁波発生装置として、仮想陰極発振器(バーカトール、Vircator)と呼ばれる電子管が知られている。仮想陰極発振器では、真空に保たれた導波管内に空間電荷制限電流を越える電子ビームを入射する。このように入射した電子は、導波管内部で密集して仮想陰極を形成する。形成された仮想陰極は、導波管内で時間的、空間的に電子を振動させる。仮想陰極発振器は、この電子の振動により、高出力なパルス状の電磁波(電磁パルス)を発生させる(例えば、特許文献1参照)。
【0003】
仮想陰極発振器を高出力にする技術として、仮想陰極発振器の導波管内部に、1つ以上の、電子は透過し電磁波を反射する陽極を設ける技術がある(例えば、特許文献2参照)。導波管内部に陽極を設けた仮想陰極発振器では、仮想陰極から放射されて導波管内部の陽極を透過した電子ビームがさらに新たな仮想陰極を形成する。仮想陰極発振器は、仮想陰極を複数形成させることにより、より高出力の電磁パルスを発生させる。
【0004】
このような仮想陰極発振器から発生する電磁波の周波数、出力強度は目的に応じて変更する場合がある。仮想陰極発振器で生成された仮想陰極において、プラズマの振動周期が電磁波の周波数となる。陽極の間隔は、発生する電磁波の状態に応じて調整する必要がある。
【先行技術文献】
【特許文献】
【0005】
特開平5-266810号公報
国際公開第2006/037918号
【発明の概要】
【発明が解決しようとする課題】
【0006】
電磁波の周波数、出力強度を変更するためには、電子への印加電圧、陰極-陽極間距離の調整を行う。上記のように、発生した電磁波が導波管内部の陽極を通過して効率良く高出力の電磁波にするためには、導波管内部の陽極の位置を調整する必要がある。陽極が設置されている導波管内は真空が保持されている。このため、陽極の位置を変えるためには、導波管内の真空を破って一旦大気の状態にする作業が必要であり、作業が煩雑である。また、電磁波の出力を確認しながら導波管内部の陽極の位置を調整することができない。
【0007】
本開示は、上記の課題を解決するものであり、導波管内の真空を保持した状態で導波管内部の陽極の位置を調整できる電磁波発生装置を得ることを目的としている。
【課題を解決するための手段】
【0008】
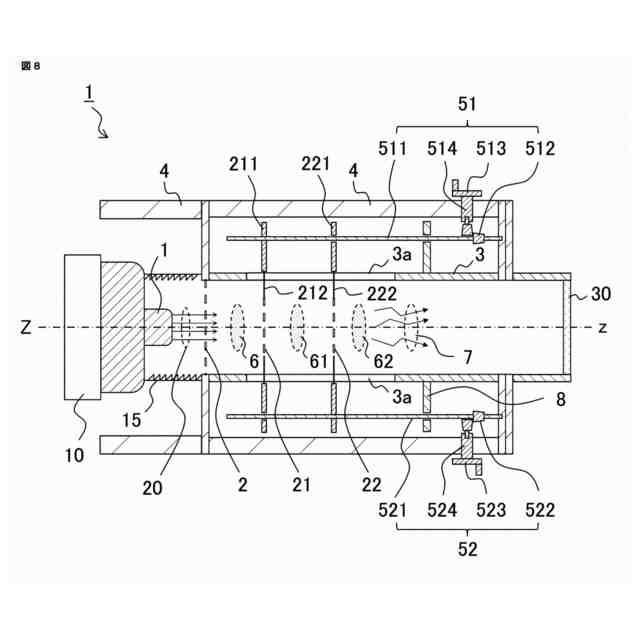
本開示の電磁波発生装置は、陰極と、陰極に対向して配置され電子が通過可能な第1陽極と、第1陽極の陰極とは反対側に配置された電磁波を導波する中空の導波管と、導波管の内部に設置された少なくとも1個の第2陽極と、導波管の外部に設置され第2陽極を導波管の管軸と平行な方向に移動させる駆動機構と、導波管の管軸と平行な方向に設けられたスリットを貫通し第2陽極と駆動機構とを締結する締結部材と、陰極、第1陽極、導波管、第2陽極、駆動機構および締結部材を内部に密閉して真空に保持する真空容器とを備えている。そして、締結部材の導波管の外部に位置する部分が導電性の遮蔽部材で遮蔽されている。
【発明の効果】
【0009】
本開示の電磁波発生装置によれば、導波管内の真空を保持した状態で導波管内部の陽極の位置の調整が可能となる。
【図面の簡単な説明】
【0010】
実施の形態1に係る電磁波発生装置の断面図である。
実施の形態1に係る電磁波発生装置の断面図である。
実施の形態1に係る電磁波発生装置の特性を示す図である。
実施の形態2に係る電磁波発生装置の断面図である。
実施の形態2に係る電磁波発生装置の断面図である。
実施の形態3に係る電磁波発生装置の断面図である。
実施の形態3に係る電磁波発生装置の断面図である。
実施の形態4に係る電磁波発生装置の断面図である。
実施の形態4に係る電磁波発生装置の特性を示す図である。
【発明を実施するための形態】
(【0011】以降は省略されています)
この特許をJ-PlatPat(特許庁公式サイト)で参照する
関連特許
三菱電機株式会社
換気扇
1か月前
三菱電機株式会社
換気扇
1か月前
三菱電機株式会社
冷蔵庫
24日前
三菱電機株式会社
増幅器
28日前
三菱電機株式会社
冷蔵庫
1日前
三菱電機株式会社
換気扇
1か月前
三菱電機株式会社
扇風機
22日前
三菱電機株式会社
照明装置
15日前
三菱電機株式会社
電子機器
1か月前
三菱電機株式会社
回転電機
1か月前
三菱電機株式会社
収集装置
1か月前
三菱電機株式会社
電気機器
1日前
三菱電機株式会社
空気調和機
1か月前
三菱電機株式会社
保護リレー
23日前
三菱電機株式会社
加熱調理器
9日前
三菱電機株式会社
半導体装置
23日前
三菱電機株式会社
半導体装置
1か月前
三菱電機株式会社
回路遮断器
9日前
三菱電機株式会社
半導体装置
1日前
三菱電機株式会社
加熱調理器
1か月前
三菱電機株式会社
炊飯システム
24日前
三菱電機株式会社
貯湯式給湯機
24日前
三菱電機株式会社
制御システム
15日前
三菱電機株式会社
貯湯式給湯機
25日前
三菱電機株式会社
調理システム
24日前
三菱電機株式会社
空調システム
17日前
三菱電機株式会社
点検管理装置
22日前
三菱電機株式会社
光源デバイス
15日前
三菱電機株式会社
貯湯式給湯機
15日前
三菱電機株式会社
照明システム
1か月前
三菱電機株式会社
貯湯式給湯機
1か月前
三菱電機株式会社
給湯システム
1か月前
三菱電機株式会社
ねじ締め装置
28日前
三菱電機株式会社
空調システム
28日前
三菱電機株式会社
空気清浄装置
9日前
三菱電機株式会社
樹脂成形用金型
28日前
続きを見る
他の特許を見る