TOP
|
特許
|
意匠
|
商標
特許ウォッチ
Twitter
他の特許を見る
10個以上の画像は省略されています。
公開番号
2025166349
公報種別
公開特許公報(A)
公開日
2025-11-06
出願番号
2024070296
出願日
2024-04-24
発明の名称
制御システム
出願人
三菱電機株式会社
代理人
弁理士法人高田・高橋国際特許事務所
主分類
F24F
11/89 20180101AFI20251029BHJP(加熱;レンジ;換気)
要約
【課題】対象空間に存在する対象者の生体情報を検出するシステムを安価に構成することができる制御システムを提供する。
【解決手段】制御システムは、対象空間に存在する対象者の脈波および心拍のうち少なくとも一方を含む生体情報を非接触で検出する検出手段と、検出手段の動作を制御する制御手段と、を備え、検出手段は、対象者から反射して生体情報を検出するための反射波を受信する検出面を有した検出器と、検出面による検出範囲が変わるように検出器を回転移動させる駆動機と、を有し、駆動機が検出器を回転移動させた後、検出器が停止しているときに生体情報の検出が行われる。
【選択図】図2
特許請求の範囲
【請求項1】
対象空間に存在する対象者の脈波および心拍のうち少なくとも一方を含む生体情報を非接触で検出する検出手段と、
前記検出手段の動作を制御する制御手段と、
を備え、
前記検出手段は、
対象者から反射して前記生体情報を検出するための反射波を受信する検出面を有した検出器と、
前記検出面による検出範囲が変わるように前記検出器を回転移動させる駆動機と、
を有し、
前記駆動機が前記検出器を回転移動させた後、前記検出器が停止しているときに前記生体情報の検出が行われる、
制御システム。
続きを表示(約 980 文字)
【請求項2】
前記検出器が停止して前記生体情報の検出が行われる時間は、前記検出器が回転移動を開始してから別の検出範囲に対応する位置で停止するまでの時間よりも長い、
請求項1に記載の制御システム。
【請求項3】
前記駆動機は、検出範囲が規定の移動角度だけ変化するように前記検出器を回転移動させる、
請求項1に記載の制御システム。
【請求項4】
前記移動角度は、360°を自然数で割った角度である、
請求項3に記載の制御システム。
【請求項5】
前記制御手段は、移動条件が満たされた場合に、前記駆動機を制御することで、停止している前記検出器を回転移動させた後、検出範囲が直前とは異なるような位置で前記検出器を停止させる、
請求項1に記載の制御システム。
【請求項6】
前記駆動機が停止してから規定の停止時間が経過したときに、前記移動条件が満たされる、
請求項5に記載の制御システム。
【請求項7】
検出範囲に存在する1または複数の対象者の前記生体情報の検出を前記検出器が完了したときに、前記移動条件が満たされる、
請求項5に記載の制御システム。
【請求項8】
前記検出器は、近い位置にいる対象者の前記生体情報を検出するための近距離モードと、遠い位置にいる対象者の前記生体情報を検出するための遠距離モードと、を対象者の位置に応じて切り替える、
請求項1に記載の制御システム。
【請求項9】
前記対象空間に設けられ、前記生体情報を非接触で検出する隣接検出手段、
を更に備え、
前記検出手段からの距離よりも前記隣接検出手段からの距離が近い対象者の前記生体情報は、前記検出手段ではなく前記隣接検出手段が検出する、
請求項1に記載の制御システム。
【請求項10】
前記対象空間の空気の状態を調整する気流を吹き出す空調手段、
を更に備え、
前記空調手段は、前記検出手段で検出された前記生体情報に基づいて、気流の制御内容を決定する、
請求項1から請求項9のいずれか一項に記載の制御システム。
(【請求項11】以降は省略されています)
発明の詳細な説明
【技術分野】
【0001】
本開示は、非接触で生体情報を検出する手段の制御システムに関する。
続きを表示(約 2,100 文字)
【背景技術】
【0002】
特許文献1は、環境制御システムを開示する。当該環境制御システムによれば、非接触で対象者の生体情報を検出する生体情報センサが天井付近に設けられる。生体情報センサで検出された生体情報に基づいて、対象者の状態が推定される。そして、対象者の状態に基づいて、照明装置が制御され得る。
【先行技術文献】
【特許文献】
【0003】
特開2022-162866号公報
【発明の概要】
【発明が解決しようとする課題】
【0004】
検出精度を維持するために、非接触で生体情報を検出するセンサの検出面は、生体情報を検出している間、対象者に正対して停止している必要がある。特許文献1に記載の環境制御システムにおいて、対象空間内の全体を検出するために、複数の検出面がそれぞれ違う方向を向くように設置される必要がある。このため、多数の生体情報センサを設置する必要があり、コストがかかる。
【0005】
本開示は、上述の課題を解決するためになされた。本開示の目的は、対象空間に存在する対象者の生体情報を検出するシステムを安価に構成することができる制御システムを提供することである。
【課題を解決するための手段】
【0006】
本開示に係る制御システムは、対象空間に存在する対象者の脈波および心拍のうち少なくとも一方を含む生体情報を非接触で検出する検出手段と、検出手段の動作を制御する制御手段と、を備え、検出手段は、対象者から反射して生体情報を検出するための反射波を受信する検出面を有した検出器と、検出面による検出範囲が変わるように検出器を回転移動させる駆動機と、を有し、駆動機が検出器を回転移動させた後、検出器が停止しているときに生体情報の検出が行われる。
【発明の効果】
【0007】
本開示によれば、対象空間に存在する対象者の生体情報を、1つの検出手段で検出する。このため、安価にシステムを構成することができる。
【図面の簡単な説明】
【0008】
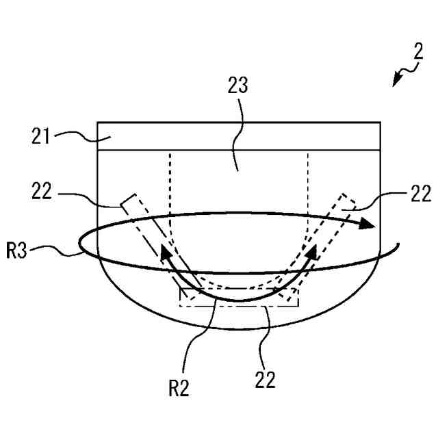
実施の形態1における空調システムが適用される建物の構成図である。
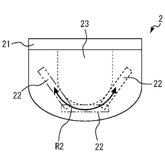
実施の形態1における制御システムの検出手段の側面図である。
実施の形態1における空調システムの検出手段の側面図である。
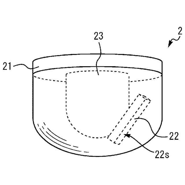
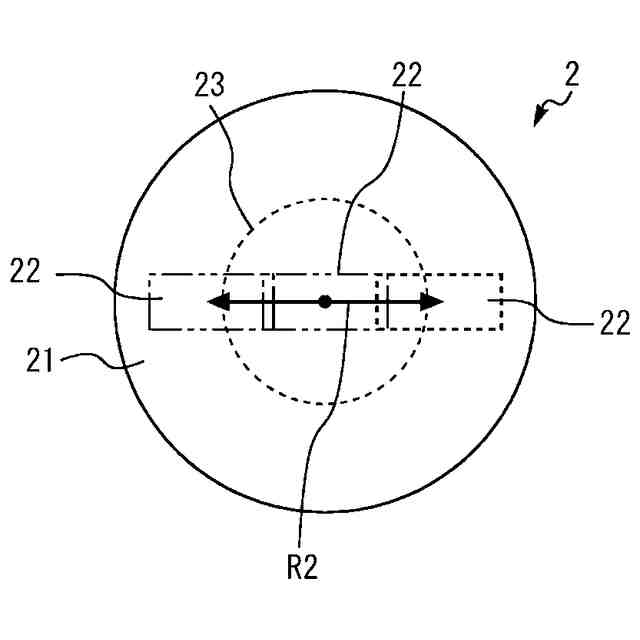
実施の形態1における空調システムの検出手段の下面図である。
実施の形態1における空調システムの検出手段の側面図である。
実施の形態1における空調システムの検出手段の下面図である。
実施の形態1における空調システムの検出手段の側面図である。
実施の形態1における空調システムの検出手段の下面図である。
実施の形態1における制御システムの機能ブロック図である。
実施の形態1における制御システムの動作のフローチャートである。
実施の形態2における制御システムが適用される建物の構成図である。
実施の形態2における制御システムの空調手段の斜視図である。
実施の形態2における制御システムの空調手段の要部を示す図である。
実施の形態2における制御システムの機能ブロック図である。
実施の形態2における制御システムの動作のフローチャートである。
実施の形態3における制御システムの機能ブロック図である。
実施の形態4における制御システムの機能ブロック図である。
ニューラルネットワークモデルの概要を示す図である。
実施の形態4における学習装置の学習処理のフローチャートである。
実施の形態4における制御システムの制御手段が行う推論処理のフローチャートである。
実施の形態5における制御システムの機能ブロック図である。
実施の形態1から5における制御システムの制御装置のハードウェア構成図である。
【発明を実施するための形態】
【0009】
本開示を実施するための形態について添付の図面に従って説明する。なお、各図中、同一または相当する部分には同一の符号が付される。当該部分の重複説明は適宜に簡略化ないし省略される。
【0010】
実施の形態1.
図1は実施の形態1における空調システムが適用される建物の構成図である。図2は実施の形態1における制御システムの検出手段の側面図である。図3は実施の形態1における空調システムの検出手段の側面図である。図4は実施の形態1における空調システムの検出手段の下面図である。図5は実施の形態1における空調システムの検出手段の側面図である。図6は実施の形態1における空調システムの検出手段の下面図である。図7は実施の形態1における空調システムの検出手段の側面図である。図8は実施の形態1における空調システムの検出手段の下面図である。図9は実施の形態1における制御システムの機能ブロック図である。図10は実施の形態1における制御システムの動作のフローチャートである。
(【0011】以降は省略されています)
この特許をJ-PlatPat(特許庁公式サイト)で参照する
関連特許
三菱電機株式会社
換気扇
1か月前
三菱電機株式会社
換気扇
1か月前
三菱電機株式会社
冷蔵庫
1か月前
三菱電機株式会社
換気扇
1か月前
三菱電機株式会社
増幅器
1か月前
三菱電機株式会社
換気扇
2日前
三菱電機株式会社
冷蔵庫
9日前
三菱電機株式会社
扇風機
1か月前
三菱電機株式会社
照明器具
3日前
三菱電機株式会社
収集装置
1か月前
三菱電機株式会社
電気機器
9日前
三菱電機株式会社
照明装置
23日前
三菱電機株式会社
電子機器
1か月前
三菱電機株式会社
換気装置
1日前
三菱電機株式会社
半導体装置
1か月前
三菱電機株式会社
半導体装置
9日前
三菱電機株式会社
電動送風機
1日前
三菱電機株式会社
回路遮断器
17日前
三菱電機株式会社
加熱調理器
17日前
三菱電機株式会社
空気調和機
1か月前
三菱電機株式会社
保護リレー
1か月前
三菱電機株式会社
制御システム
23日前
三菱電機株式会社
光源デバイス
23日前
三菱電機株式会社
貯湯式給湯機
1か月前
三菱電機株式会社
空気清浄装置
17日前
三菱電機株式会社
貯湯式給湯機
23日前
三菱電機株式会社
ねじ締め装置
1か月前
三菱電機株式会社
空調システム
1か月前
三菱電機株式会社
車両制御装置
1日前
三菱電機株式会社
点検管理装置
1か月前
三菱電機株式会社
貯湯式給湯機
1か月前
三菱電機株式会社
調理システム
1か月前
三菱電機株式会社
空調システム
25日前
三菱電機株式会社
位置算出装置
2日前
三菱電機株式会社
炊飯システム
1か月前
三菱電機株式会社
見守りシステム
2日前
続きを見る
他の特許を見る