TOP
|
特許
|
意匠
|
商標
特許ウォッチ
Twitter
他の特許を見る
公開番号
2025159877
公報種別
公開特許公報(A)
公開日
2025-10-22
出願番号
2024062709
出願日
2024-04-09
発明の名称
空気調和機
出願人
三菱電機株式会社
代理人
弁理士法人きさ特許商標事務所
主分類
F24F
11/30 20180101AFI20251015BHJP(加熱;レンジ;換気)
要約
【課題】腐食性ガスによる室内熱交換器の腐食の進行を従来よりも抑制することが可能な空気調和機を得る。
【解決手段】本開示に係る空気調和機は、室内機の設置される室の内部の腐食性ガスの濃度が前記室の外部の空気の腐食性ガスの濃度よりも高い状態となった場合、前記室内機の吸込口と室内熱交換器との間に前記室の外部の空気を吹き出す構成となっている。
【選択図】図1
特許請求の範囲
【請求項1】
室内機及び換気装置を備え、
前記室内機は、室内熱交換器を備え、
前記室内熱交換器は、前記室内機の吸込口と前記室内機の吹出口との間に設けられており、
前記換気装置は、前記室内機が設置される室の内部と該室の外部とを連通する接続風路と、該接続風路に前記室の外部の空気を送る換気ファンと、前記室の内部の腐食性ガスの濃度を検出する第1センサと、前記室の外部の空気の腐食性ガスの濃度を検出する第2センサと、を備え、
前記接続風路には、第1開口部及び第2開口部が形成されており、
前記第1開口部は、前記室内熱交換器と前記吹出口との間に開口する開口部であり、
前記第2開口部は、前記吸込口と前記室内熱交換器との間に開口する開口部であり、
前記換気装置は、前記換気ファンから前記接続風路に送られた空気の該接続風路からの流出先を前記第1開口部又は前記第2開口部に切り替える切替機構を備え、
前記第1センサの検出する腐食性ガスの濃度が前記第2センサの検出する腐食性ガスの濃度よりも高い状態となった場合、
前記切替機構は前記流出先を前記第2開口部とする状態となり、前記換気ファンが駆動している状態となる構成である
空気調和機。
続きを表示(約 870 文字)
【請求項2】
前記室内熱交換器に付着した水滴を除去する結露除去運転において、前記第1センサの検出する腐食性ガスの濃度が前記第2センサの検出する腐食性ガスの濃度よりも高い状態となった場合、
前記切替機構は前記流出先を前記第2開口部とする状態となり、前記換気ファンが駆動している状態となる構成である
請求項1に記載の空気調和機。
【請求項3】
前記結露除去運転において、前記第2センサの検出する腐食性ガスの濃度が前記第1センサの検出する腐食性ガスの濃度よりも高い状態となっている場合、
前記換気ファンが停止している状態となる構成である
請求項2に記載の空気調和機。
【請求項4】
冷房運転又は暖房運転である空調運転において、前記第1センサの検出する腐食性ガスの濃度が前記第2センサの検出する腐食性ガスの濃度よりも高い状態となった場合、
前記切替機構は前記流出先を前記第2開口部とする状態となり、前記換気ファンが駆動している状態となる構成である
請求項1~請求項3のいずれか一項に記載の空気調和機。
【請求項5】
前記室内機は、前記吸込口を開閉するフラップを備え、
前記空調運転において、前記第1センサの検出する腐食性ガスの濃度が前記第2センサの検出する腐食性ガスの濃度よりも高い状態となった場合、
前記フラップは前記吸込口を閉じた状態となる構成である
請求項4に記載の空気調和機。
【請求項6】
前記空調運転において、前記第2センサの検出する腐食性ガスの濃度が前記第1センサの検出する腐食性ガスの濃度よりも高い状態となっている場合、
前記換気ファンが停止している状態となる構成である
請求項4に記載の空気調和機。
【請求項7】
前記切替機構は、前記第1開口部を開閉する第1ダンパと、前記第2開口部を開閉する第2ダンパとを備えている
請求項1に記載の空気調和機。
発明の詳細な説明
【技術分野】
【0001】
本開示は、室内機が設置される室の内部に該室の外部の空気を供給できる空気調和機に関する。
続きを表示(約 2,200 文字)
【背景技術】
【0002】
空気調和機は、冷房運転又は暖房運転を実行する。以下、冷房運転及び暖房運転を総称する場合、空調運転と称することとする。すなわち、空調運転は、冷房運転又は暖房運転である。空気調和機は、空調運転を実行する場合、室内機が設置されている室の空気を該室内機に取り込み、取り込んだ空気と室内熱交換器とを熱交換させ、熱交換後の空気を室に戻すことにより、室内機が設置されている室の冷房又は暖房を行う。このような空気調和機には、室内機が設置されている室に該室の外部の空気を供給し、該室の換気を行う換気装置を備えたものも提案されている(例えば特許文献1参照)。
【先行技術文献】
【特許文献】
【0003】
特許第7223905号公報
【発明の概要】
【発明が解決しようとする課題】
【0004】
室内熱交換器を通過する空気に腐食性ガスが混ざっている場合、該腐食性ガスが室内熱交換器に接触して該室内熱交換器が腐食し、空気調和機の寿命が短くなってしまう。すなわち、空気調和機は、室内熱交換器を通過する空気中の腐食性ガスによって室内熱交換器が腐食してしまうという課題があった。
【0005】
本開示は、上述の課題を解決するためになされたものであり、腐食性ガスによる室内熱交換器の腐食の進行を従来よりも抑制することが可能な空気調和機を得ることを目的とする。
【課題を解決するための手段】
【0006】
本開示に係る空気調和機は、室内機及び換気装置を備え、前記室内機は、室内熱交換器を備え、前記室内熱交換器は、前記室内機の吸込口と前記室内機の吹出口との間に設けられており、前記換気装置は、前記室内機が設置される室の内部と該室の外部とを連通する接続風路と、該接続風路に前記室の外部の空気を送る換気ファンと、前記室の内部の腐食性ガスの濃度を検出する第1センサと、前記室の外部の空気の腐食性ガスの濃度を検出する第2センサと、を備え、前記接続風路には、第1開口部及び第2開口部が形成されており、前記第1開口部は、前記室内熱交換器と前記吹出口との間に開口する開口部であり、前記第2開口部は、前記吸込口と前記室内熱交換器との間に開口する開口部であり、前記換気装置は、前記換気ファンから前記接続風路に送られた空気の該接続風路からの流出先を前記第1開口部又は前記第2開口部に切り替える切替機構を備え、前記第1センサの検出する腐食性ガスの濃度が前記第2センサの検出する腐食性ガスの濃度よりも高い状態となった場合、前記切替機構は前記流出先を前記第2開口部とする状態となり、前記換気ファンが駆動している状態となる構成となっている。
【発明の効果】
【0007】
本開示に係る空気調和機は、従来の空気調和機と比べ、室内熱交換器に接触する腐食性ガスの量を低減することができる。このため、本開示に係る空気調和機は、従来の空気調和機と比べ、腐食性ガスによる室内熱交換器の腐食の進行を抑制することができる。
【図面の簡単な説明】
【0008】
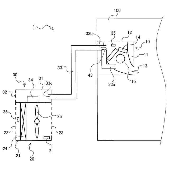
実施の形態1に係る空気調和機を示す模式図である。
実施の形態1に係る空気調和機の別の一例を示す模式図である。
実施の形態1に係る空気調和機の制御装置を説明するためのブロック図である。
実施の形態1に係る空気調和機が結露除去運転を実行する際の動作を説明するためのフローチャートである。
実施の形態2に係る空気調和機が空調運転を実行する際の動作を説明するためのフローチャートである。
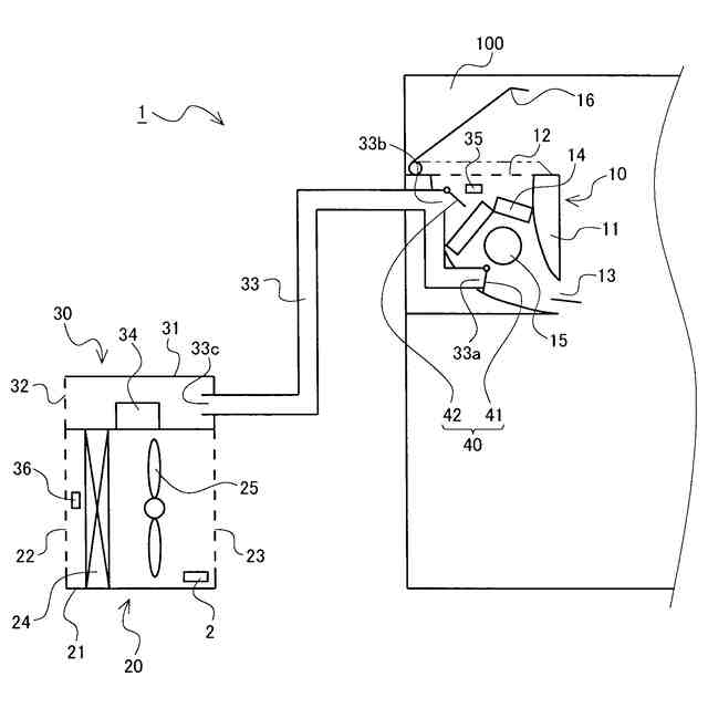
実施の形態2に係る空気調和機の別の一例を示す模式図である。
図6に示す空気調和機が空調運転を実行する際の動作を説明するためのフローチャートである。
【発明を実施するための形態】
【0009】
実施の形態1.
図1は、実施の形態1に係る空気調和機を示す模式図である。
本実施の形態1に係る空気調和機1は、室内機10、室外機20及び換気装置30を備えている。
【0010】
室内機10は、筐体11、室内熱交換器14及び室内ファン15を備えている。筐体11は、例えば略直方体形状をしている。筐体11の例えば上面部には、吸込口12が形成されている。また、筐体11の例えば側面部の1つには、吹出口13が形成されている。室内熱交換器14及び室内ファン15は、筐体11に収納されている。具体的には、室内熱交換器14は、吸込口12と吹出口13との間に設けられている。また、室内ファン15は、吸込口12と吹出口13との間に設けられており、筐体11内の空気の流れ方向において室内熱交換器14の下流側となる位置に配置されている。室内機10は、室100の例えば壁に設けられている。室内ファン15が駆動することにより、吸込口12から筐体11内に室100の空気が吸い込まれる。そして、筐体11内に吸い込まれた空気は、室内熱交換器14を通って、吹出口13から筐体11の外部に吹き出される。すなわち、筐体11内に吸い込まれた空気は、室内熱交換器14を通って、室100の内部に吹き出される。
(【0011】以降は省略されています)
この特許をJ-PlatPat(特許庁公式サイト)で参照する
関連特許
三菱電機株式会社
扇風機
21日前
三菱電機株式会社
冷蔵庫
23日前
三菱電機株式会社
換気扇
1か月前
三菱電機株式会社
冷蔵庫
今日
三菱電機株式会社
換気扇
1か月前
三菱電機株式会社
換気扇
1か月前
三菱電機株式会社
増幅器
27日前
三菱電機株式会社
電子機器
1か月前
三菱電機株式会社
回転電機
2か月前
三菱電機株式会社
照明装置
2か月前
三菱電機株式会社
回転電機
1か月前
三菱電機株式会社
収集装置
1か月前
三菱電機株式会社
照明装置
14日前
三菱電機株式会社
電気機器
今日
三菱電機株式会社
保護リレー
22日前
三菱電機株式会社
加熱調理器
8日前
三菱電機株式会社
加熱調理器
1か月前
三菱電機株式会社
半導体装置
今日
三菱電機株式会社
回路遮断器
8日前
三菱電機株式会社
空気調和機
29日前
三菱電機株式会社
半導体装置
1か月前
三菱電機株式会社
半導体装置
1か月前
三菱電機株式会社
半導体装置
22日前
三菱電機株式会社
貯湯式給湯機
24日前
三菱電機株式会社
制御システム
14日前
三菱電機株式会社
貯湯式給湯機
23日前
三菱電機株式会社
調理システム
23日前
三菱電機株式会社
給湯システム
1か月前
三菱電機株式会社
点検管理装置
21日前
三菱電機株式会社
照明システム
1か月前
三菱電機株式会社
貯湯式給湯機
1か月前
三菱電機株式会社
空調システム
16日前
三菱電機株式会社
ねじ締め装置
27日前
三菱電機株式会社
光源デバイス
14日前
三菱電機株式会社
空気清浄装置
8日前
三菱電機株式会社
空調システム
27日前
続きを見る
他の特許を見る