TOP
|
特許
|
意匠
|
商標
特許ウォッチ
Twitter
他の特許を見る
10個以上の画像は省略されています。
公開番号
2025168781
公報種別
公開特許公報(A)
公開日
2025-11-12
出願番号
2024073528
出願日
2024-04-30
発明の名称
加熱調理器
出願人
三菱電機株式会社
,
三菱電機ホーム機器株式会社
代理人
弁理士法人きさ特許商標事務所
主分類
F24C
15/00 20060101AFI20251105BHJP(加熱;レンジ;換気)
要約
【課題】複数の加熱源及び複数の機能における表示を共通化することができる加熱調理器を提供することを目的とする。
【解決手段】加熱調理器は、被加熱物を加熱する複数の加熱部と、加熱部の加熱設定を行う操作部と、加熱部の加熱設定を表示する表示部と、複数の加熱部に個別に設定され、加熱部の加熱状態と連動する第一の機能と、第一の機能と独立した第二の機能と、を実施する制御部と、を備え、表示部は、第一の機能と第二の機能とが同時に実施される場合、第一の機能に関する表示と、第一の機能に関する表示と異なる第二の機能に関する表示とを、優先度に応じて切り替えて表示する共通表示部を有するものである。
【選択図】図21
特許請求の範囲
【請求項1】
被加熱物を加熱する複数の加熱部と、
前記加熱部の加熱設定を行う操作部と、
前記加熱部の前記加熱設定を表示する表示部と、
複数の前記加熱部に個別に設定され、前記加熱部の加熱状態と連動する第一の機能と、前記第一の機能と独立した第二の機能と、を実施する制御部と、を備え、
前記表示部は、前記第一の機能と前記第二の機能とが同時に実施される場合、前記第一の機能に関する表示と、前記第一の機能に関する表示と異なる前記第二の機能に関する表示とを、優先度に応じて切り替えて表示する共通表示部を有する加熱調理器。
続きを表示(約 1,600 文字)
【請求項2】
前記第一の機能は、設定された加熱時間に対する残時間を計測するカウントダウン機能であり、
前記第二の機能は、前記第二の機能の開始からの経過時間を計測するカウントアップ機能であり、
前記共通表示部は、
前記残時間と前記経過時間とを切り替えて表示するカウント表示部と、
前記第一の機能が設定された前記加熱部を表示するカウントダウン表示部と、
前記第二の機能が設定されたことを表示するカウントアップ表示部と、を有する請求項1に記載の加熱調理器。
【請求項3】
前記制御部は、前記第一の機能と前記第二の機能とが同時に実施されている場合であって、前記共通表示部に前記第一の機能に関する表示が表示されている場合、予め設定された待機時間が経過すると、前記共通表示部の表示を前記第一の機能に関する表示から前記第二の機能に関する表示に切り替える請求項2に記載の加熱調理器。
【請求項4】
前記制御部は、前記第一の機能と前記第二の機能とが同時に実施され、且つ、複数の前記加熱部に対して前記第一の機能が設定されている場合であって、前記共通表示部の表示を前記第二の機能に関する表示から前記第一の機能に関する表示に切り替える場合、前回表示されていた前記加熱部に対する前記第一の機能に関する表示を前記共通表示部に表示する請求項2に記載の加熱調理器。
【請求項5】
前記制御部は、前記第一の機能と前記第二の機能とが同時に実施され、且つ、複数の前記加熱部に対して前記第一の機能が設定されている場合であって、前記共通表示部の表示を前記第二の機能に関する表示から前記第一の機能に関する表示に切り替える場合、複数の前記加熱部のうち、前記残時間が最も短い前記加熱部に対する前記第一の機能の表示を前記共通表示部に表示する請求項2に記載の加熱調理器。
【請求項6】
前記制御部は、前記第一の機能と前記第二の機能とが同時に実施され、且つ、複数の前記加熱部に対して前記第一の機能が設定されている場合であって、前記共通表示部の表示を前記第二の機能に関する表示から前記第一の機能に関する表示に切り替える場合、複数の前記加熱部のうち、予め設定された前記加熱部に対する前記第一の機能の表示を前記共通表示部に表示する請求項2に記載の加熱調理器。
【請求項7】
前記制御部は、複数の前記加熱部に対して前記第一の機能が設定されている場合であって、何れかの前記加熱部の前記残時間が閾値時間以下となった場合、前記共通表示部の表示を、前記残時間が前記閾値時間以下となった前記加熱部に対する前記第一の機能に関する表示に切り替える請求項2に記載の加熱調理器。
【請求項8】
前記制御部は、前記第一の機能と前記第二の機能とが同時に実施され、且つエラーが発生した場合、前記共通表示部の表示を、発生した前記エラーに関する表示に切り替える請求項1~7の何れか一項に記載の加熱調理器。
【請求項9】
前記制御部は、前記共通表示部の表示を、前記エラーに関する表示から前記第一の機能に関する表示又は前記第二の機能に関する表示に切り替えた場合であって、予め設定された待機時間が経過した場合、前記共通表示部の表示を前記エラーに関する表示に切り替える請求項8に記載の加熱調理器。
【請求項10】
前記制御部は、前記共通表示部の表示を、前記エラーに関する表示から前記第一の機能に関する表示又は前記第二の機能に関する表示に切り替えた場合であって、さらに予め設定された待機時間内に前記第一の機能に関する表示又は前記第二の機能に関する表示への切り替えの操作がなされた場合、前記共通表示部の表示を前記エラーに関する表示に切り替える請求項8に記載の加熱調理器。
発明の詳細な説明
【技術分野】
【0001】
本開示は、複数の加熱部を備える加熱調理器に関するものである。
続きを表示(約 3,300 文字)
【背景技術】
【0002】
従来、加熱調理器の天板に設けられた表示部において、配置の制約等により、複数の加熱源又は複数の機能に対して、表示を共通化することが知られている。例えば、特許文献1には、誘導加熱調理器の複数の加熱源における同一の機能(タイマー機能)を一つの表示部で表示し、選択等に応じて表示を切り替えることが開示されている。また、特許文献2には、複数の機能(カウントダウン機能とカウントアップ機能)を一つの表示部で表示し、キー操作によって表示を切り替えることが開示されている。
【先行技術文献】
【特許文献】
【0003】
特許第4439687号公報
特開2010-244997号公報
【発明の概要】
【発明が解決しようとする課題】
【0004】
近年、加熱調理器の多機能化により、加熱調理器に様々な機能及び加熱源が搭載されるようになっている。しかしながら、従来技術の加熱調理器においては、複数の加熱源及び複数の機能に対する表示の共通化を図ることは困難であった。
【0005】
本開示は、上記のような課題を解決するものであり、複数の加熱源及び複数の機能における表示を共通化することができる加熱調理器を提供することを目的とする。
【課題を解決するための手段】
【0006】
本開示に係る加熱調理器は、被加熱物を加熱する複数の加熱部と、加熱部の加熱設定を行う操作部と、加熱部の加熱設定を表示する表示部と、複数の加熱部に個別に設定され、加熱部の加熱状態と連動する第一の機能と、第一の機能と独立した第二の機能と、を実施する制御部と、を備え、表示部は、第一の機能と第二の機能とが同時に実施される場合、第一の機能に関する表示と、第一の機能に関する表示と異なる第二の機能に関する表示とを、優先度に応じて切り替えて表示する共通表示部を有するものである。
【発明の効果】
【0007】
本開示における加熱調理器によれば、第一の機能に関する表示と、第二の機能に関する表示と、を優先度に応じて切り替えて表示する共通表示部を有することで、複数の加熱源及び複数の機能における表示を共通化することができる。
【図面の簡単な説明】
【0008】
実施の形態1に係る加熱調理器の設置例を説明する図である。
実施の形態1に係る加熱調理器の概略構成図を説明する図である。
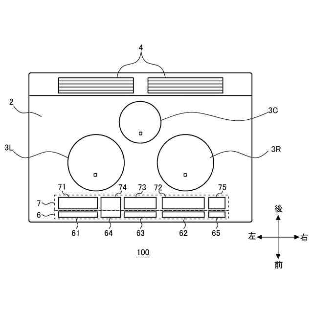
実施の形態1に係る加熱調理器の上面図である。
実施の形態1に係る加熱調理器の制御ブロック図である。
実施の形態1に係る加熱調理器の操作部及び表示部の拡大図である。
実施の形態1における電源操作部及び電源表示部の拡大図である。
実施の形態1における左操作部及び左表示部の拡大図である。
実施の形態1において左加熱口に対して通常加熱を設定した場合の左表示部の表示例である。
実施の形態1において左加熱口に対して調理メニューを設定した場合の左表示部の表示例である。
実施の形態1における右操作部及び右表示部の拡大図である。
実施の形態1における中央操作部及び中央表示部の拡大図である。
実施の形態1において中央加熱口に対して通常加熱を設定した場合の中央表示部の表示例である。
実施の形態1において加熱室に対して調理メニューを設定した場合の中央表示部の表示例である。
実施の形態1における共通操作部及び共通表示部の拡大図である。
実施の形態1においてカウントダウン機能を設定した場合の共通表示部の表示例である。
実施の形態1においてカウントアップ機能を設定した場合の共通表示部の表示例である。
実施の形態1において右加熱口に対してカウントダウン機能を設定する場合の共通表示部の表示の切り替わりを示す図である。
実施の形態1において右加熱口及び中央加熱口に対してカウントダウン機能を設定する場合の共通表示部の表示の切り替わりを示す図である。
実施の形態1においてカウントアップ機能を設定する場合の共通表示部の表示の切り替わりを示す図である。
実施の形態1においてカウントダウン機能とカウントアップ機能を同時に実施する場合の共通表示部の表示の切り替わりを示す図である。
実施の形態1におけるカウントダウン機能とカウントアップ機能を同時に実施する場合の共通表示部の制御の流れを示すフローチャートである。
実施の形態2においてカウントダウン機能とカウントアップ機能を同時に実施する場合の共通表示部の表示の切り替わりを示す図である。
実施の形態2におけるカウントダウン機能とカウントアップ機能を同時に実施する場合の共通表示部の制御の流れを示すフローチャートである。
実施の形態3においてカウントダウン機能とカウントアップ機能を同時に実施する場合の共通表示部の表示の切り替わりを示す図である。
実施の形態3におけるカウントダウン機能とカウントアップ機能を同時に実施する場合の共通表示部の制御の流れを示すフローチャートである。
実施の形態4における共通表示部の満了前表示への切り替えの流れを示すフローチャートである。
実施の形態5において負荷エラーが発生した場合の共通表示部の表示例である。
実施の形態5においてシステムエラーが発生した場合の共通表示部の表示例である。
実施の形態5においてエラーが発生した場合の共通表示部の表示の切り替わりを示す図である。
実施の形態5における共通表示部のエラー表示への切り替えの流れを示すフローチャートである。
実施の形態6における共通表示部のエラー表示への切り替えの流れを示すフローチャートである。
実施の形態7におけるキャンセル事由発生時の表示の切り替え先を示す図である。
実施の形態7におけるキャンセル事由発生時の共通表示部の表示の切り替えの流れを示すフローチャートである。
実施の形態7におけるキャンセル事由発生時の共通表示部の表示の切り替えの流れを示すフローチャートである。
【発明を実施するための形態】
【0009】
以下、本開示に係る加熱調理器の実施の形態を、図面を参照して説明する。本開示は、以下の実施の形態に限定されるものではなく、本開示の主旨を逸脱しない範囲で種々に変形することが可能である。また、本開示は、以下の各実施の形態に示す構成のうち、組合せ可能な構成のあらゆる組合せを含むものである。また、図面に示す加熱調理器は、本開示の技術思想が適用される機器の一例を示すものであり、図面に示された態様によって本開示の適用機器が限定されるものではない。また、以下の説明において、理解を容易にするために方向を表す用語(例えば「右」、「左」、「前」、「後」など)を適宜用いるが、これらは説明のためのものであって、本開示を限定するものではない。また、各図において、同一の符号を付したものは、同一の又はこれに相当するものであり、これは明細書の全文において共通している。なお、各図面では、各構成部材の相対的な寸法関係又は形状等が実際のものとは異なる場合がある。
【0010】
実施の形態1.
図1は、実施の形態1に係る加熱調理器100の設置例を説明する図である。本実施の形態の加熱調理器100は、上部に調理台を備えたキッチン家具200に組み込まれて使用されるビルトイン型(組込み型)のIH(Induction Heating)クッキングヒータ(誘導加熱調理器)である。加熱調理器100は、本体1と、本体1の上に設置された天板2とを有する。天板2は、キッチン家具200の天面を構成するキッチン天板の上に露出している。
(【0011】以降は省略されています)
この特許をJ-PlatPat(特許庁公式サイト)で参照する
関連特許
三菱電機株式会社
扇風機
14日前
三菱電機株式会社
冷蔵庫
16日前
三菱電機株式会社
換気扇
29日前
三菱電機株式会社
換気扇
29日前
三菱電機株式会社
増幅器
20日前
三菱電機株式会社
換気扇
29日前
三菱電機株式会社
照明装置
7日前
三菱電機株式会社
電子機器
1か月前
三菱電機株式会社
回転電機
1か月前
三菱電機株式会社
収集装置
27日前
三菱電機株式会社
半導体装置
15日前
三菱電機株式会社
保護リレー
15日前
三菱電機株式会社
半導体装置
1か月前
三菱電機株式会社
回路遮断器
1日前
三菱電機株式会社
加熱調理器
1日前
三菱電機株式会社
空気調和機
22日前
三菱電機株式会社
半導体装置
1か月前
三菱電機株式会社
加熱調理器
1か月前
三菱電機株式会社
貯湯式給湯機
17日前
三菱電機株式会社
制御システム
7日前
三菱電機株式会社
貯湯式給湯機
1か月前
三菱電機株式会社
空気清浄装置
1日前
三菱電機株式会社
光源デバイス
7日前
三菱電機株式会社
点検管理装置
14日前
三菱電機株式会社
貯湯式給湯機
7日前
三菱電機株式会社
調理システム
16日前
三菱電機株式会社
ねじ締め装置
20日前
三菱電機株式会社
空調システム
20日前
三菱電機株式会社
炊飯システム
16日前
三菱電機株式会社
給湯システム
1か月前
三菱電機株式会社
貯湯式給湯機
16日前
三菱電機株式会社
空調システム
9日前
三菱電機株式会社
照明システム
1か月前
三菱電機株式会社
樹脂成形用金型
20日前
三菱電機株式会社
電動機制御装置
1か月前
三菱電機株式会社
誘導加熱調理器
29日前
続きを見る
他の特許を見る