TOP
|
特許
|
意匠
|
商標
特許ウォッチ
Twitter
他の特許を見る
10個以上の画像は省略されています。
公開番号
2025175399
公報種別
公開特許公報(A)
公開日
2025-12-03
出願番号
2024081485
出願日
2024-05-20
発明の名称
電力変換装置
出願人
三菱電機株式会社
代理人
弁理士法人ぱるも特許事務所
主分類
H02M
7/48 20070101AFI20251126BHJP(電力の発電,変換,配電)
要約
【課題】オン側の配線の発熱を抑制し、オン側の配線に接続された部品への熱害を低減した電力変換装置を得ること。
【解決手段】正極側のスイッチング素子及び負極側のスイッチング素子を有し、双方の素子の接続部から交流が出力される一相分のアームが複数設けられ、複数相のアームが形成された電力変換部と、交流を停止する場合に、正極側のスイッチング素子の全てをオンし負極側のスイッチング素子の全てをオフする相短絡信号、又は負極側のスイッチング素子の全てをオンし正極側のスイッチング素子の全てをオフする相短絡信号の何れかを出力する制御部と、全てがオンされる複数の正極側のスイッチング素子の間又は負極側のスイッチング素子の間を接続した第一配線と、全てがオフされる複数の正極側のスイッチング素子の間又は負極側のスイッチング素子の間を接続した第二配線と、を備え、第一配線の熱抵抗は、第二配線の熱抵抗よりも小さい。
【選択図】図4
特許請求の範囲
【請求項1】
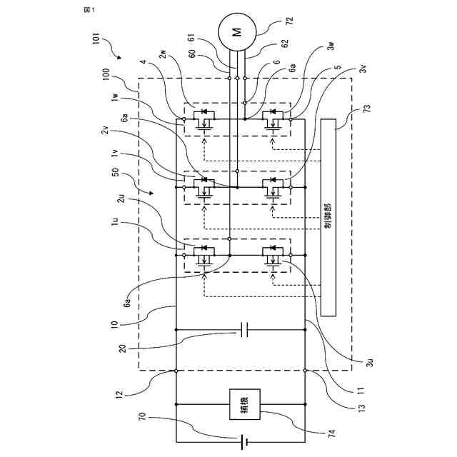
直流電源の正極側に一方の側で電気的に接続される正極側のスイッチング素子、及び前記正極側のスイッチング素子の他方の側に一方の側で直列に接続され、直流電源の負極側に他方の側で電気的に接続される負極側のスイッチング素子を有し、前記正極側のスイッチング素子の他方の側と前記負極側のスイッチング素子の一方の側との間の直列に接続された部分である接続部から交流が出力される一相分のアームが複数設けられ、複数相のアームが形成された電力変換部と、
前記電力変換部から出力される交流を停止する場合に、前記正極側のスイッチング素子の全てをオンし、前記負極側のスイッチング素子の全てをオフする相短絡信号、又は、前記負極側のスイッチング素子の全てをオンし、前記正極側のスイッチング素子の全てをオフする相短絡信号の何れか一方の相短絡信号を前記正極側のスイッチング素子及び前記負極側のスイッチング素子の駆動部に出力する制御部と、
前記複数相のアームにおける、全てがオンされる複数の前記正極側のスイッチング素子の一方の側の間、又は全てがオンされる複数の前記負極側のスイッチング素子の他方の側の間を接続した第一配線と、
前記複数相のアームにおける、全てがオフされる複数の前記正極側のスイッチング素子の一方の側の間、又は全てがオフされる複数の前記負極側のスイッチング素子の他方の側の間を接続した第二配線と、を備え、
前記第一配線の熱抵抗は、前記第二配線の熱抵抗よりも小さい電力変換装置。
続きを表示(約 1,700 文字)
【請求項2】
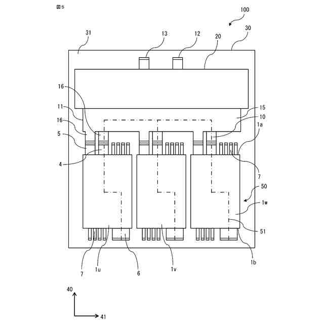
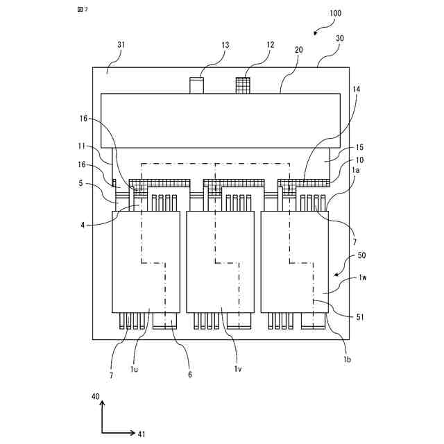
各相の前記アーム毎に、前記正極側のスイッチング素子と前記負極側のスイッチング素子とを同一のパッケージに収容したパワーモジュールが形成され、
複数の前記パワーモジュールのそれぞれは、前記正極側のスイッチング素子の一方の側に接続されると共に、直流電源の正極側に接続される正極側端子と、前記負極側のスイッチング素子の他方の側に接続されると共に、直流電源の負極側に接続される負極側端子と、前記接続部に接続され、交流が出力される外部接続端子と、を有し、
前記第一配線は、複数の前記パワーモジュールのそれぞれの前記正極側端子の間、又は複数の前記パワーモジュールのそれぞれの前記負極側端子の間を接続し、
前記第二配線は、前記第一配線が接続されていない、複数の前記パワーモジュールのそれぞれの前記正極側端子の間、又は複数の前記パワーモジュールのそれぞれの前記負極側端子の間を接続している請求項1に記載の電力変換装置。
【請求項3】
複数の前記アームのそれぞれが有した、前記正極側のスイッチング素子及び前記負極側のスイッチング素子の全てを、同一のパッケージに収容したパワーモジュールが形成され、
前記パワーモジュールは、各相の前記アーム毎の前記正極側のスイッチング素子の一方の側のそれぞれに接続されると共に、直流電源の正極側に接続される複数の正極側端子と、各相の前記アーム毎に前記負極側のスイッチング素子の他方の側のそれぞれに接続されると共に、直流電源の負極側に接続される複数の負極側端子と、各相のアーム毎の前記接続部に接続され、交流が出力される複数の外部接続端子と、を有し、
前記第一配線は、複数の前記正極側端子のそれぞれの間、又は複数の前記負極側端子のそれぞれの間を接続し、
前記第二配線は、前記第一配線が接続されていない、複数の前記正極側端子のそれぞれの間、又は複数の前記負極側端子のそれぞれの間を接続している請求項1に記載の電力変換装置。
【請求項4】
前記第一配線の電流が流れる方向に垂直な方向の断面積は、前記第二配線の電流が流れる方向に垂直な方向の断面積よりも大きい請求項1から3のいずれか1項に記載の電力変換装置。
【請求項5】
前記第一配線及び前記第二配線は、板金により形成されたバスバーである請求項1から3のいずれか1項に記載の電力変換装置。
【請求項6】
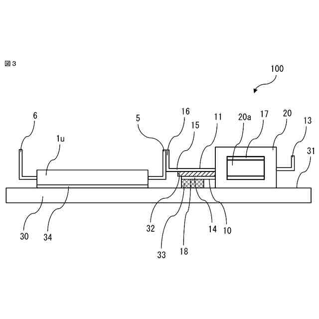
前記正極側のスイッチング素子及び前記負極側のスイッチング素子の一方又は双方が熱的に接続された冷却器をさらに備え、
前記第一配線は、前記冷却器が有した冷却面に熱的に接続された放熱部を有している請求項1から3のいずれか1項に記載の電力変換装置。
【請求項7】
前記第一配線と前記第二配線とを保持した絶縁部材を備え、
前記放熱部は、前記絶縁部材により覆われている請求項6に記載の電力変換装置。
【請求項8】
前記第一配線と前記第二配線とを保持した絶縁部材を備え、
前記第一配線は、平板状に形成された部分である第一平板部を有し、前記第二配線は、平板状に形成された部分である第二平板部を有し、
前記第一平板部と前記第二平板部とは、前記絶縁部材を介して積層されている請求項1から3のいずれか1項に記載の電力変換装置。
【請求項9】
前記正極側のスイッチング素子及び前記負極側のスイッチング素子の一方又は双方が熱的に接続された冷却器をさらに備え、
前記第一平板部は、前記第二平板部よりも前記冷却器が有した冷却面に隣接して配置されている請求項8に記載の電力変換装置。
【請求項10】
前記第一配線及び前記第二配線を介して、前記正極側のスイッチング素子及び前記負極側のスイッチング素子に電気的に接続されたコンデンサ素子をさらに備えた請求項1から3のいずれか1項に記載の電力変換装置。
(【請求項11】以降は省略されています)
発明の詳細な説明
【技術分野】
【0001】
本開示は、電力変換装置に関するものである。
続きを表示(約 2,400 文字)
【背景技術】
【0002】
昨今、ハイブリッド自動車、プラグインハイブリッド自動車、電気自動車、及び燃料電池車といった、電動パワートレインを搭載した自動車(以下、電動化車両と称す)が普及している。電動化車両には、従来の内燃機関を動力源とした車両の構成に加えて、又はその代替えとして、車輪を駆動するための回転電機と当該回転電機を駆動するための電力変換装置であるインバータ回路が搭載されている。電動化車両では、走行時に回転電機を力行運転して走行駆動トルクを発生させ、制動時に回転電機を回生運転して回生制動トルクを発生させている。
【0003】
電動化車両の駆動システムは、リチウムイオンバッテリ等の二次電池からなる直流電源と、直流電源に接続され、平滑コンデンサと複数の半導体スイッチング素子とからなるインバータ回路と、インバータ回路を制御する制御部と、インバータ回路に負荷として接続された回転電機と、から構成される。前後輪別等の複数の駆動システムが備えられた場合には、直流電源に複数のインバータ回路及び回転電機が接続される。また、エアコンディショナ、冷却機構、電池加熱器等の補機も、直流電源に接続される。
【0004】
電動化車両の駆動システムには、直流電源であるバッテリを過電圧、過電流から保護するために、必要に応じて、バッテリとインバータ回路とを切り離す開閉手段が設けられる。この開閉手段の開放条件としては、回転電機の回生運転時にバッテリの電圧が所定値以上になった場合(OV、過電圧)、バッテリの消耗によりバッテリの電圧が所定値以下になった場合(UV、低電圧)、バッテリに流れる電流が所定値以上になった場合(OC、過電流)等がある。さらに、車両の故障、又は衝突等に伴って、開閉手段が開放されることもある。
【0005】
また、バッテリには、バッテリに直列に接続したヒューズが設けられる。バッテリに接続されるインバータ回路及び各種補機が短絡故障した場合、ヒユーズに大電流が流れるので、ヒューズが溶断することによりバッテリが切り離される。この場合にも、インバータ回路とバッテリとの間が開放されることになる。
【0006】
これらのような、バッテリとインバータ回路の間が開放されるといった異常状態において、インバータ回路の正極側のスイッチング素子の全て、又は負極側のスイッチング素子の全てをオンし、回転電機の各相を互いに短絡させる相短絡処理を実行することが提案されている。相短絡処理を行うことで、回転電機の相電流をインバータ回路内で止めてインバータ回路の入力側に電力を回生させない方法が提案されている(例えば、特許文献1参照)。
【先行技術文献】
【特許文献】
【0007】
特開平9-47055号公報
【発明の概要】
【発明が解決しようとする課題】
【0008】
特許文献1では、異常時に相短絡処理を行い、回転電機の相電流をインバータ回路内で止め、インバータ回路の入力側に電力を回生させない方法が提案されている。この方法では、相短絡時に正極側のスイッチング素子の全て、又は負極側のスイッチング素子の全てがオンされるため、全てをオンした正極側のスイッチング素子、又は全てをオンした負極側スイッチング素子同士を接続したオン側の配線に電流が流れる状態となる。一方、全てをオフした負極側のスイッチング素子、又は全てをオフした正極側のスイッチング素子同士を接続したオフ側の配線には電流が流れない状態となる。そのため、インバータの正常駆動時に対して、相短絡駆動時に長時間かつ大電流がオン側の配線に流れ、オン側の配線が発熱することになる。オン側の配線の発熱が、オン側の配線に接続された平滑コンデンサなどの周辺部材に伝わることで、平滑コンデンサなどの周辺部材の耐熱温度が超過して周辺部材が故障するという課題があった。
【0009】
そこで、本開示は、相短絡駆動時のオン側の配線の発熱を抑制し、オン側の配線に接続された部品への熱害を低減した電力変換装置を得ることを目的としている。
【課題を解決するための手段】
【0010】
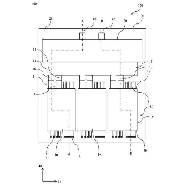
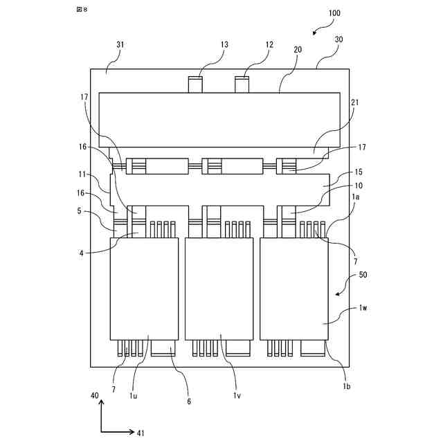
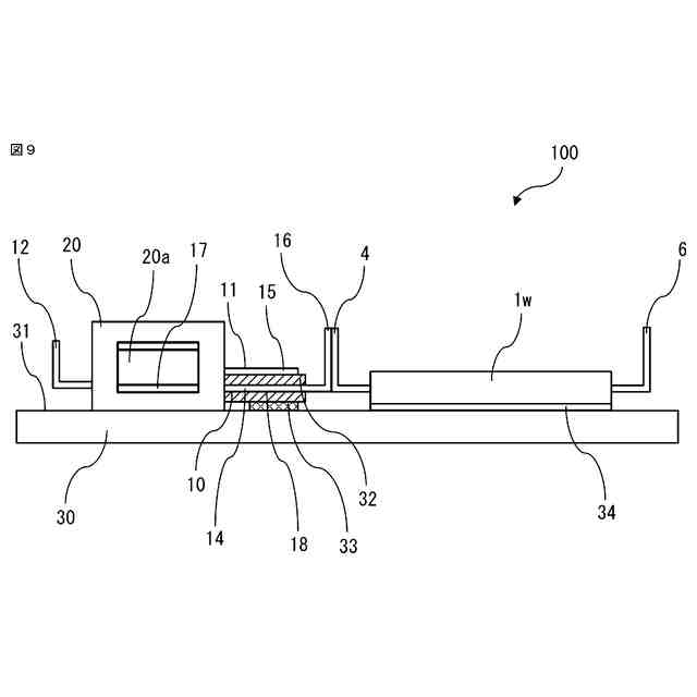
本開示の電力変換装置は、直流電源の正極側に一方の側で電気的に接続される正極側のスイッチング素子、及び正極側のスイッチング素子の他方の側に一方の側で直列に接続され、直流電源の負極側に他方の側で電気的に接続される負極側のスイッチング素子を有し、正極側のスイッチング素子の他方の側と負極側のスイッチング素子の一方の側との間の直列に接続された部分である接続部から交流が出力される一相分のアームが複数設けられ、複数相のアームが形成された電力変換部と、電力変換部から出力される交流を停止する場合に、正極側のスイッチング素子の全てをオンし、負極側のスイッチング素子の全てをオフする相短絡信号、又は、負極側のスイッチング素子の全てをオンし、正極側のスイッチング素子の全てをオフする相短絡信号の何れか一方の相短絡信号を正極側のスイッチング素子及び負極側のスイッチング素子の駆動部に出力する制御部と、複数相のアームにおける、全てがオンされる複数の正極側のスイッチング素子の一方の側の間、又は全てがオンされる複数の負極側のスイッチング素子の他方の側の間を接続した第一配線と、複数相のアームにおける、全てがオフされる複数の正極側のスイッチング素子の一方の側の間、又は全てがオフされる複数の負極側のスイッチング素子の他方の側の間を接続した第二配線と、を備え、第一配線の熱抵抗は、第二配線の熱抵抗よりも小さいものである。
【発明の効果】
(【0011】以降は省略されています)
この特許をJ-PlatPat(特許庁公式サイト)で参照する
関連特許
三菱電機株式会社
冷蔵庫
1か月前
三菱電機株式会社
換気扇
6日前
三菱電機株式会社
増幅器
1か月前
三菱電機株式会社
換気扇
1か月前
三菱電機株式会社
換気扇
1か月前
三菱電機株式会社
換気扇
1か月前
三菱電機株式会社
扇風機
1か月前
三菱電機株式会社
冷蔵庫
13日前
三菱電機株式会社
照明器具
7日前
三菱電機株式会社
電子機器
1か月前
三菱電機株式会社
収集装置
1か月前
三菱電機株式会社
電気機器
13日前
三菱電機株式会社
照明装置
27日前
三菱電機株式会社
換気装置
5日前
三菱電機株式会社
空気調和機
1か月前
三菱電機株式会社
加熱調理器
21日前
三菱電機株式会社
回路遮断器
21日前
三菱電機株式会社
半導体装置
13日前
三菱電機株式会社
半導体装置
1か月前
三菱電機株式会社
半導体装置
1か月前
三菱電機株式会社
保護リレー
1か月前
三菱電機株式会社
電動送風機
5日前
三菱電機株式会社
半導体装置
今日
三菱電機株式会社
半導体装置
今日
三菱電機株式会社
調理システム
1か月前
三菱電機株式会社
貯湯式給湯機
1か月前
三菱電機株式会社
照明システム
1か月前
三菱電機株式会社
炊飯システム
1か月前
三菱電機株式会社
ねじ締め装置
1か月前
三菱電機株式会社
貯湯式給湯機
1か月前
三菱電機株式会社
制御システム
27日前
三菱電機株式会社
空調システム
1か月前
三菱電機株式会社
点検管理装置
1か月前
三菱電機株式会社
貯湯式給湯機
27日前
三菱電機株式会社
光源デバイス
27日前
三菱電機株式会社
空調システム
29日前
続きを見る
他の特許を見る