TOP
|
特許
|
意匠
|
商標
特許ウォッチ
Twitter
他の特許を見る
10個以上の画像は省略されています。
公開番号
2025150167
公報種別
公開特許公報(A)
公開日
2025-10-09
出願番号
2024050907
出願日
2024-03-27
発明の名称
半導体装置
出願人
三菱電機株式会社
代理人
個人
,
個人
主分類
H10D
30/66 20250101AFI20251002BHJP()
要約
【課題】上部電極同士の電位を適切に維持することが可能な技術を提供することを目的とする。
【解決手段】半導体装置は、第1トレンチ内に設けられた第1-1トレンチゲート構造、第1-2トレンチゲート構造及びバリア構造と、第2トレンチ内に設けられた第2トレンチゲート構造と、第3トレンチ内に設けられ、第1-2トレンチゲート構造及び第2トレンチゲート構造と接続された第3トレンチゲート構造とを備える。バリア構造は、第1-1上部電極と第1-2上部電極との間の少なくとも一部に設けられ、第1-1上部電極と第1-2上部電極とを絶縁する絶縁膜とを含む。
【選択図】図2
特許請求の範囲
【請求項1】
第1方向に延設された第1トレンチと、前記第1トレンチに沿って前記第1方向に延設された第2トレンチと、前記第1方向と異なる第2方向に延設され、前記第1トレンチ及び前記第2トレンチと接続された第3トレンチとが設けられた半導体基板と、
前記第1トレンチ内に設けられた第1-1トレンチゲート構造及び第1-2トレンチゲート構造と、
前記第1トレンチ内、かつ、前記第1-1トレンチゲート構造と前記第1-2トレンチゲート構造との間に設けられたバリア構造と、
前記第2トレンチ内に設けられた第2トレンチゲート構造と、
前記第3トレンチ内に設けられ、前記第1-2トレンチゲート構造及び前記第2トレンチゲート構造と接続された第3トレンチゲート構造と
を備え、
前記第1-1トレンチゲート構造は、
第1下部電極と、
前記第1下部電極と絶縁されて前記第1下部電極上方に設けられた第1-1上部電極と
を含み、
前記第1-2トレンチゲート構造は、
前記第1下部電極と、
前記第1下部電極と絶縁されて前記第1下部電極上方に設けられた第1-2上部電極と
を含み、
前記バリア構造は、
前記第1下部電極と、
前記第1-1上部電極と前記第1-2上部電極との間の少なくとも一部に設けられ、前記第1-1上部電極と前記第1-2上部電極とを絶縁する絶縁膜と
を含み、
前記第2トレンチゲート構造は、
第2下部電極と、
前記第2下部電極と絶縁されて前記第2下部電極上方に設けられた第2上部電極と
を含み、
前記第3トレンチゲート構造は、
前記第1下部電極と前記第2下部電極とを電気的に接続する第3下部電極と、
前記第1-2上部電極と前記第2上部電極とを電気的に接続し、前記第3下部電極と絶縁されて前記第3下部電極上方に設けられた第3上部電極と
を含み、
前記第1下部電極、前記第2下部電極、前記第3下部電極、前記第1-2上部電極、前記第2上部電極、及び、前記第3上部電極は、ゲート電極及びダミー電極の一方と電気的に接続され、
前記第1-1上部電極は、前記ゲート電極及び前記ダミー電極の他方と電気的に接続されている、半導体装置。
続きを表示(約 760 文字)
【請求項2】
請求項1に記載の半導体装置であって、
前記第1トレンチ内に設けられ、前記第1下部電極が前記第1トレンチの上部まで設けられた下段引き上げ構造をさらに備え、
前記下段引き上げ構造、前記第1-2トレンチゲート構造、前記バリア構造、及び、前記第1-1トレンチゲート構造が、この順で前記第1方向において配列されている、半導体装置。
【請求項3】
請求項1または請求項2に記載の半導体装置であって、
前記バリア構造の前記第1下部電極は、前記絶縁膜を貫通して前記第1トレンチの上部まで設けられて、前記ゲート電極及び前記ダミー電極の前記一方と電気的に接続されている、半導体装置。
【請求項4】
請求項1に記載の半導体装置であって、
前記半導体基板に設けられたダイオード領域をさらに備え、
一の前記ダイオード領域、一の前記第1-2トレンチゲート構造、一の前記バリア構造、前記第1-1トレンチゲート構造、別の前記バリア構造、別の前記第1-2トレンチゲート構造、及び、別の前記ダイオード領域が、この順で前記第1方向において配列されている、半導体装置。
【請求項5】
請求項1または請求項2に記載の半導体装置であって、
前記バリア構造の前記絶縁膜は、前記第1-1上部電極と前記第1-2上部電極との間の全部に設けられている、半導体装置。
【請求項6】
請求項1または請求項2に記載の半導体装置であって、
前記バリア構造の前記絶縁膜のうち、前記第1-1上部電極の側部及び下部と接する部分、及び、前記第1-2上部電極の側部及び下部と接する部分の少なくともいずれか1つが、断面視において丸みを有する、半導体装置。
発明の詳細な説明
【技術分野】
【0001】
本開示は、半導体装置に関する。
続きを表示(約 2,400 文字)
【背景技術】
【0002】
アクティブトレンチとダミートレンチとを有する2段ゲート構造の半導体装置が知られている。例えば特許文献1の半導体装置では、アクティブトレンチ内の上下段の電極はどちらもゲート電極に接続されてゲート電位となり、ダミートレンチ内の、上段電極はエミッタ電極に接続されてダミー電位となり、下段電極はゲート電極に接続されてゲート電位となっている。
【先行技術文献】
【特許文献】
【0003】
特開2023-39138号公報
【発明の概要】
【発明が解決しようとする課題】
【0004】
しかしながら、上述したような半導体装置においては、上段電極がゲート電位となるアクティブトレンチと、上段電極がダミー電位となるダミートレンチとを並べると、いずれかの上段電極の電位を適切に維持できないという問題があった。
【0005】
そこで、本開示は、上記のような問題点に鑑みてなされたものであり、上部電極同士の電位を適切に維持することが可能な技術を提供することを目的とする。
【課題を解決するための手段】
【0006】
本開示に係る半導体装置は、第1方向に延設された第1トレンチと、前記第1トレンチに沿って前記第1方向に延設された第2トレンチと、前記第1方向と異なる第2方向に延設され、前記第1トレンチ及び前記第2トレンチと接続された第3トレンチとが設けられた半導体基板と、前記第1トレンチ内に設けられた第1-1トレンチゲート構造及び第1-2トレンチゲート構造と、前記第1トレンチ内、かつ、前記第1-1トレンチゲート構造と前記第1-2トレンチゲート構造との間に設けられたバリア構造と、前記第2トレンチ内に設けられた第2トレンチゲート構造と、前記第3トレンチ内に設けられ、前記第1-2トレンチゲート構造及び前記第2トレンチゲート構造と接続された第3トレンチゲート構造とを備え、前記第1-1トレンチゲート構造は、第1下部電極と、前記第1下部電極と絶縁されて前記第1下部電極上方に設けられた第1-1上部電極とを含み、前記第1-2トレンチゲート構造は、前記第1下部電極と、前記第1下部電極と絶縁されて前記第1下部電極上方に設けられた第1-2上部電極とを含み、前記バリア構造は、前記第1下部電極と、前記第1-1上部電極と前記第1-2上部電極との間の少なくとも一部に設けられ、前記第1-1上部電極と前記第1-2上部電極とを絶縁する絶縁膜とを含み、前記第2トレンチゲート構造は、第2下部電極と、前記第2下部電極と絶縁されて前記第2下部電極上方に設けられた第2上部電極とを含み、前記第3トレンチゲート構造は、前記第1下部電極と前記第2下部電極とを電気的に接続する第3下部電極と、前記第1-2上部電極と前記第2上部電極とを電気的に接続し、前記第3下部電極と絶縁されて前記第3下部電極上方に設けられた第3上部電極とを含み、前記第1下部電極、前記第2下部電極、前記第3下部電極、前記第1-2上部電極、前記第2上部電極、及び、前記第3上部電極は、ゲート電極及びダミー電極の一方と電気的に接続され、前記第1-1上部電極は、前記ゲート電極及び前記ダミー電極の他方と電気的に接続されている。
【発明の効果】
【0007】
本開示によれば、バリア構造は、第1-1上部電極と第1-2上部電極との間の少なくとも一部に設けられ、第1-1上部電極と第1-2上部電極とを絶縁する絶縁膜を含む。このような構成によれば、上部電極同士の電位を適切に維持することができる。
【図面の簡単な説明】
【0008】
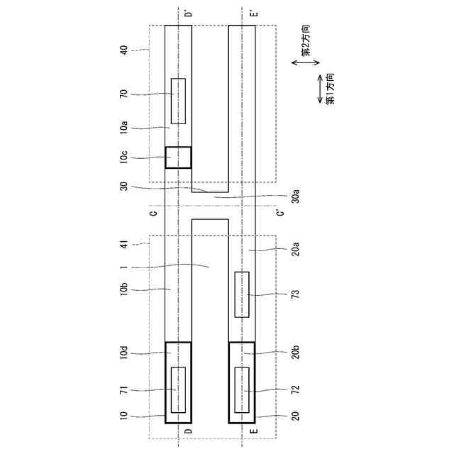
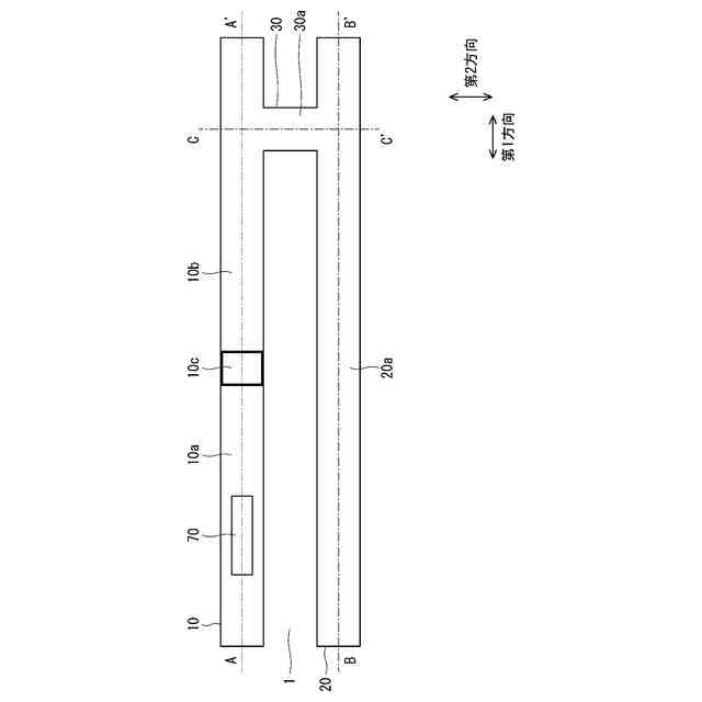
実施の形態1に係る半導体装置の構成を示す平面図である。
実施の形態1に係る半導体装置の構成を示す断面図である。
実施の形態1に係る半導体装置の構成を示す断面図である。
実施の形態1に係る半導体装置の構成を示す断面図である。
実施の形態2に係る半導体装置の構成を示す平面図である。
実施の形態2に係る半導体装置の構成を示す断面図である。
実施の形態2に係る半導体装置の構成を示す断面図である。
実施の形態3に係る半導体装置の構成を示す平面図である。
実施の形態3に係る半導体装置の構成を示す断面図である。
実施の形態3に係る半導体装置の構成を示す断面図である。
実施の形態4に係る半導体装置の構成を示す概略平面図である。
実施の形態4に係る半導体装置の構成を示す平面図である。
実施の形態4に係る半導体装置の構成を示す断面図である。
実施の形態5に係る半導体装置の構成を示す断面図である。
実施の形態6に係る半導体装置の構成を示す断面図である。
【発明を実施するための形態】
【0009】
以下、添付される図面を参照しながら実施の形態について説明する。以下の各実施の形態で説明される特徴は例示であり、すべての特徴は必ずしも必須ではない。また、以下に示される説明では、複数の実施の形態において同様の構成要素には同じまたは類似する符号を付し、異なる構成要素について主に説明する。また、以下に記載される説明において、「上」、「下」、「左」、「右」、「表」または「裏」などの特定の位置及び方向は、実際の実施時の位置及び方向とは必ず一致しなくてもよい。
【0010】
<実施の形態1>
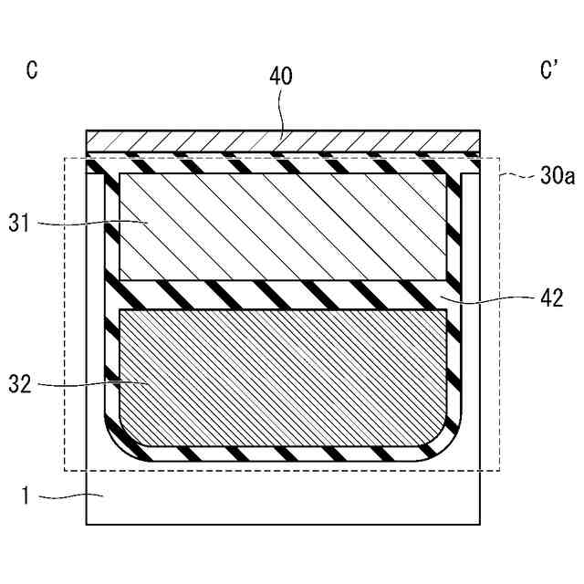
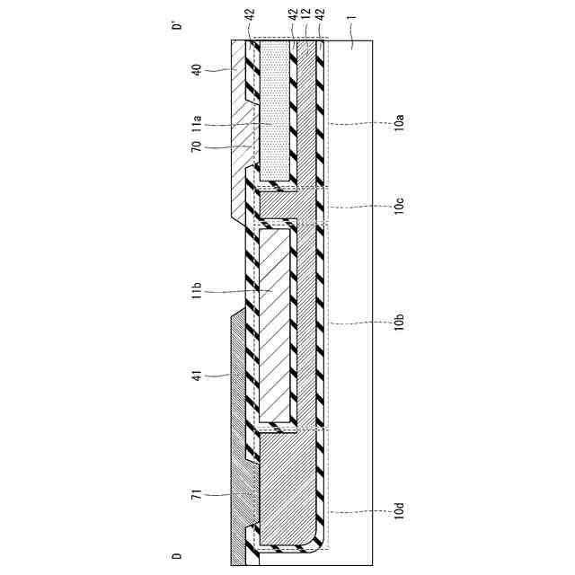
図1は、本実施の形態1に係る半導体装置の構成を示す平面図である。図2は、図1のA-A’線に沿った断面図であり、図3は、図1のB-B’線に沿った断面図であり、図4は、図1のC-C’線に沿った断面図である。
(【0011】以降は省略されています)
この特許をJ-PlatPat(特許庁公式サイト)で参照する
関連特許
三菱電機株式会社
増幅器
15日前
三菱電機株式会社
換気扇
24日前
三菱電機株式会社
冷蔵庫
11日前
三菱電機株式会社
換気扇
24日前
三菱電機株式会社
扇風機
9日前
三菱電機株式会社
換気扇
24日前
三菱電機株式会社
電子機器
25日前
三菱電機株式会社
収集装置
22日前
三菱電機株式会社
照明装置
2日前
三菱電機株式会社
半導体装置
10日前
三菱電機株式会社
保護リレー
10日前
三菱電機株式会社
空気調和機
17日前
三菱電機株式会社
半導体装置
1か月前
三菱電機株式会社
光源デバイス
2日前
三菱電機株式会社
点検管理装置
9日前
三菱電機株式会社
炊飯システム
11日前
三菱電機株式会社
貯湯式給湯機
11日前
三菱電機株式会社
調理システム
11日前
三菱電機株式会社
制御システム
2日前
三菱電機株式会社
照明システム
1か月前
三菱電機株式会社
貯湯式給湯機
2日前
三菱電機株式会社
貯湯式給湯機
12日前
三菱電機株式会社
空調システム
15日前
三菱電機株式会社
空調システム
4日前
三菱電機株式会社
ねじ締め装置
15日前
三菱電機株式会社
誘導加熱調理器
24日前
三菱電機株式会社
樹脂成形用金型
15日前
三菱電機株式会社
移動体監視装置
1日前
三菱電機株式会社
道路情報補正装置
17日前
三菱電機株式会社
ヒートポンプ装置
18日前
三菱電機株式会社
レンズモジュール
22日前
三菱電機株式会社
運転支援システム
9日前
三菱電機株式会社
全館空調システム
22日前
三菱電機株式会社
電流切替型DAC
1か月前
三菱電機株式会社
空気調和システム
2日前
三菱電機株式会社
回転電機ユニット
1日前
続きを見る
他の特許を見る