TOP
|
特許
|
意匠
|
商標
特許ウォッチ
Twitter
他の特許を見る
10個以上の画像は省略されています。
公開番号
2025168859
公報種別
公開特許公報(A)
公開日
2025-11-12
出願番号
2024073675
出願日
2024-04-30
発明の名称
空気清浄装置
出願人
三菱電機株式会社
代理人
弁理士法人加藤国際特許事務所
主分類
B03C
3/40 20060101AFI20251105BHJP(液体による,または,風力テーブルまたはジグによる固体物質の分離;固体物質または流体から固体物質の磁気または静電気による分離,高圧電界による分離)
要約
【課題】室内の臭気を減らす機能を有する空気清浄装置の製品サイズの増加を抑える。
【解決手段】空気清浄装置50に備えられる高電圧ユニット5は、放電電極16と、対向電極17と、放電電極16及び対向電極17を覆うカバー14、15とを有し、放電電極16と対向電極17との間に電圧が印加されることにより放電電極16と対向電極17との間を流れる空気流から粉塵を捕捉する。カバー14、15の少なくとも一部が除臭剤を含んだ樹脂で構成される。
【選択図】図2
特許請求の範囲
【請求項1】
空気の取込口と空気の吐出口とを有する本体、
前記本体の内部に設けられ、前記取込口から前記吐出口に向かう空気流を発生させる送風機、及び、
前記送風機と前記吐出口との間に設けられた高電圧ユニット
を備え、
前記高電圧ユニットは、第1の電極と、第2の電極と、前記第1の電極及び前記第2の電極を覆うカバーとを有し、前記第1の電極と前記第2の電極との間に電圧が印加されることにより前記第1の電極と前記第2の電極との間を流れる前記空気流から粉塵を捕捉し、
前記カバーの少なくとも一部が除臭剤を含んだ樹脂で構成される、空気清浄装置。
続きを表示(約 330 文字)
【請求項2】
前記本体のなかの前記空気流の流路に設けられた脱臭フィルターを備える、請求項1に記載の空気清浄装置。
【請求項3】
前記高電圧ユニットの前記カバーに含まれる前記除臭剤は、前記脱臭フィルターにより脱臭される臭気とは同じ臭気を取り除く、請求項2に記載の空気清浄装置。
【請求項4】
前記高電圧ユニットの前記カバーに含まれる前記除臭剤は、前記脱臭フィルターにより脱臭される臭気とは異なる臭気を取り除く、請求項2に記載の空気清浄装置。
【請求項5】
前記カバーとは異なる部材であって前記空気流に触れる部材が除臭剤を含ませた樹脂で構成された、請求項1ないし請求項4のいずれか一項に記載の空気清浄装置。
発明の詳細な説明
【技術分野】
【0001】
本開示は、室内の空気を清浄する空気清浄装置に関する。
続きを表示(約 2,400 文字)
【背景技術】
【0002】
建物内の空気を清浄化する目的で空気清浄装置が広く使用されている。空気清浄装置の粉塵を除去する形態の一つに電気式空気清浄装置がある。これは空気中に浮遊する粉塵を、静電気力を利用して除去する装置であり、空気中の浮遊粒子をコロナ放電によって帯電させる荷電部と、帯電された粉塵をクーロン力で集塵板に付着させる集塵部とで構成する。電気式空気清浄装置は、例えば、特許文献1に開示されている。
【0003】
空気清浄装置の別の形態として機械的集塵式空気清浄装置がある。これは微小粒子を含む空気を非常に目の細かいHEPA(High Efficiency Particular Airfilter)と呼ばれるフィルターに通し、微小粒子を機械的にこし取る方式のものである。HEPAを用いた空気清浄装置は、例えば、特許文献2に開示されている。他方で、臭気を除去する形態の一つに、活性炭又はセラミックに脱臭剤を添着したハニカム構造の脱臭フィルターがある。脱臭フィルターに空気を通すことで臭気の除去が行われる。特許文献2には、脱臭効果のある脱臭部をHEPAとともに搭載した空気清浄装置が開示されている。
【先行技術文献】
【特許文献】
【0004】
特開平4-18944号公報
特許第5835288号公報
【発明の概要】
【発明が解決しようとする課題】
【0005】
電気式空気清掃装置に脱臭、消臭といった臭気を取り除く機能を持たすには、高い電圧を印加して集塵する高電圧ユニットに加えて、臭気を除去する機構を設ける必要がある。そのため、空気清浄装置の製品サイズが大きくなる。従って本開示は、室内の臭気を減らす機能を有する空気清浄装置においてその製品サイズの増加を抑えることを目的とするものである。
【課題を解決するための手段】
【0006】
本開示に係る空気清浄装置は、第1の電極及び第2の電極を有し、第1の電極と前記第2の電極との間に電圧が印加されることにより第1の電極と第2の電極との間を流れる前記空気流から粉塵を捕捉する高電圧ユニットを備えるものである。この高電圧ユニットは第1の電極及び第2の電極を覆うカバーをさらに有し、カバーの少なくとも一部が除臭剤を含んだ樹脂で構成される。
【発明の効果】
【0007】
本開示に係る空気清浄装置によれば、室内の臭気を減らす機能を有する空気清浄装置においてその製品サイズの増加を抑えることができる。
【図面の簡単な説明】
【0008】
実施の形態1に係る空気清浄装置50を示す模式図
空気清浄装置50に設けられる高電圧ユニット5の組立模式図
高電圧ユニット5の分解模式図
実施の形態1に係る空気清浄装置50を示す断面図であって、天井に設置された状態を示す断面図
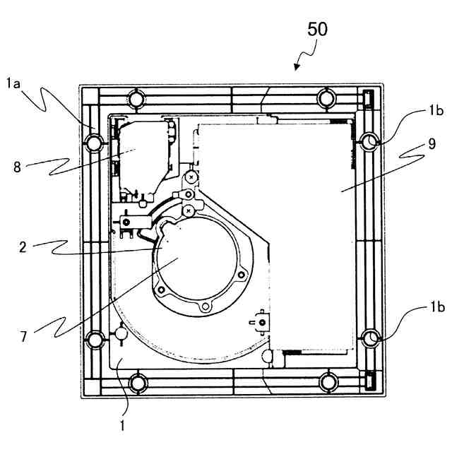
空気清浄装置50を示す上面図
空気清浄装置50を示す底面図
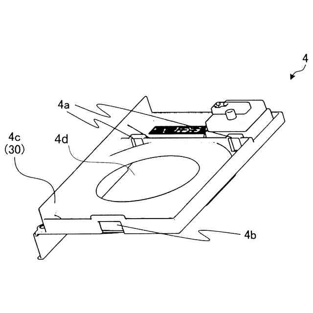
空気清浄装置50に設けられるファンケーシング4を示す斜視図
空気清浄装置50を示す側面図
空気清浄装置50に設けられた化粧グリルが開いた状態を示す側面図
空気清浄装置50を下面側から見た斜視図であって、化粧グリル6及び高電圧ユニット5が取り外された状態の斜視図
化粧グリル6を対向面28側から見た斜視図
空気清浄装置50に設けられる埃取フィルター23を示す斜視図
高電圧ユニット5を示す斜視図
高電圧ユニット5を示す斜視図であって図13とは異なる方向に見た斜視図
高電圧ユニット5から脱臭フィルターカバー21を取外す方法を示す斜視図
高電圧ユニット5を示す断面図
高電圧ユニット5の一部を拡大した部分拡大図
脱臭フィルターカバー21が取外された高電圧ユニット5を示す斜視図
脱臭フィルター12が取外された高電圧ユニット5を示す斜視図
脱臭フィルター12が取外された高電圧ユニット5を示す上面図
放電部上カバー14が取外された高電圧ユニット5を示す斜視図
高電圧ユニット5の放電部下カバー15に放電電極16が取り付けられた取付構造を示した斜視図
高電圧ユニット5を示す断面図であって図16とは異なる箇所の断面図
化粧グリル6及び高電圧ユニット5が取り外された空気清浄装置50を下面側から見た斜視図であって図10とは異なる方向に見た斜視図
空気清浄装置50の本体1内に設けられた高電圧ユニット端子台22を示す斜視図
高電圧ユニット5と高電圧ユニット端子台22と接続部分を拡大した部分拡大断面図
高電圧ユニット端子台22の給電端子22aを示す斜視図
【発明を実施するための形態】
【0009】
以下に、本開示の実施の形態を図面に基づいて詳細に説明する。なお、図面及び以下の説明において、同一のもの及び実質的に同一のものには同一の符号を付し、同一の符号を付したものの説明は繰り返さない。
【0010】
実施の形態1.
図1は、本開示の実施の形態1に係る空気清浄装置50を示す模式図である。空気清浄装置50は、取込口27aと吐出口27bとを有する本体1と、本体1の内部に設けられ、取込口27aから吐出口27bに向かう空気流を発生させる送風機2と、空気流が流れる本体1内の流路に設けられる高電圧ユニット5と、を備える。高電圧ユニット5は特に送風機2と吐出口27bとの間の流路に設置される。
(【0011】以降は省略されています)
この特許をJ-PlatPat(特許庁公式サイト)で参照する
関連特許
三菱電機株式会社
冷蔵庫
15日前
三菱電機株式会社
増幅器
1か月前
三菱電機株式会社
冷蔵庫
1か月前
三菱電機株式会社
扇風機
1か月前
三菱電機株式会社
換気扇
8日前
三菱電機株式会社
換気装置
7日前
三菱電機株式会社
照明装置
29日前
三菱電機株式会社
電気機器
15日前
三菱電機株式会社
照明器具
9日前
三菱電機株式会社
冷凍冷蔵庫
今日
三菱電機株式会社
電動送風機
7日前
三菱電機株式会社
加熱調理器
23日前
三菱電機株式会社
半導体装置
15日前
三菱電機株式会社
半導体装置
2日前
三菱電機株式会社
半導体装置
1か月前
三菱電機株式会社
保護リレー
1か月前
三菱電機株式会社
半導体装置
2日前
三菱電機株式会社
回路遮断器
23日前
三菱電機株式会社
半導体装置
今日
三菱電機株式会社
制御システム
29日前
三菱電機株式会社
光源デバイス
29日前
三菱電機株式会社
点検管理装置
1か月前
三菱電機株式会社
炊飯システム
1か月前
三菱電機株式会社
貯湯式給湯機
1か月前
三菱電機株式会社
調理システム
1か月前
三菱電機株式会社
位置算出装置
8日前
三菱電機株式会社
空調システム
1か月前
三菱電機株式会社
車両制御装置
7日前
三菱電機株式会社
貯湯式給湯機
29日前
三菱電機株式会社
貯湯式給湯機
1か月前
三菱電機株式会社
空気清浄装置
23日前
三菱電機株式会社
空調システム
1か月前
三菱電機株式会社
電力変換装置
2日前
三菱電機株式会社
電力変換装置
2日前
三菱電機株式会社
移動体監視装置
28日前
三菱電機株式会社
見守りシステム
8日前
続きを見る
他の特許を見る