TOP
|
特許
|
意匠
|
商標
特許ウォッチ
Twitter
他の特許を見る
10個以上の画像は省略されています。
公開番号
2025144688
公報種別
公開特許公報(A)
公開日
2025-10-03
出願番号
2024044488
出願日
2024-03-21
発明の名称
荷電装置
出願人
アマノ株式会社
代理人
個人
,
個人
主分類
B03C
3/40 20060101AFI20250926BHJP(液体による,または,風力テーブルまたはジグによる固体物質の分離;固体物質または流体から固体物質の磁気または静電気による分離,高圧電界による分離)
要約
【課題】装置の小型化、軽量化を実現しつつ、微細な塵埃に対して高い捕集効率を維持することができ、上部空間の含塵空気の浄化に適した荷電装置を提供する。
【解決手段】
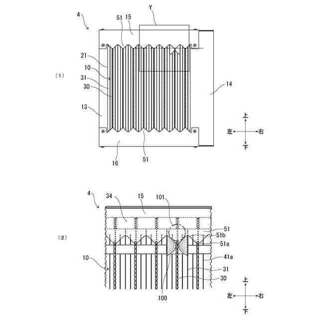
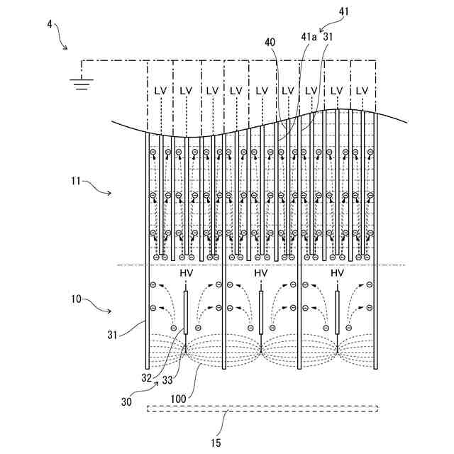
荷電装置4は、気流の流通方向と直交する配列方向に配列された複数の放電用電極30と、配列方向に配列された複数の接地電極31と、流通方向の上流側で放電用電極30および接地電極31を臨むように開口した流入側開口部21と、流入側開口部21に流入する気流の一部を妨げる閉鎖部材51とを備え、放電用電極30と接地電極31とは配列方向に所定の間隔を介して交互に配置されていて、高電圧の印加により、放電用電極30と接地電極31との間に帯電エリア100が形成され、閉鎖部材51は、放電用電極30および接地電極31よりも流通方向の上流側で、帯電エリア100の形成されない非帯電エリア101を閉鎖するように配置される。
【選択図】図7
特許請求の範囲
【請求項1】
所定の流通方向に流通する気流中の塵埃をコロナ放電により帯電して捕集する荷電装置であって、
前記流通方向と直交する配列方向に配列された複数の放電用電極と、
前記配列方向に配列された複数の接地電極と、
前記流通方向の上流側で前記放電用電極および前記接地電極を臨むように開口した開口部と、
前記開口部に流入する前記気流の一部を妨げる閉鎖部材と、を備え、
前記放電用電極と前記接地電極とは前記配列方向に所定の間隔を介して交互に配置されていて、高電圧の印加により、前記放電用電極と前記接地電極との間に帯電エリアが形成され、
前記閉鎖部材は、前記放電用電極および前記接地電極よりも前記流通方向の上流側で、前記帯電エリアの形成されない非帯電エリアを閉鎖するように配置されることを特徴とする荷電装置。
続きを表示(約 1,000 文字)
【請求項2】
前記複数の放電用電極を有していて、高電圧の印加により塵埃を帯電させる荷電部と、
前記荷電部よりも前記流通方向の下流側に配置され、前記荷電部で帯電された塵埃を捕集する集塵部と、を備え、
前記放電用電極は、前記流通方向に沿った複数の放電部を有し、
前記複数の放電部は、前記流通方向および前記配列方向に直交する伸長方向に配列され、
前記接地電極は、前記放電用電極と所定間隔を空けて前記放電用電極と平行に設けられることを特徴とする請求項1に記載の荷電装置。
【請求項3】
前記放電部は、金属製の線電極を複数本束ねて形成されたブラシであることを特徴とする請求項2に記載の荷電装置。
【請求項4】
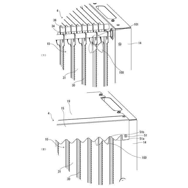
前記閉鎖部材は、前記流通方向において前記開口部と対向していて、前記伸長方向に凹凸形状で形成されることを特徴とする請求項2に記載の荷電装置。
【請求項5】
前記閉鎖部材の前記凹凸形状は、三角形の山と谷とが交互に形成された形状であることを特徴とする請求項4に記載の荷電装置。
【請求項6】
前記閉鎖部材の前記凹凸形状は、前記複数の放電用電極と同数の凸部を有することを特徴とする請求項4に記載の荷電装置。
【請求項7】
前記閉鎖部材は、前記凹凸形状の各凸部の位置が前記配列方向において前記各放電用電極の位置と重なるように配置されることを特徴とする請求項4に記載の荷電装置。
【請求項8】
前記閉鎖部材は、前記凹凸形状の各凸部の先端の位置が、前記各放電用電極における前記複数の放電部のうち、前記伸長方向の端側に設けられた前記放電部の位置と重なるように配置されることを特徴とする請求項4に記載の荷電装置。
【請求項9】
前記配列方向において、前記閉鎖部材の前記凹凸形状の各凸部または各凹部の幅は、前記各放電用電極の位置を中心に、前記放電用電極と前記接地電極との間に定められた所定の放電ギャップの2倍に設定されることを特徴とする請求項4に記載の荷電装置。
【請求項10】
前記流通方向の下流側で、前記伸長方向の端側から前記気流の気流領域に突出した排出側枠体を更に備え、
前記排出側枠体は、前記配列方向に亘って矩形状に開口した排出整流部を有することを特徴とする請求項2に記載の荷電装置。
(【請求項11】以降は省略されています)
発明の詳細な説明
【技術分野】
【0001】
本発明は、室内において空気中の塵埃を集塵する電気集塵装置の荷電装置に関する。
続きを表示(約 2,100 文字)
【背景技術】
【0002】
従来、工場などの室内では、加工設備などの作業設備から発生する塵埃を集塵するために電気集塵装置を設置している。特に、工場内の天井付近などの上部空間を漂う塵埃は微細であるため、このような塵埃を捕集するためにフィルター式の集塵装置を用いる場合、HEPAフィルターなどのメッシュが非常に細かなフィルターを適用するので、高圧力損失のタイプの集塵装置が必要となる。一方、電気集塵装置は、塵埃を含む空気の流通を妨げることなく、コロナ放電により帯電させた塵埃を接地(アース)板に捕集させるため、微細な塵埃を低い圧力損失で捕集することが可能であり、フィルター式の集塵装置に比べて、微細な塵埃を効果的に集塵することができるので、工場内の上部空間を漂う微細な塵埃を集塵するのに有効に用いられる。
【0003】
例えば、特許文献1に開示された空気清浄機は、空気通路の上流側に配設された放電極と放電対極との間でコロナ放電を行って該通路内の塵などを帯電せしめ、この塵などを下流側に配設された集塵電極に付着せしめるものである。この空気清浄機では、放電対極が多数の円孔が穿設された金属板から形成されており、放電極がこの円孔の各中心部に配設されている。これにより、放電極に高電圧を印加して、放電対極の円孔の縁部と放電極との間にコロナ放電を発生されることで、円孔を通過する気流中の塵埃を帯電させている。
【0004】
また、特許文献2に開示された電気集塵デバイスは、被処理ガスが流れる風路内に、被処理ガス中の塵埃を帯電させる帯電部と、荷電電極と集塵電極とを交互に積層し、帯電部で帯電された塵埃を集塵電極上に捕集する集塵部と、集塵電極上に捕集された塵埃を洗浄するための洗浄手段とを備えたものである。この電気集塵デバイスにおいて、洗浄手段は、集塵電極の上方側に配置されており、水を溜める貯留部と、集塵電極上に水を流すスリットを備えると共に、集塵電極を支持する集塵電極支持部材を備えている。これにより、電極表面に水膜を形成させて、電極表面を清浄な状態に保つようにしている。
【先行技術文献】
【特許文献】
【0005】
実全昭60-119935号公報
特開2012-205974号公報
【発明の概要】
【発明が解決しようとする課題】
【0006】
工場などの室内において天井付近などの上部空間を漂う塵埃を電気集塵装置で効率的に捕集するためには、電気集塵装置を天井から吊り下げて固定する天吊り方式が望ましい。天吊り方式の電気集塵機は小型で軽量のものが望ましいが、微細な塵埃に対して高い捕集効率を維持しつつ、電気集塵装置を小型化、軽量化するためには、電極の圧力損失を下げるなどの工夫が必要となる。
【0007】
特許文献1の空気清浄機のような従来技術では、接地極のアース板である放電対極の金属板に円孔を設けて、円孔に含塵空気を流通させつつ、コロナ放電を発生させることで、塵埃を帯電させるように構成されている。しかしながら、気流に対向して配置されたアース板の複数の円孔に、含塵空気を全て流通させる構成では、荷電装置(電極)の圧力損失が高くなってしまうため、電気集塵装置を小型化、軽量化して天吊り方式を適用することが困難であり、上部空間を漂う塵埃を効率的に捕集することが困難である。
【0008】
上記の理由により、天吊り方式の電気集塵装置では、放電用電極と接地電極とを含塵空気の気流方向に平行に配置した平行平板式の荷電装置(電極)を用いることで圧力損失を低くすることができ、有利である。平行平板式の荷電装置では、放電用電極と接地電極との間で、高電圧を印加してコロナ放電を発生させて帯電エリアを形成するため、含塵空気が帯電エリアを通過せずに非帯電エリアを通過する場合がある。そのため、平行平板式の荷電装置が、高い捕集効率を維持するために、含塵空気を帯電エリアで積極的に通過させる工夫が必要となる。
【0009】
特許文献2の電気集塵デバイスのような従来技術では、帯電部が平行平板式の荷電装置を採用し、接地電極と放電電極との間のコロナ放電により塵埃を帯電しているが、含塵空気の帯電エリアでの積極的な通過や、非帯電エリアでの通過の抑制を図るものではない。また、集塵部が集塵電極上に捕集された塵埃を洗浄するために、集塵電極の上方側で水を溜める貯留部と、集塵電極上に水を流すスリットを備えているが、塵埃の帯電効率を高めて高い捕集効率を維持することを考慮していない。
【0010】
本発明は、上述したような問題に鑑みなされたものであり、本発明の課題は、装置の小型化、軽量化を実現しつつ、微細な塵埃に対して高い捕集効率を維持することができ、上部空間の含塵空気の浄化に適した荷電装置を提供することにある。
【課題を解決するための手段】
(【0011】以降は省略されています)
この特許をJ-PlatPat(特許庁公式サイト)で参照する
関連特許
アマノ株式会社
荷電装置
4日前
アマノ株式会社
粉体排出装置
2か月前
アマノ株式会社
加工装置、集塵装置、及び集塵方法
26日前
アマノ株式会社
情報処理システム、情報処理方法、及びプログラム
4日前
アマノ株式会社
情報処理システム、情報処理方法、及びプログラム
3か月前
アマノ株式会社
駐車場管理システム、駐車場管理方法、及びプログラム
今日
アマノ株式会社
駐車場管理システム、駐車場管理方法、及びプログラム
29日前
アマノ株式会社
荷電装置
4日前
宏幸株式会社
電磁誘導渦電流複合選別機
6か月前
富士電機株式会社
ガス処理システム
2か月前
個人
水流式選別装置
4か月前
鈴健興業株式会社
湿式選別システムおよび湿式選別方法
12日前
パナソニックIPマネジメント株式会社
電気集塵装置
1か月前
日本永磁株式会社
磁性異物除去装置
1か月前
日本永磁株式会社
磁性異物除去装置
2か月前
冨士色素株式会社
磁性体を含む粉体の磁気選別方法及び装置
4か月前
国立大学法人東海国立大学機構
流体浄化装置
5か月前
株式会社SCREENホールディングス
分離チップ
3か月前
株式会社SCREENホールディングス
分離チップ
3か月前
大成建設株式会社
磁性体回収装置および磁性体回収方法
5か月前
国立研究開発法人産業技術総合研究所
湿式比重選別機
4か月前
国立大学法人 名古屋工業大学
帯電状態の切り替えにより花粉を吸着する金網およびこれを備えた網戸
1か月前
三星電子株式会社
電気集塵装置
1か月前
プライムプラネットエナジー&ソリューションズ株式会社
金属捕集器およびその利用
4か月前
JFEスチール株式会社
スローピングシュート、シュート装置及び、粒状物の分級方法
4か月前
三星電子株式会社
帯電装置及び電気集塵装置
1か月前
株式会社島津製作所
マグネットプレート、分離装置およびマグネットプレートを用いる自動分注機
5か月前
住友化学株式会社
浮選剤およびヒ素非含有銅鉱物の回収方法
2か月前
三菱ケミカルエンジニアリング株式会社
水中油型懸濁液の油水分離方法および分離装置
5か月前
株式会社レゾナック
磁性異物分離装置、磁性異物分離方法、及び封止用樹脂組成物の製造方法
5日前
学校法人 芝浦工業大学
磁性異物粉分離装置及び磁性異物粉分離方法
4か月前
アムジエン・インコーポレーテツド
磁気支援式分離装置及び関連方法
5か月前
コリア インスティチュート オブ ジオサイエンス アンド ミネラル リソースズ
土壌試料の粒度を選別するための一体型篩装置
5か月前
広東美的環境電器制造有限公司
ファン
2か月前
財團法人工業技術研究院
磁性物質分離装置
2か月前
財團法人工業技術研究院
磁性物質分離装置
2か月前
続きを見る
他の特許を見る