TOP
|
特許
|
意匠
|
商標
特許ウォッチ
Twitter
他の特許を見る
公開番号
2025137992
公報種別
公開特許公報(A)
公開日
2025-09-25
出願番号
2024036559
出願日
2024-03-11
発明の名称
湿式選別システムおよび湿式選別方法
出願人
鈴健興業株式会社
代理人
個人
主分類
B03B
5/00 20060101AFI20250917BHJP(液体による,または,風力テーブルまたはジグによる固体物質の分離;固体物質または流体から固体物質の磁気または静電気による分離,高圧電界による分離)
要約
【課題】水に浮くような軽い廃棄物が相応に湿っていても、その大きさ違いで、安定して選別可能な湿式選別システム及び湿式選別方法を提供する。
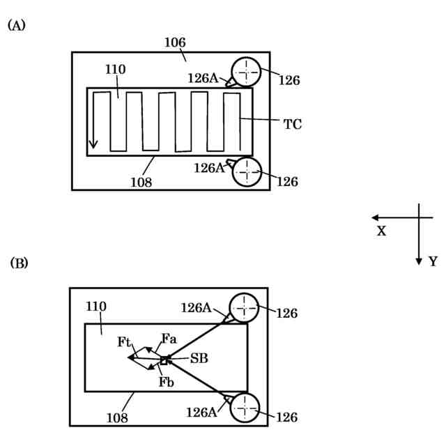
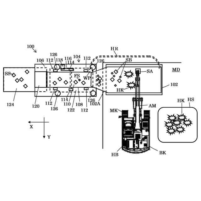
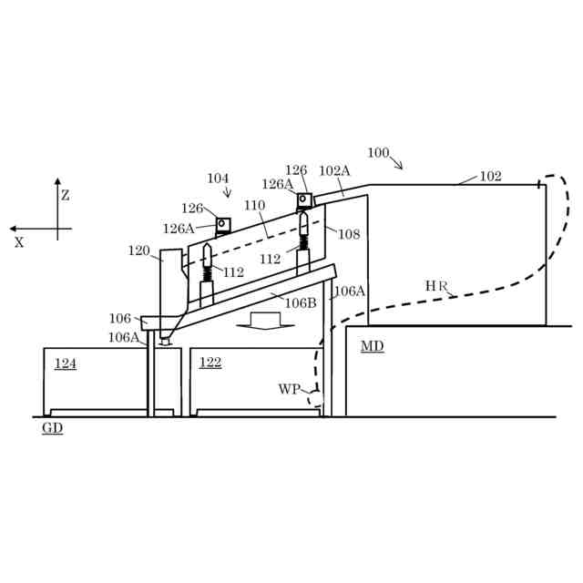
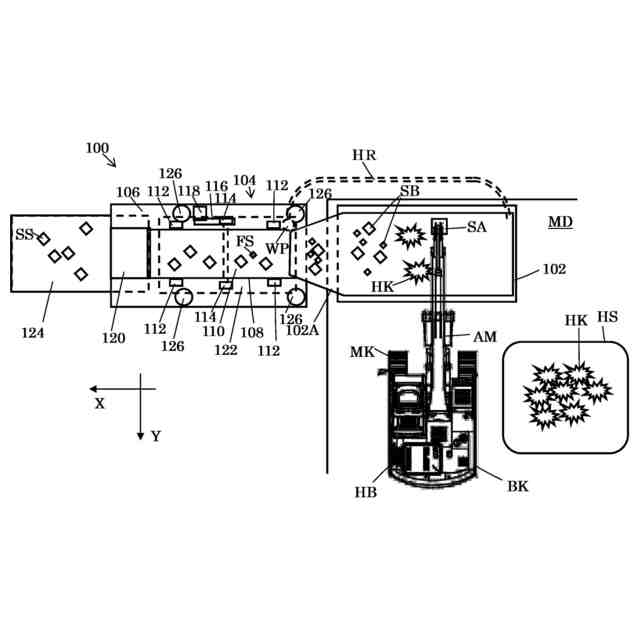
【解決手段】廃棄物HKの投入される選別水槽102と、選別水槽102から流出する選別物SBを受け取り、大きさ別に篩い分ける振動篩機104と、を備える湿式選別システム100であって、振動篩機104は、選別水槽側端部から下降傾斜した形態の振動するスクリーン110と、スクリーン110の真下に配置され、スクリーン110で篩い落とされる第1選別物FSを収納する第1コンテナ122と、スクリーン110で篩い落とされずに振動篩機104を通過する第2選別物SSを収納する第2コンテナ124と、を備え、更に、スクリーン110の所定の個所に散水可能とする散水ノズル126Aを備える1以上の散水機126を備える。
【選択図】図1
特許請求の範囲
【請求項1】
廃棄物の投入される選別水槽と、該選別水槽から流出する選別物を受け取り、大きさ別に篩い分ける振動篩機と、を備える湿式選別システムであって、
前記振動篩機は、選別水槽側端部から下降傾斜した形態の振動するスクリーンと、該スクリーンの真下に配置され、該スクリーンで篩い落とされる第1選別物を収納する第一コンテナと、該スクリーンで篩い落とされずに該振動篩機を通過する第2選別物を収納する第2コンテナと、を備え、更に、
前記スクリーンの所定の個所に散水可能とする散水ノズルを備える1以上の散水機を備える
ことを特徴とする湿式選別システム。
続きを表示(約 920 文字)
【請求項2】
請求項1において、更に、
前記選別水槽に前記廃棄物を投入し、前記選別水槽内で該廃棄物の位置及び形態を変更可能とする作業アタッチメントと、該作業アタッチメントを揺動可能に支持するアーム体と、を備える作業機械を備える
ことを特徴とする湿式選別システム。
【請求項3】
請求項1において、
前記第1コンテナには水中ポンプが設けられ、該水中ポンプは該第1コンテナに一定量の水量が溜まると、その水を前記選別水槽の反振動篩機側端部に供給する
ことを特徴とする湿式選別システム。
【請求項4】
請求項1において、
前記散水機は、前記振動篩機の選別水槽側端部に配置されている
ことを特徴とする湿式選別システム。
【請求項5】
請求項1において、更に、
前記散水機は、前記スクリーンの全面に対して所定の間隔で散水可能とされている
ことを特徴とする湿式選別システム。
【請求項6】
請求項5において、
前記散水機は、前記スクリーンを挟んで同一高さで対に配置され、該対となる散水機からは、同一タイミングで、該スクリーンの同一箇所に散水される
ことを特徴とする湿式選別システム。
【請求項7】
請求項1において、
当該湿式選別システムは車載可能とされている
ことを特徴とする湿式選別システム。
【請求項8】
廃棄物を選別水槽に投入し、該選別水槽から流出する選別物を受け取り、振動するスクリーンを使って大きさ別に篩い分ける湿式選別方法であって、
前記選別水槽から前記選別物を、前記選別水槽側端部から下降傾斜した形態を備える振動する前記スクリーンに投入するステップと、
前記スクリーンの所定の個所に散水するステップと、
該スクリーンの真下で、該スクリーンで篩い落とされる第1選別物を回収するステップと、
該スクリーンで篩い落とされない第2選別物を回収するステップと、
を含む
ことを特徴とする湿式選別方法。
発明の詳細な説明
【技術分野】
【0001】
本発明は湿式選別システムおよび湿式選別方法に関する。
続きを表示(約 1,300 文字)
【背景技術】
【0002】
特許文献1には、廃棄物を振動スクリーンで骨材と土砂とを分離選別して、その骨材を水槽に投入して、骨材の洗浄と浮遊物の除去とを行う工程が開示されている。このような工程により、特許文献1では骨材の効率的な再生を図っている。
【先行技術文献】
【特許文献】
【0003】
実用新案登録第3052126号
【発明の概要】
【発明が解決しようとする課題】
【0004】
しかしながら、文献1によれば、水に浮くような浮遊物をその大きさで選別することは極めて困難である。そこで、浮遊物のみを更に振動篩機で選別することが考えられるが、浮遊物が軽いこと(場合によっては極端に小さいこと)も相まって、振動篩機が目詰まりを起こしてしま可能性がある。
【0005】
同様に、振動篩機に投入する廃棄物が相応に湿っている場合も多く、その場合にも振動篩機が目詰まりを起こしてしま可能性がある。
【0006】
そこで、本発明は、前記問題点を解決するべくなされたもので、水に浮くような軽い廃棄物が相応に湿っていても、その大きさ違いを、安定して選別可能な湿式選別システム及び湿式選別方法を提供することを課題とする。
【課題を解決するための手段】
【0007】
本発明は、廃棄物の投入される選別水槽と、該選別水槽から流出する選別物を受け取り、大きさ別に篩い分ける振動篩機と、を備える湿式選別システムであって、前記振動篩機が、前記選別水槽側端部から下降傾斜した形態の振動するスクリーンと、該スクリーンの真下に配置され、該スクリーンで篩い落とされる第1選別物を収納する第1コンテナと、該スクリーンで篩い落とされずに該振動篩機を通過する第2選別物を収納する第2コンテナと、を備え、前記スクリーンの所定の個所に散水可能とする散水ノズルを備える1以上の散水機を備えたことにより、前記課題を解決したものである。
【0008】
本発明では、廃棄物の投入される選別水槽と、該選別水槽から流出する選別物を受け取り、大きさ別に篩い分ける振動篩機と、を備える。このため、廃棄物が湿っている状態に左右されずに、安定して選別することができる。
【0009】
また、振動篩機が、選別水槽側端部から下降傾斜した形態の振動するスクリーンを備えることで、選別物の移動を容易としている。更に、スクリーンの所定の個所に散水可能とする散水ノズルを備える1以上の散水機を備えているので、スクリーンの目詰まりを起こした箇所を所定の個所として、散水が可能となるので、目詰まりを容易に解消することができる。
【発明の効果】
【0010】
本発明によれば、水に浮くような軽い廃棄物が相応に湿っていても、その大きさ違いを、安定して選別可能な湿式選別システム及び湿式選別方法を提供するが可能となる。
【図面の簡単な説明】
(【0011】以降は省略されています)
この特許をJ-PlatPat(特許庁公式サイト)で参照する
関連特許
鈴健興業株式会社
敷板部材
4日前
鈴健興業株式会社
消波ブロック保持装置
2か月前
鈴健興業株式会社
流体放出ユニット及び作業機械
2か月前
鈴健興業株式会社
湿式選別システムおよび湿式選別方法
12日前
鈴健興業株式会社
消波ブロック把持装置及び消波ブロック移動方法
4か月前
アマノ株式会社
荷電装置
4日前
富士電機株式会社
ガス処理システム
2か月前
個人
水流式選別装置
4か月前
鈴健興業株式会社
湿式選別システムおよび湿式選別方法
12日前
日本永磁株式会社
磁性異物除去装置
2か月前
パナソニックIPマネジメント株式会社
電気集塵装置
1か月前
日本永磁株式会社
磁性異物除去装置
1か月前
冨士色素株式会社
磁性体を含む粉体の磁気選別方法及び装置
4か月前
株式会社SCREENホールディングス
分離チップ
3か月前
株式会社SCREENホールディングス
分離チップ
3か月前
大成建設株式会社
磁性体回収装置および磁性体回収方法
5か月前
国立研究開発法人産業技術総合研究所
湿式比重選別機
4か月前
国立大学法人 名古屋工業大学
帯電状態の切り替えにより花粉を吸着する金網およびこれを備えた網戸
1か月前
三星電子株式会社
電気集塵装置
1か月前
プライムプラネットエナジー&ソリューションズ株式会社
金属捕集器およびその利用
4か月前
JFEスチール株式会社
スローピングシュート、シュート装置及び、粒状物の分級方法
4か月前
三星電子株式会社
帯電装置及び電気集塵装置
1か月前
株式会社島津製作所
マグネットプレート、分離装置およびマグネットプレートを用いる自動分注機
5か月前
住友化学株式会社
浮選剤およびヒ素非含有銅鉱物の回収方法
2か月前
株式会社レゾナック
磁性異物分離装置、磁性異物分離方法、及び封止用樹脂組成物の製造方法
5日前
学校法人 芝浦工業大学
磁性異物粉分離装置及び磁性異物粉分離方法
4か月前
広東美的環境電器制造有限公司
ファン
2か月前
財團法人工業技術研究院
磁性物質分離装置
2か月前
財團法人工業技術研究院
磁性物質分離装置
2か月前
ブレイクスルー・テクノロジーズ・エルエルシー
蒸気の凝縮
3か月前
東京応化工業株式会社
レジスト組成物、レジストパターン形成方法、化合物、及び酸発生剤
12日前
東京応化工業株式会社
レジスト組成物、レジストパターン形成方法、化合物、及び酸発生剤
12日前
ザ・ボーイング・カンパニー
非同期テレメトリ帯域幅シミュレータのためのシステム及び方法
4か月前
トリデルタ メイデンシャ ゲーエムベーハー
サージ・アレスタの状態を評価するためのコンピュータ実装方法
4か月前
カルトス セラピューティクス,インコーポレイテッド
骨髄増殖性腫瘍を治療する方法
5か月前
アークタラス テラピュウティクス、インク
アンチコドンループを延長した合成転移RNA
28日前
他の特許を見る