TOP
|
特許
|
意匠
|
商標
特許ウォッチ
Twitter
他の特許を見る
10個以上の画像は省略されています。
公開番号
2025163637
公報種別
公開特許公報(A)
公開日
2025-10-29
出願番号
2024067108
出願日
2024-04-17
発明の名称
磁性体除去具
出願人
株式会社きんでん
代理人
個人
主分類
B03C
1/02 20060101AFI20251022BHJP(液体による,または,風力テーブルまたはジグによる固体物質の分離;固体物質または流体から固体物質の磁気または静電気による分離,高圧電界による分離)
要約
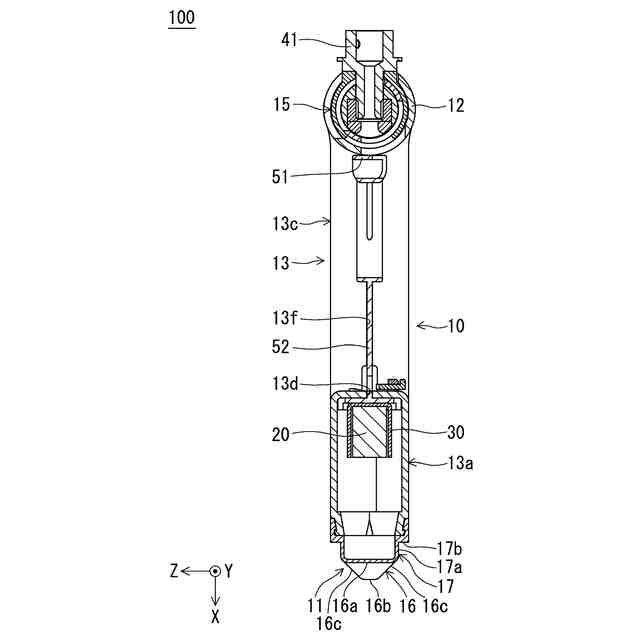
【課題】鉄粉等の磁性体を効率よく除去することができる磁性体除去具を提供する。
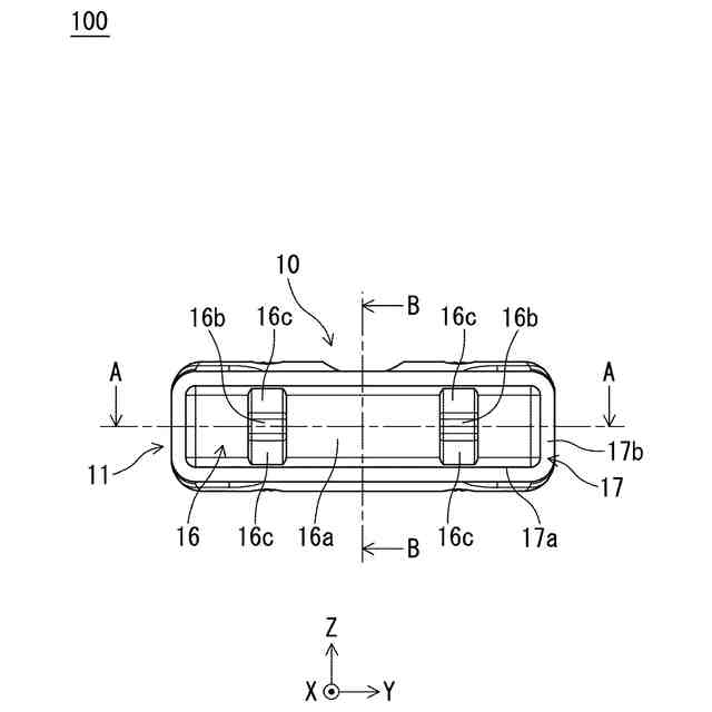
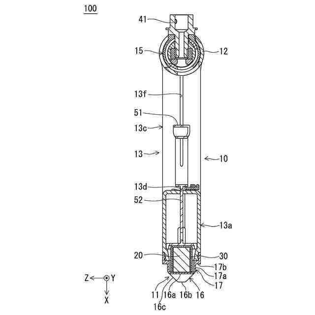
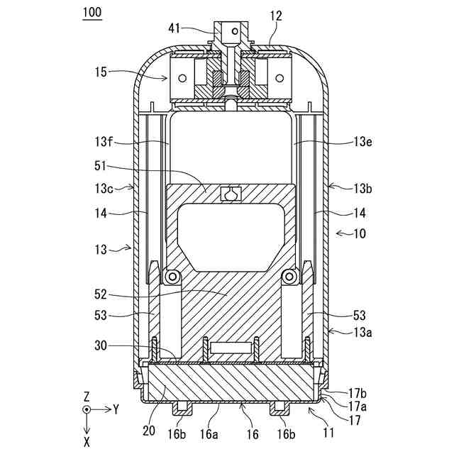
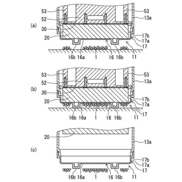
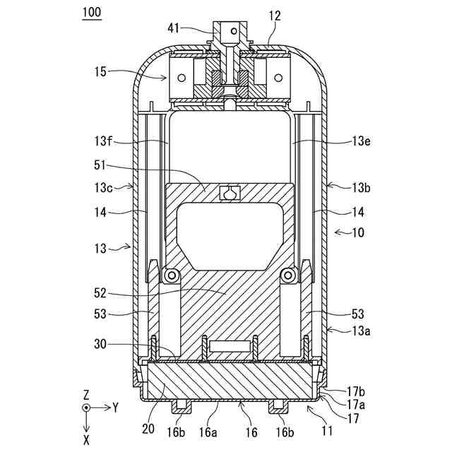
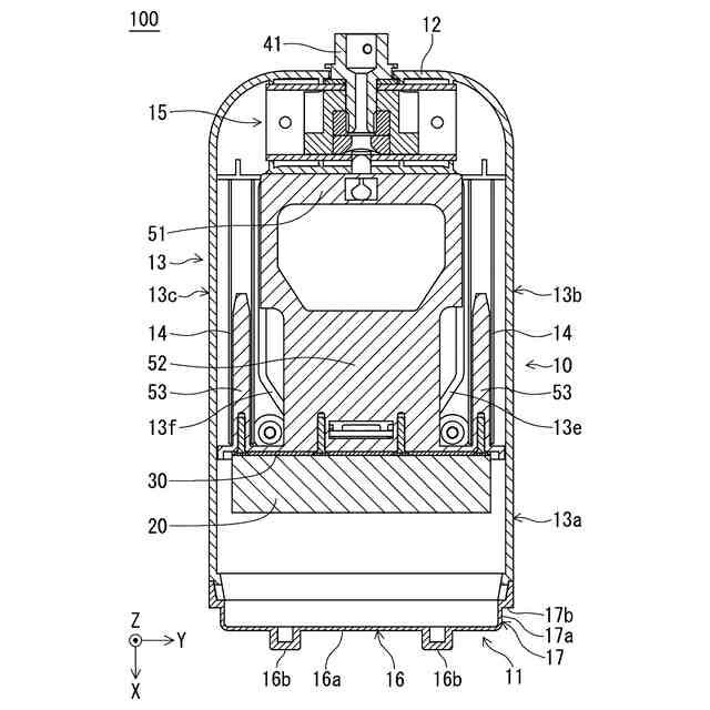
【解決手段】磁性体除去具100は、本体10と、本体10に収容される磁石20とを備え、本体10は、所定方向(第1方向)において磁石20の一方側に位置し、かつ本体10の外部の磁性体1を付着させるための第1付着面16を有し、磁石20は、磁力によって磁性体1を引き寄せて第1付着面16に付着させることができ、第1付着面16は、所定方向(第1方向)の一方側に突起する突起部16bを有する。
【選択図】図5
特許請求の範囲
【請求項1】
本体と、
前記本体に収容される磁石とを備え、
前記本体は、所定方向において前記磁石の一方側に位置し、かつ前記本体の外部の磁性体を付着させるための第1付着面を有し、
前記磁石は、磁力によって前記磁性体を引き寄せて前記第1付着面に付着させることができ、
前記第1付着面は、前記所定方向の一方側に突起する突起部を有することを特徴とする磁性体除去具。
続きを表示(約 1,100 文字)
【請求項2】
前記突起部は、前記所定方向の一方側に向かうに連れて漸次幅が狭くなることを特徴とする請求項1に記載の磁性体除去具。
【請求項3】
前記第1付着面は、前記所定方向と交差する交差方向に長尺状であり、
前記突起部は、前記交差方向に複数配置されることを特徴とする請求項1または2に記載の磁性体除去具。
【請求項4】
前記突起部は、前記所定方向において前記磁石の一方側に位置することを特徴とする請求項1または2に記載の磁性体除去具。
【請求項5】
前記磁力によって前記磁性体を引き寄せて前記第1付着面に付着させることができる第1位置と、前記所定方向において前記第1位置の他方側に位置しかつ前記磁性体を前記第1付着面に付着させることができない第2位置とに、前記磁石を移動させるための移動機構を備えることを特徴とする請求項1または2に記載の磁性体除去具。
【請求項6】
前記本体は、前記磁石が前記第1位置に位置している状態において前記磁石に対して前記所定方向と直交する直交方向に位置し、かつ前記磁性体を付着させるための第2付着面を有し、
前記磁石は、前記第1位置に位置している状態において、前記磁力によって前記磁性体を引き寄せて前記第2付着面に付着させることができ、
前記第2付着面は、前記所定方向に延びる第1面部と、前記所定方向における前記第1面部の他方側の端部から前記直交方向における前記磁石側とは反対側に延びる第2面部とを有し、
前記第2面部は、前記磁石が前記第2位置に位置している状態において、前記所定方向において前記磁石よりも一方側に位置することを特徴とする請求項5に記載の磁性体除去具。
【請求項7】
前記本体に着脱可能に取り付けられる柄を備え、
前記本体は、第1把持部を有し、
前記柄は、第2把持部を有し、
前記移動機構は、前記第1把持部に対して移動できる第1可動部と、前記第1可動部が前記第1把持部に対して移動することによって前記磁石が前記第1位置と前記第2位置とに移動するように前記磁石と前記第1可動部とを連結する第1連結部と、前記第2把持部に対して移動できる第2可動部と、前記第2可動部が前記第2把持部に対して移動することによって前記第1可動部が前記第1把持部に対して移動するように前記第1可動部と前記第2可動部とを連結する第2連結部とを有することを特徴とする請求項5に記載の磁性体除去具。
【請求項8】
前記所定方向の一方側に開口しかつ内方に前記磁石が配置されるヨークを備えることを特徴とする請求項1または2に記載の磁性体除去具。
発明の詳細な説明
【技術分野】
【0001】
本発明は、鉄粉等の磁性体を除去可能な磁性体除去具に関するものである。
続きを表示(約 1,000 文字)
【背景技術】
【0002】
従来、鉄粉等の磁性体を除去可能な磁性体除去具が知られている。たとえば、特許文献1には、マグネットの磁力を利用して磁性体を回収する磁性体回収装置が開示されている。
【先行技術文献】
【特許文献】
【0003】
実全昭56-154850号公報
【発明の概要】
【発明が解決しようとする課題】
【0004】
ところで、従来よりもさらに鉄粉等の磁性体を効率よく除去することが望まれている。
【0005】
そこで、本発明は、このような事情に鑑みてなされたものであり、従来よりもさらに鉄粉等の磁性体を効率よく除去することができる磁性体除去具を提供することを目的とする。
【課題を解決するための手段】
【0006】
(1) 本発明の磁性体除去具は、本体と、前記本体に収容される磁石とを備え、前記本体は、所定方向において前記磁石の一方側に位置し、かつ前記本体の外部の磁性体を付着させるための第1付着面を有し、前記磁石は、磁力によって前記磁性体を引き寄せて前記第1付着面に付着させることができ、前記第1付着面は、前記所定方向の一方側に突起する突起部を有することを特徴とする。
【0007】
(2) 上記(1)の磁性体除去具においては、前記突起部は、前記所定方向の一方側に向かうに連れて漸次幅が狭くなることが好ましい。
【0008】
(3) 上記(1)または(2)の磁性体除去具においては、前記第1付着面は、前記所定方向と交差する交差方向に長尺状であり、前記突起部は、前記交差方向に複数配置されることが好ましい。
【0009】
(4) 上記(1)または(2)の磁性体除去具においては、前記突起部は、前記所定方向において前記磁石の一方側に位置することが好ましい。
【0010】
(5) 上記(1)または(2)の磁性体除去具においては、前記磁力によって前記磁性体を引き寄せて前記第1付着面に付着させることができる第1位置と、前記所定方向において前記第1位置の他方側に位置しかつ前記磁性体を前記第1付着面に付着させることができない第2位置とに、前記磁石を移動させるための移動機構を備えることが好ましい。
(【0011】以降は省略されています)
この特許をJ-PlatPat(特許庁公式サイト)で参照する
関連特許
株式会社きんでん
磁性体除去具
5日前
株式会社きんでん
磁性体除去具
5日前
アマノ株式会社
荷電装置
1か月前
富士レビオ株式会社
集磁システム
26日前
富士電機株式会社
ガス処理システム
3か月前
個人
水流式選別装置
4か月前
鈴健興業株式会社
湿式選別システムおよび湿式選別方法
1か月前
日本永磁株式会社
磁性異物除去装置
2か月前
日本永磁株式会社
磁性異物除去装置
2か月前
パナソニックIPマネジメント株式会社
電気集塵装置
1か月前
株式会社SCREENホールディングス
分離チップ
3か月前
株式会社SCREENホールディングス
分離チップ
3か月前
雪印メグミルク株式会社
泡沫分離装置および泡沫分離方法
6日前
雪印メグミルク株式会社
泡沫分離装置および泡沫分離方法
6日前
JFEスチール株式会社
エアテーブル型密度分離装置及び分離方法
10日前
国立大学法人 名古屋工業大学
帯電状態の切り替えにより花粉を吸着する金網およびこれを備えた網戸
2か月前
三星電子株式会社
電気集塵装置
1か月前
プライムプラネットエナジー&ソリューションズ株式会社
金属捕集器およびその利用
5か月前
三星電子株式会社
帯電装置及び電気集塵装置
1か月前
住友化学株式会社
浮選剤およびヒ素非含有銅鉱物の回収方法
3か月前
株式会社レゾナック
磁性異物分離装置、磁性異物分離方法、及び封止用樹脂組成物の製造方法
1か月前
広東美的環境電器制造有限公司
ファン
3か月前
財團法人工業技術研究院
磁性物質分離装置
3か月前
財團法人工業技術研究院
磁性物質分離装置
3か月前
ブレイクスルー・テクノロジーズ・エルエルシー
蒸気の凝縮
4か月前
バイオジェン インターナショナル ニューロサイエンス ゲーエムベーハー
アルツハイマー病を治療する方法
12日前
東京応化工業株式会社
レジスト組成物、レジストパターン形成方法、化合物、及び酸発生剤
1か月前
東京応化工業株式会社
レジスト組成物、レジストパターン形成方法、化合物、及び酸発生剤
1か月前
ザ・ボーイング・カンパニー
テレメトリ対話型順列行列のシステム及び方法
6日前
アークタラス テラピュウティクス、インク
アンチコドンループを延長した合成転移RNA
1か月前
他の特許を見る