TOP
|
特許
|
意匠
|
商標
特許ウォッチ
Twitter
他の特許を見る
10個以上の画像は省略されています。
公開番号
2025148635
公報種別
公開特許公報(A)
公開日
2025-10-08
出願番号
2024048852
出願日
2024-03-26
発明の名称
集磁システム
出願人
富士レビオ株式会社
代理人
個人
主分類
B03C
1/28 20060101AFI20251001BHJP(液体による,または,風力テーブルまたはジグによる固体物質の分離;固体物質または流体から固体物質の磁気または静電気による分離,高圧電界による分離)
要約
【課題】集磁システムの使用性を向上させることが可能になる、集磁システムを提供すること。
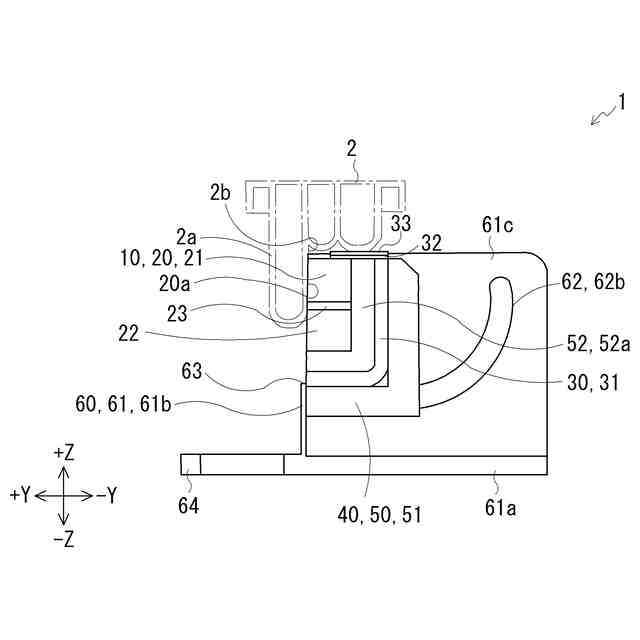
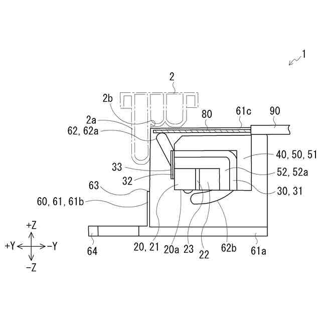
【解決手段】集磁システム1は、容器に収容された液体に含まれる磁性粒子を集磁するためのシステムであって、容器に対して磁力を作用させる磁力作用部10と、磁力作用部10を回転させながら移動させることにより、磁力作用部10の姿勢を、集磁姿勢と非集磁姿勢とに切り替える姿勢切替部40と、を備え、磁力作用部10は、磁石20と、磁石20の面のうち集磁面20a以外の面を覆うように設けられる第1遮蔽部30と、を備え、集磁姿勢において、磁石20の集磁面20aが容器の側面と対向する位置に磁力作用部10が配置され、非集磁姿勢において、集磁姿勢よりも磁石20自体が容器から離れる位置であり、且つ磁石20の集磁面20aが容器と対向しない位置に磁力作用部10が配置されるように、姿勢切替部40を構成した。
【選択図】図1
特許請求の範囲
【請求項1】
容器に収容された液体に含まれる磁性粒子を集磁するための集磁システムであって、
前記容器に対して磁力を作用させる磁力作用手段と、
前記磁力作用手段を回転させながら移動させることにより、前記磁力作用手段の姿勢を、前記磁力作用手段からの磁力の作用によって前記磁性粒子を集磁する集磁姿勢と、前記磁性粒子を集磁しない非集磁姿勢とに切り替える姿勢切替手段と、を備え、
前記磁力作用手段は、
磁石と、
前記磁石の面のうち、前記集磁姿勢において前記容器の側面に対向させる面である集磁面以外の面を覆うように設けられる第1遮蔽手段であって、前記磁力作用手段からの磁力を遮蔽する第1遮蔽手段と、を備え、
前記集磁姿勢において、前記磁石の集磁面が前記容器の側面と対向する位置に前記磁力作用手段が配置され、前記非集磁姿勢において、前記集磁姿勢よりも前記磁石自体が前記容器から離れる位置であり、且つ前記磁石の集磁面が前記容器と対向しない位置に前記磁力作用手段が配置されるように、前記姿勢切替手段を構成した、
集磁システム。
続きを表示(約 870 文字)
【請求項2】
前記姿勢切替手段は、
前記磁力作用手段を支持する第1支持部と、
前記第1支持部と接続部材を介して回転可能に接続される第2支持部であり、前記接続部材が挿通される切替孔であって、当該切替孔、前記接続部材、及び前記第1支持部を介して前記磁力作用手段を回転させながら移動させることにより、前記磁力作用手段の姿勢を前記集磁姿勢と前記非集磁姿勢とに切り替えることが可能な切替孔を有する第2支持部と、を備える、
請求項1に記載の集磁システム。
【請求項3】
前記非集磁姿勢では、前記磁石の集磁面が前記容器側を向かないように、前記切替孔を構成した、
請求項2に記載の集磁システム。
【請求項4】
前記接続部材は、
前記第1支持部の前記天面側に配置される第1接続部材と、
前記第1支持部の前記底面側に配置される第2接続部材と、を含み、
前記切替孔は、
前記第1接続部材が挿通される第1切替孔であって、前記容器から離れるにつれて前記容器側とは反対側に向けて傾斜する直線状の第1切替孔と、
前記第2接続部材が挿通される第2切替孔であって、前記容器から離れるにつれて前記容器側に向けて湾曲する円弧状の第2切替孔と、を含む、
請求項3に記載の集磁システム。
【請求項5】
前記磁力作用手段からの磁力を遮蔽する第2遮蔽手段と、
前記集磁姿勢では、前記第2遮蔽手段が前記容器と前記磁力作用手段との相互間に配置されず、前記非集磁姿勢では、前記第2遮蔽手段が前記容器と前記磁力作用手段との相互間に配置されるように、前記第2遮蔽手段をスライド移動させるためのスライド移動手段と、をさらに備える、
請求項3又は4に記載の集磁システム。
【請求項6】
前記第1遮蔽手段又は/及び前記第2遮蔽手段を、少なくともヨーク又は/及び磁気シールド材で構成した、
請求項5に記載の集磁システム。
発明の詳細な説明
【技術分野】
【0001】
本発明は、集磁システムに関する。
続きを表示(約 2,200 文字)
【背景技術】
【0002】
従来から、容器に収容された液体に含まれる磁性粒子を集磁するシステムの一つとして、磁石と、磁石の一部の面のみが露出するように磁石を覆いながら保持する略椀状の磁石保持具とを回転手段によって回転させることにより、磁性粒子を集磁する場合には、磁石と容器との間に磁石保持具を位置させないことで当該集磁を行い、磁性粒子を集磁しない場合には、磁石と容器との間に磁石保持具を位置させることで当該集磁を行わないようにする技術が提案されている(例えば、特許文献1参照)。
【先行技術文献】
【特許文献】
【0003】
特開2004-283728号公報
【発明の概要】
【発明が解決しようとする課題】
【0004】
ここで、上記従来の技術においては、上述したように、磁性粒子を集磁する場合には、磁石と容器との間に磁石保持具を位置させないことで当該集磁を行い、磁性粒子を集磁しない場合には、磁石と容器との間に磁石保持具を位置させることで当該集磁を行わないようにするので、磁石と容器との間に磁石保持具を位置させるためのクリアランスを設ける必要があることから、磁性粒子を集磁する場合には、容器に磁石を密接させづらくなるため、所望の位置で磁性粒子を効果的に集磁することが難しくなるおそれがあった。一方で、上記クリアランスを狭めようとすると、磁性粒子を集磁しない場合に容器と磁石保持具とが干渉する可能性があることから、容器の破損等を回避しながら、磁性粒子を誤って集磁することを防止することが難しくなるおそれがあった。また、強力な磁石を用いた場合には、磁性粒子を集磁しない場合にも、容器中の磁性粒子が集磁されてしまう可能性があることから、このことが容器の液体に関する測定結果又は分析結果に影響を及ぼすおそれがあった。以上のことから、上記従来の技術の如き集磁システムの使用性を向上させる観点からは改善の余地があった。
【0005】
本発明は、上記に鑑みてなされたものであって、集磁システムの使用性を向上させることが可能になる、集磁システムを提供することを目的とする。
【課題を解決するための手段】
【0006】
上述した課題を解決し、目的を達成するために、請求項1に記載の集磁システムは、容器に収容された液体に含まれる磁性粒子を集磁するための集磁システムであって、前記容器に対して磁力を作用させる磁力作用手段と、前記磁力作用手段を回転させながら移動させることにより、前記磁力作用手段の姿勢を、前記磁力作用手段からの磁力の作用によって前記磁性粒子を集磁する集磁姿勢と、前記磁性粒子を集磁しない非集磁姿勢とに切り替える姿勢切替手段と、を備え、前記磁力作用手段は、磁石と、前記磁石の面のうち、前記集磁姿勢において前記容器の側面に対向させる面である集磁面以外の面を覆うように設けられる第1遮蔽手段であって、前記磁力作用手段からの磁力を遮蔽する第1遮蔽手段と、を備え、前記集磁姿勢において、前記磁石の集磁面が前記容器の側面と対向する位置に前記磁力作用手段が配置され、前記非集磁姿勢において、前記集磁姿勢よりも前記磁石自体が前記容器から離れる位置であり、且つ前記磁石の集磁面が前記容器と対向しない位置に前記磁力作用手段が配置されるように、前記姿勢切替手段を構成した。
【0007】
請求項2に記載の集磁システムは、請求項1に記載の集磁システムにおいて、前記姿勢切替手段は、前記磁力作用手段を支持する第1支持部と、前記第1支持部と接続部材を介して回転可能に接続される第2支持部であり、前記接続部材が挿通される切替孔であって、当該切替孔、前記接続部材、及び前記第1支持部を介して前記磁力作用手段を回転させながら移動させることにより、前記磁力作用手段の姿勢を前記集磁姿勢と前記非集磁姿勢とに切り替えることが可能な切替孔を有する第2支持部と、を備える。
【0008】
請求項3に記載の集磁システムは、請求項2に記載の集磁システムにおいて、前記非集磁姿勢では、前記磁石の集磁面が前記容器側を向かないように、前記切替孔を構成した。
【0009】
請求項4に記載の集磁システムは、請求項3に記載の集磁システムにおいて、前記接続部材は、前記第1支持部の前記天面側に配置される第1接続部材と、前記第1支持部の前記底面側に配置される第2接続部材と、を含み、前記切替孔は、前記第1接続部材が挿通される第1切替孔であって、前記容器から離れるにつれて前記容器側とは反対側に向けて傾斜する直線状の第1切替孔と、前記第2接続部材が挿通される第2切替孔であって、前記容器から離れるにつれて前記容器側に向けて湾曲する円弧状の第2切替孔と、を含む。
【0010】
請求項5に記載の集磁システムは、請求項3又は4に記載の集磁システムにおいて、前記磁力作用手段からの磁力を遮蔽する第2遮蔽手段と、前記集磁姿勢では、前記第2遮蔽手段が前記容器と前記磁力作用手段との相互間に配置されず、前記非集磁姿勢では、前記第2遮蔽手段が前記容器と前記磁力作用手段との相互間に配置されるように、前記第2遮蔽手段をスライド移動させるためのスライド移動手段と、をさらに備える。
(【0011】以降は省略されています)
この特許をJ-PlatPat(特許庁公式サイト)で参照する
関連特許
富士レビオ株式会社
集磁システム
24日前
株式会社きんでん
磁性体除去具
3日前
アマノ株式会社
荷電装置
29日前
富士レビオ株式会社
集磁システム
24日前
富士電機株式会社
ガス処理システム
3か月前
鈴健興業株式会社
湿式選別システムおよび湿式選別方法
1か月前
パナソニックIPマネジメント株式会社
電気集塵装置
1か月前
日本永磁株式会社
磁性異物除去装置
2か月前
日本永磁株式会社
磁性異物除去装置
2か月前
雪印メグミルク株式会社
泡沫分離装置および泡沫分離方法
4日前
雪印メグミルク株式会社
泡沫分離装置および泡沫分離方法
4日前
JFEスチール株式会社
エアテーブル型密度分離装置及び分離方法
8日前
三星電子株式会社
電気集塵装置
1か月前
国立大学法人 名古屋工業大学
帯電状態の切り替えにより花粉を吸着する金網およびこれを備えた網戸
2か月前
三星電子株式会社
帯電装置及び電気集塵装置
1か月前
住友化学株式会社
浮選剤およびヒ素非含有銅鉱物の回収方法
3か月前
株式会社レゾナック
磁性異物分離装置、磁性異物分離方法、及び封止用樹脂組成物の製造方法
1か月前
広東美的環境電器制造有限公司
ファン
3か月前
財團法人工業技術研究院
磁性物質分離装置
3か月前
財團法人工業技術研究院
磁性物質分離装置
3か月前
バイオジェン インターナショナル ニューロサイエンス ゲーエムベーハー
アルツハイマー病を治療する方法
10日前
東京応化工業株式会社
レジスト組成物、レジストパターン形成方法、化合物、及び酸発生剤
1か月前
東京応化工業株式会社
レジスト組成物、レジストパターン形成方法、化合物、及び酸発生剤
1か月前
ザ・ボーイング・カンパニー
テレメトリ対話型順列行列のシステム及び方法
4日前
アークタラス テラピュウティクス、インク
アンチコドンループを延長した合成転移RNA
1か月前
他の特許を見る