TOP
|
特許
|
意匠
|
商標
特許ウォッチ
Twitter
他の特許を見る
10個以上の画像は省略されています。
公開番号
2025162968
公報種別
公開特許公報(A)
公開日
2025-10-28
出願番号
2025021224
出願日
2025-02-13
発明の名称
テレメトリ対話型順列行列のシステム及び方法
出願人
ザ・ボーイング・カンパニー
,
The Boeing Company
代理人
園田・小林弁理士法人
主分類
H04L
67/12 20220101AFI20251021BHJP(電気通信技術)
要約
【課題】コンピューティングデバイスによって、テレメトリシステムに関連付けられた複数の情報を特定するための方法、コンピュータプログラム製品及びコンピューティングシステムを提供する。
【解決手段】方法は、テレメトリシステムと共に使用される順列行列を構築することと、順列行列において使用される1以上のパラメータを、テレメトリシステムに関連付けられた複数の情報に少なくとも部分的に基づいて抽出することと、順列行列において使用される抽出された1以上のパラメータに少なくとも部分的に基づいて、順列行列を用いて複数の反復を実行することと、最終的なテレメトリジオメトリをテレメトリシステムに提供することと、を含む。
【選択図】図3
特許請求の範囲
【請求項1】
コンピュータに実装される方法であって、
コンピューティングデバイス(215)によって、テレメトリシステム(500)(400)に関連付けられた複数の情報を特定すること(300)、
前記テレメトリシステム(500)(400)と共に使用される順列行列(800)を構築すること(302)、
前記テレメトリシステム(500)(400)に関連付けられた前記複数の情報に少なくとも部分的に基づいて、前記順列行列(800)において使用される1以上のパラメータを抽出すること(304)、
前記順列行列(800)において使用される抽出された前記1以上のパラメータに少なくとも部分的に基づいて、前記順列行列(800)を用いて複数の反復(600)を実行すること(306)、及び
最終的なテレメトリジオメトリを前記テレメトリシステム(500)(400)に提供することを含む、コンピュータに実装される方法。
続きを表示(約 1,600 文字)
【請求項2】
前記テレメトリシステム(500)(400)に関連付けられた前記複数の情報は、航空データコンテナ、飛行のフェーズ、フォーマットごとの各航空データコンテナのデータレート、ワードジオメトリ、入力ウィンドウサイズ時間、又はそれらの組み合わせを含む、請求項1に記載のコンピュータに実装される方法。
【請求項3】
前記テレメトリシステム(500)(400)に関連付けられた前記複数の情報に少なくとも部分的に基づいて、複数のフレーム到着を構築すること(314)を更に含む、請求項1に記載のコンピュータに実装される方法。
【請求項4】
前記最終的なテレメトリジオメトリを前記テレメトリシステム(500)(400)に提供することは、多分類(900b)(900a)(808)の前記複数の反復(600)を実行すること(310)を含む、請求項1に記載のコンピュータに実装される方法。
【請求項5】
前記多分類(900b)(900a)(808)の前記複数の反復(600)は、円筒領域と楕円領域とのうちの1以上に基づく、請求項4に記載のコンピュータに実装される方法。
【請求項6】
前記最終的なテレメトリジオメトリを前記テレメトリシステム(500)(400)に提供することは、前記複数の反復(600)を絞り込むこと(312)を含む、請求項1に記載のコンピュータに実装される方法。
【請求項7】
前記テレメトリシステム(500)(400)に関連付けられた前記複数の情報のうちの少なくとも一部分を最適化すること(316)、及び
最適化後の前記テレメトリシステム(500)(400)に関連付けられた前記複数の情報のうちの前記少なくとも一部分を、ハードウェア構成ファイルとして使用すること(318)を更に含む、請求項1に記載のコンピュータに実装される方法。
【請求項8】
コンピュータ可読記憶媒体に記憶された複数の命令を有するコンピュータプログラム製品であって、前記コンピュータ可読記憶媒体に常駐し、前記複数の命令は、1以上のプロセッサにわたり実行されると、前記1以上のプロセッサの少なくとも一部分に、複数の動作を実行させ、前記複数の動作は、
テレメトリシステム(500)(400)に関連付けられた複数の情報を特定すること、
前記テレメトリシステム(500)(400)と共に使用される順列行列(800)を構築すること、
前記テレメトリシステム(500)(400)に関連付けられた前記複数の情報に少なくとも部分的に基づいて、前記順列行列(800)において使用される1以上のパラメータを抽出すること、
前記順列行列(800)において使用される抽出された前記1以上のパラメータに少なくとも部分的に基づいて、前記順列行列(800)を用いて複数の反復(600)を実行すること(310)、及び
最終的なテレメトリジオメトリを前記テレメトリシステム(500)(400)に提供することを含む、コンピュータプログラム製品。
【請求項9】
前記テレメトリシステム(500)(400)に関連付けられた前記複数の情報は、航空データコンテナ、飛行のフェーズ、フォーマットごとの各航空データコンテナのデータレート、ワードジオメトリ、入力ウィンドウサイズ時間、又はそれらの組み合わせを含む、請求項8に記載のコンピュータプログラム製品。
【請求項10】
前記複数の動作は、前記テレメトリシステム(500)(400)に関連付けられた前記複数の情報に少なくとも部分的に基づいて、複数のフレーム到着を構築することを更に含む、請求項8に記載のコンピュータプログラム製品。
(【請求項11】以降は省略されています)
発明の詳細な説明
【技術分野】
【0001】
[0001] 本明細書で説明される発明は、NASA契約番号(NNM07AB03C)に基づく業務の遂行においてなされたものであり、1958年米国航空宇宙法第305条(72Stat.435:42U.S.C.2457.)の規定に従う。
続きを表示(約 3,600 文字)
【背景技術】
【0002】
[0002] 概して、試験データの適格性確認は、検証の重要な部分のうちの1つであり、多くの計画、コスト、及び労力を必要とする。多重化されて地上に伝送される特定のシステムを試験し、分析するためには、全ての作業を完了するためにアグレッシブなスケジュールの下にある可能性がありながら、手順書の作成、文書のリリース、全てのコンポーネントを設置するための労力、試験の実行、試験データの分析、及び結果の文書化が必要になる。
【発明の概要】
【0003】
[0003] 1つの例示的な実施態様では、1以上のコンピューティングデバイスによって実行される方法が、非限定的に、コンピューティングデバイスによって、テレメトリシステムに関連付けられた複数の情報を特定することを含み得る。テレメトリシステムと共に使用される順列行列が構築され得る。順列行列において使用される1以上のパラメータは、テレメトリシステムに関連付けられた複数の情報に少なくとも部分的に基づいて抽出され得る。順列行列において使用される抽出された1以上のパラメータに少なくとも部分的に基づいて、順列行列を用いて複数の反復が実行され得る。最終的なテレメトリジオメトリが、テレメトリシステムに提供され得る。
【0004】
[0004] 以下の例示的な特徴のうちの1以上が含まれ得る。テレメトリシステムに関連付けられた複数の情報は、1以上の航空データコンテナ、飛行のフェーズ、フォーマットごとの各航空データコンテナのデータレート、ワードジオメトリ、入力ウィンドウサイズ時間、又はそれらの組み合わせを含み得る。複数のフレーム到着が、テレメトリシステムに関連付けられた複数の情報に少なくとも部分的に基づいて構築され得る。最終的なテレメトリジオメトリをテレメトリシステムに提供することは、多分類の複数の反復を実行することを含み得る。多分類の複数の反復は、円筒領域と楕円領域のうちの1以上に基づき得る。最終的なテレメトリジオメトリをテレメトリシステムに提供することは、複数の反復を絞り込むことを含み得る。テレメトリシステムに関連付けられた複数の情報のうちの少なくとも一部分が最適化され得る。最適化後のテレメトリシステムに関連付けられた複数の情報のうちの少なくとも一部分が、ハードウェア構成ファイルとして使用され得る。
【0005】
[0005] 別の1つの例示的な実施態様では、コンピューティングシステムが、複数の動作を実行するように構成された1以上のプロセッサ及び1以上のメモリを含み得る。複数の動作は、非限定的に、コンピューティングデバイスによって、テレメトリシステムに関連付けられた複数の情報を特定することを含み得る。テレメトリシステムと共に使用される順列行列が構築され得る。順列行列において使用される1以上のパラメータは、テレメトリシステムに関連付けられた複数の情報に少なくとも部分的に基づいて抽出され得る。順列行列において使用される抽出された1以上のパラメータに少なくとも部分的に基づいて、順列行列を用いて複数の反復が実行され得る。最終的なテレメトリジオメトリが、テレメトリシステムに提供され得る。
【0006】
[0006] 以下の例示的な特徴のうちの1以上が含まれ得る。テレメトリシステムに関連付けられた複数の情報は、1以上の航空データコンテナ、飛行のフェーズ、フォーマットごとの各航空データコンテナのデータレート、ワードジオメトリ、入力ウィンドウサイズの時間、又はそれらの組み合わせを含み得る。複数のフレーム到着が、テレメトリシステムに関連付けられた複数の情報に少なくとも部分的に基づいて構築され得る。最終的なテレメトリジオメトリをテレメトリシステムに提供することは、多分類の複数の反復を実行することを含み得る。多分類の複数の反復は、円筒領域と楕円領域のうちの1以上に基づき得る。最終的なテレメトリジオメトリをテレメトリシステムに提供することは、複数の反復を絞り込むことを含み得る。テレメトリシステムに関連付けられた複数の情報のうちの少なくとも一部分が最適化され得る。最適化後のテレメトリシステムに関連付けられた複数の情報のうちの少なくとも一部分が、ハードウェア構成ファイルとして使用され得る。
【0007】
[0007] 別の1つの例示的な実施態様では、コンピュータ可読記憶媒体に記憶された複数の命令を有するコンピュータプログラム製品が、コンピュータ可読記憶媒体に常駐する。複数の命令は、1以上のプロセッサにわたり実行されると、1以上のプロセッサの少なくとも一部分に、複数の動作を実行させる。複数の動作は、非限定的に、コンピューティングデバイスによって、テレメトリシステムに関連付けられた複数の情報を特定することを含み得る。テレメトリシステムと共に使用される順列行列が構築され得る。順列行列において使用される1以上のパラメータは、テレメトリシステムに関連付けられた複数の情報に少なくとも部分的に基づいて抽出され得る。順列行列において使用される抽出された1以上のパラメータに少なくとも部分的に基づいて、順列行列を用いて複数の反復が実行され得る。最終的なテレメトリジオメトリが、テレメトリシステムに提供され得る。
【0008】
[0008] 以下の例示的な特徴のうちの1以上が含まれ得る。テレメトリシステムに関連付けられた複数の情報は、1以上の航空データコンテナ、飛行のフェーズ、フォーマットごとの各航空データコンテナのデータレート、ワードジオメトリ、入力ウィンドウサイズの時間、又はそれらの組み合わせを含み得る。複数のフレーム到着が、テレメトリシステムに関連付けられた複数の情報に少なくとも部分的に基づいて構築され得る。最終的なテレメトリジオメトリをテレメトリシステムに提供することは、多分類の複数の反復を実行することを含み得る。多分類の複数の反復は、円筒領域と楕円領域のうちの1以上に基づき得る。最終的なテレメトリジオメトリをテレメトリシステムに提供することは、複数の反復を絞り込むことを含み得る。テレメトリシステムに関連付けられた複数の情報のうちの少なくとも一部分が最適化され得る。最適化後のテレメトリシステムに関連付けられた複数の情報のうちの少なくとも一部分が、ハードウェア構成ファイルとして使用され得る。
【0009】
[0009] 1以上の例示的な実施態様の詳細が、添付図面及び以下の説明において説明される。他の可能な例示的な特徴及び/又は可能な例示的利点が、説明、図面、及び特許請求の範囲から明らかになるであろう。幾つかの実施態様は、それらの可能な例示的特徴及び/又は可能な例示的利点を有さないかもしれない。そのような可能な例示的特徴及び/又は可能な例示的利点は、幾つかの実施態様に必ずしも必要とされないかもしれない。
【図面の簡単な説明】
【0010】
[0010] 本開示の1以上の例示的な実施態様による、例示的な分散コンピューティングネットワークに結合されたテレメトリプロセスの例示的な概略図である。
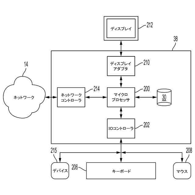
[0011] 本開示の1以上の例示的な実施態様による、図1のクライアント電子デバイスの例示的な概略図である。
[0012] 本開示の1以上の例示的な実施態様による、テレメトリプロセスの例示的なフローチャートである。
[0013] 本開示の1以上の例示的な実施態様による、テレメトリプロセスの非同期テレメトリ帯域幅シミュレータの例示的な概略図である。
[0014] 本開示の1以上の例示的な実施態様による、テレメトリプロセスの非同期テレメトリ帯域幅シミュレータの例示的な概略図である。
[0015] 本開示の1以上の例示的な実施態様による、テレメトリプロセスによって実行される航空データコンテナ反復の例示的な概略図である。
[0016] 本開示の1以上の例示的な実施態様による、テレメトリプロセスの例示的なフローチャートである。
[0017] 本開示の1以上の例示的な実施態様による、テレメトリプロセスによって実行される順列及び結果としてのデータポイントの例示的な概略図である。
本開示の1以上の例示的な実施態様による、テレメトリプロセスによって実行される順列及び結果としてのデータポイントの例示的な概略図である。
[0018] 本開示の1以上の例示的な実施態様による、テレメトリプロセスによって実行される順列行列/分類の例示的な概略図である。
【発明を実施するための形態】
(【0011】以降は省略されています)
この特許をJ-PlatPat(特許庁公式サイト)で参照する
関連特許
個人
イヤーピース
14日前
個人
イヤーマフ
28日前
個人
監視カメラシステム
1か月前
キーコム株式会社
光伝送線路
1か月前
個人
スイッチシステム
22日前
WHISMR合同会社
収音装置
2か月前
サクサ株式会社
中継装置
1か月前
個人
スキャン式車載用撮像装置
1か月前
サクサ株式会社
中継装置
1か月前
アイホン株式会社
電気機器
2か月前
キヤノン株式会社
撮像装置
2か月前
キヤノン電子株式会社
画像読取装置
1か月前
キヤノン電子株式会社
画像読取装置
22日前
サクサ株式会社
無線通信装置
1か月前
サクサ株式会社
無線通信装置
1か月前
サクサ株式会社
無線システム
1か月前
キヤノン電子株式会社
画像読取装置
14日前
個人
ワイヤレスイヤホン対応耳掛け
2か月前
キヤノン電子株式会社
画像読取装置
2か月前
個人
映像表示装置、及びARグラス
23日前
株式会社リコー
画像形成装置
1か月前
ヤマハ株式会社
放音制御装置
22日前
株式会社リコー
画像形成装置
2か月前
株式会社リコー
画像形成装置
2か月前
個人
発信機及び発信方法
1か月前
日本電気株式会社
海底分岐装置
1か月前
キヤノン電子株式会社
シート搬送装置
14日前
キヤノン株式会社
撮像システム
2か月前
キヤノン株式会社
画像処理装置
17日前
キヤノン株式会社
情報処理装置
1日前
日本セラミック株式会社
超音波送受信器
1日前
沖電気工業株式会社
画像形成装置
1か月前
大日本印刷株式会社
写真撮影装置
2か月前
株式会社NTTドコモ
端末
1か月前
株式会社NTTドコモ
端末
1か月前
株式会社NTTドコモ
端末
1か月前
続きを見る
他の特許を見る