TOP
|
特許
|
意匠
|
商標
特許ウォッチ
Twitter
他の特許を見る
10個以上の画像は省略されています。
公開番号
2025157702
公報種別
公開特許公報(A)
公開日
2025-10-16
出願番号
2024059853
出願日
2024-04-03
発明の名称
画像読取装置
出願人
キヤノン電子株式会社
代理人
主分類
H04N
1/387 20060101AFI20251008BHJP(電気通信技術)
要約
【課題】搬送する原稿の紙同士の結合部を検出することができ、長尺原稿の読取画像を区切ることが出来る画像読取装置を提供する。
【解決手段】搬送される複数の紙が結合部90aによって結合されている原稿100を読み取る画像読取手段と、結合部90aの位置を検出する結合部検出手段と、結合部検出手段により検出された結合部90aを基に原稿100の読取画像の分割位置を決定する分割位置決定手段と、分割位置決定手段によって決定された分割位置で読取画像を分割する読取画像分割手段と、を有することを特徴とする。
【選択図】図5
特許請求の範囲
【請求項1】
搬送される複数の用紙が結合部によって結合されている原稿を読み取る画像読取手段と、
前記結合部の位置を検出する結合部検出手段と、
前記結合部検出手段により検出された前記結合部を基に前記原稿の読取画像の分割位置を決定する分割位置決定手段と、
前記分割位置決定手段によって決定された分割位置で前記読取画像を分割する読取画像分割手段と、を有することを特徴とする画像読取装置。
続きを表示(約 900 文字)
【請求項2】
前記結合部検出手段は、原稿の重なりを検知した場合は前記結合部と判定することを特徴とする請求項1に記載の画像読取装置。
【請求項3】
前記分割位置決定手段は、前記読取画像における前記結合部のうち前端箇所に影を検出した場合は前記前端箇所の位置により前記読取画像を分割し、前記結合部のうち後端箇所に影を検出した場合は前記後端箇所の位置により前記読取画像を分割することを特徴とする請求項1に記載の画像読取装置。
【請求項4】
前記読取画像は表面読取画像と裏面読取画像で構成され、
前記分割位置決定手段は、前記表面読取画像で検出された影が前記結合部の前端箇所に位置する場合は前記前端箇所を前記表面読取画像の分割位置に後端箇所を前記裏面読取画像の分割位置とし、前記表面読取画像で検出された影が前記結合部の後端箇所に位置する場合は前記後端箇所を前記表面読取画像の分割位置に前記前端箇所を前記裏面読取画像の分割位置とすることを特徴とする請求項1に記載の画像読取装置。
【請求項5】
前記結合部検出手段は、原稿の重送を検知する超音波センサであることを特徴とする請求項1に記載の画像読取装置。
【請求項6】
前記結合部検出手段は、受光量の変化量から前記原稿の到達又は通過を検出する光透過センサであることを特徴とする請求項1に記載の画像読取装置。
【請求項7】
前記光透過センサが受光した受光量の変化量が所定の時間以内の間所定の閾値より大きい場合は前記原稿における結合部が前記光透過センサを通過したと判定し、前記受光量の変化量が前記所定の時間以上前記所定の閾値より大きい場合は前記原稿の後端が前記光透過センサを通過したと判定することを特徴とする請求項6に記載の画像読取装置。
【請求項8】
前記分割位置決定手段は、前記結合部が前記光透過センサの受光量の変化量によって前記光透過センサを通過したと判定された際に前記結合部を基に前記読取画像の分割位置を決定することを特徴とする請求項7に記載の画像読取装置。
発明の詳細な説明
【技術分野】
【0001】
本発明は画像読取装置に関し、特に、紙葉類の画像を読取る画像読取装置に関する。
続きを表示(約 1,700 文字)
【背景技術】
【0002】
従来、画像読取装置において原稿の画像を読取る際には、一般的に読取サイズをA4、A5、レター等の定型サイズで読取ることが多い。また、非常に長い原稿(以後、長尺原稿とする)も読取ることを可能にした装置も存在し、読取った画像を分割しながら転送するモードも存在する。長尺画像の分割手法として、特許文献1では、紙葉類面上の折目の凹凸を画像情報として読取り、凹凸を示す画像情報から折目の位置を特定して、読取った画像を折目位置で分割し、長い原稿の画像情報でも適切に区切ることができる画像読取装置を提供している。
【先行技術文献】
【特許文献】
【0003】
特開2008-177672号公報
【発明の概要】
【発明が解決しようとする課題】
【0004】
しかしながら、仮に折目で分割を行っても、折目が正しい分割の位置であるとは限らない。例えば、用紙自体に折り目がついている場合の分割はユーザーが意図した通りではないため、ユーザーは原稿を画像読取装置で読取る前に原稿を伸ばして折り目を無くすなどといった作業が必要となる。また、ちょっとしたことで折目がついてしまう紙葉類では、折目がついてしまわないように厳重な管理が必須となりユーザーの負担も大きくなる。
【0005】
本発明は、以上の点に着目して成されたものであり、原稿を構成している紙同士が連結している位置をセンサで検出して、長尺原稿の読取画像情報でも適切に分割することができる画像読取装置を提供するものである。
【課題を解決するための手段】
【0006】
上記を鑑み、本発明に係る画像読取装置は、
搬送される複数の紙が結合部によって結合されている原稿を読み取る画像読取手段と、
前記結合部の位置を検出する結合部検出手段と、
前記結合部検出手段により検出された前記結合部を基に前記原稿の読取画像の分割位置を決定する分割位置決定手段と、
前記分割位置決定手段によって決定された分割位置で前記読取画像を分割する読取画像分割手段と、を有することを特徴とする。
【発明の効果】
【0007】
本発明によれば、搬送する原稿の紙同士の結合部を検出することができ、長尺原稿の読取画像を区切ることが出来る画像読取装置を提供することができる。
【図面の簡単な説明】
【0008】
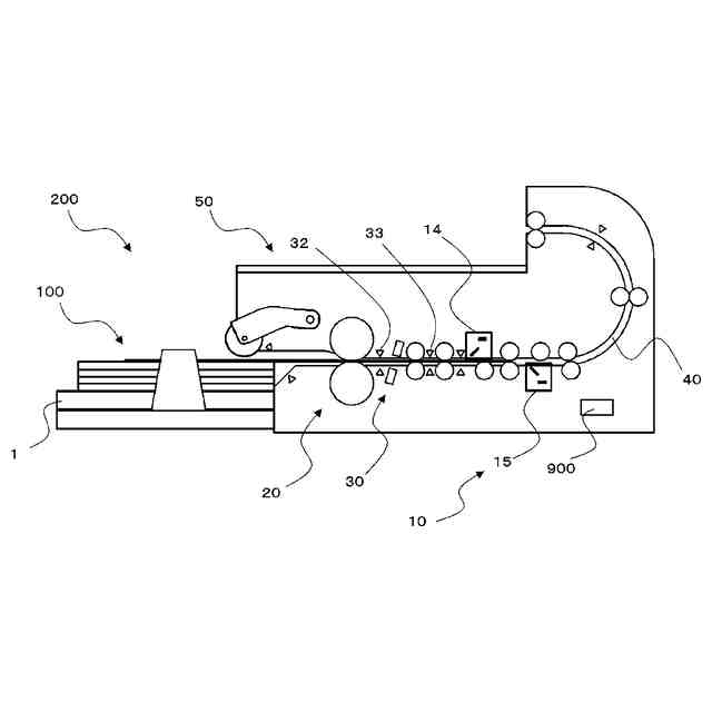
本発明に係る画像読取装置を示す概略断面図。
本発明に係る画像読取装置のブロック図。
第1の実施形態に係る原稿の概略図。
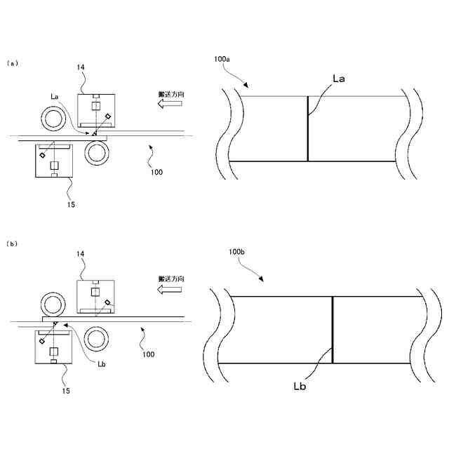
第1の実施形態に係る超音波センサの構成を示す概略図。
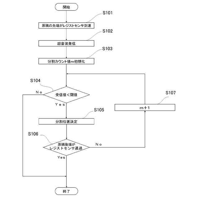
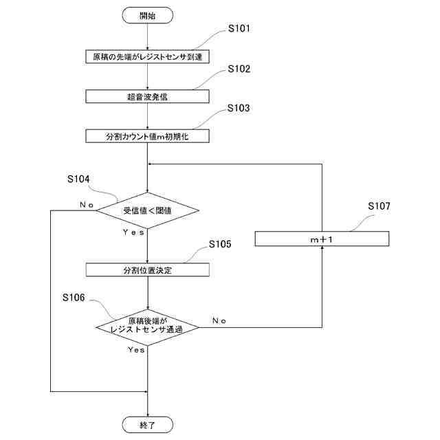
第1の実施形態に係る読取画像を分割する位置を決める処理を示すフローチャート。
第1の実施形態に係る超音波センサが受信する超音波の強度を示す図。
第1の実施形態に係る読取画像を分割して転送する処理を示すフローチャート。
第2の実施形態に係る画像読取装置の搬送路の構成と読取画像の影を示す概略図。
第2の実施形態に係る影のついた原稿の読取画像を示す図。
第2の実施形態に係る読取画像を分割する位置を決める処理を示すフローチャート。
第2の実施形態に係る原稿の表面及び裏面の読取画像の分割位置について示す図。
第2の実施形態に係る原稿の表面及び裏面の読取画像の分割位置について示す図。
第3の実施形態に係る原稿の概略図。
第3の実施形態に係る読取画像を分割する位置を決める処理を示すフローチャート。
第3の実施形態に係る原稿の通過と判断される場合の光透過型センサが受光した受光量の変化を示す図。
【発明を実施するための形態】
【0009】
以下本発明を実施するための最良の形態を実施例により詳しく説明する。
【0010】
<第1の実施形態>
以下に本発明に係る第1の実施の形態を、画像読取装置についての説明を行う。
(【0011】以降は省略されています)
この特許をJ-PlatPat(特許庁公式サイト)で参照する
関連特許
個人
イヤーピース
1か月前
個人
イヤーマフ
1か月前
個人
監視カメラシステム
1か月前
個人
スイッチシステム
1か月前
個人
スキャン式車載用撮像装置
1か月前
キヤノン株式会社
撮像装置
4日前
キヤノン株式会社
撮像装置
11日前
キヤノン株式会社
撮像装置
4日前
キヤノン株式会社
撮像装置
4日前
キヤノン電子株式会社
画像読取装置
1か月前
個人
映像表示装置、及びARグラス
1か月前
ヤマハ株式会社
放音制御装置
1か月前
キヤノン電子株式会社
画像読取装置
1か月前
キヤノン電子株式会社
画像読取装置
1か月前
株式会社リコー
画像形成装置
1か月前
キヤノン電子株式会社
シート搬送装置
1か月前
キヤノン株式会社
画像処理装置
1か月前
キヤノン株式会社
情報処理装置
19日前
シャープ株式会社
表示装置
1か月前
シャープ株式会社
端末装置
1か月前
株式会社NTTドコモ
端末
1か月前
株式会社NTTドコモ
端末
1か月前
シャープ株式会社
表示装置
1か月前
日本セラミック株式会社
超音波送受信器
19日前
株式会社NTTドコモ
端末
1か月前
有限会社エコ・テクノ
イヤーマフ
今日
キヤノン電子株式会社
画像処理システム
1か月前
技術開発合同会社
電子拡大鏡
1か月前
アスザック株式会社
遠隔操作システム
1か月前
17LIVE株式会社
サーバ及び方法
1か月前
トヨタ自動車株式会社
推定装置
1か月前
17LIVE株式会社
サーバ及び方法
1か月前
ミネベアミツミ株式会社
受信装置
19日前
アイホン株式会社
インターホンシステム
4日前
キヤノン株式会社
電子機器
27日前
アイホン株式会社
インターホンシステム
4日前
続きを見る
他の特許を見る