TOP
|
特許
|
意匠
|
商標
特許ウォッチ
Twitter
他の特許を見る
公開番号
2025146547
公報種別
公開特許公報(A)
公開日
2025-10-03
出願番号
2024062409
出願日
2024-03-21
発明の名称
マイクロフォン
出願人
有限会社フィデリックス
代理人
主分類
H04R
3/00 20060101AFI20250926BHJP(電気通信技術)
要約
【課題】スマートフォンなどに多用されている半導体製造技術を利用した微小電気機械システム(以下、MEMSという)を利用したMEMSマイクロフォンは、小型で半導体製造技術を使用しているので丈夫で信頼性が高いという長所があるが、音質面ではそのサイズや構造から高音質の収音マイクロフォンとして使用するには多くの課題があった。
【解決手段】MEMSマイクロフォンを複数並列に使用し、MEMSマイクロフォンの持つ高音域での急峻なピークを抑制し、複数使用による位相差の影響を最小限にし、かつ周波数特性の補償回路を低電力で駆動するとともに、回折効果による収音音質の低下を防止したことで、高音質収音用のマイクロフォンを実現する。
【選択図】図1
特許請求の範囲
【請求項1】
少なくとも2以上の微小電気機械システム(MEMS)マイクロフォンユニットを並列接続して用いたことを特徴とするマイクロフォン。
続きを表示(約 420 文字)
【請求項2】
2以上のMEMSマイクロフォンユニットの配置において、各MEMSマイクロフォンユニットの収音口間の距離が、最小となるように密接配置したことを特徴とする請求項1記載のマイクロフォン。
【請求項3】
MEMSマイクロフォンユニットの持つ高音域のピークを、ツィンT回路にブートストラップを掛けて抑制するか、またはツインT回路の定数をずらすことでf0やQ0をコントロールすることを特徴とする請求項1記載のマイクロフォン。
【請求項4】
MEMSマイクロフォンユニットの帯域補償回路の電源に定電流回路に電界効果トランジスタ(FET)を用いたことを特徴とする請求項1ないし請求項3記載のマイクロフォン。
【請求項5】
MEMSマイクロフォンユニットを収納するマイクロフォン筐体の収音部近傍の表面を、角のない連続した曲面で構成したことを特徴とする請求項1ないし請求項4記載のマイクロフォン。
発明の詳細な説明
【技術分野】
【0001】
本発明は、ハイレゾリューションオーディオなどに用いられる高音質の収音に適したマイクロフォンに関するものである。
続きを表示(約 1,900 文字)
【背景技術】
【0002】
スマートフォンなどに用いられる極小型のマイクロフォンは、従来のマイクロフォンのようにマイクロフォンユニットを単体で組み立てるものでなく、通称MEMS(微小電気機械システム)と呼ばれる技術によって付帯する回路と一体化して作られている。
【0003】
MEMSマイクロフォンの一般的な構造は、音響センサであるMEMSチップと、信号処理するICチップを組み合わせて一体化した極めて小型のマイクロフォンである。MEMSチップは、収音用のサウンドホールとバックチャンバーの間に極小のダイヤフラムとバックプレートを対面配置したコンデンサ型のマイクロフォンユニット形成している。そして音圧によるダイヤフラムの変動による静電容量の変化を電気信号として取り出し、集積回路化されたバイアス供給回路や増幅回路を通して出力される回路部分とを一体化したパッケージ構造である。
【0004】
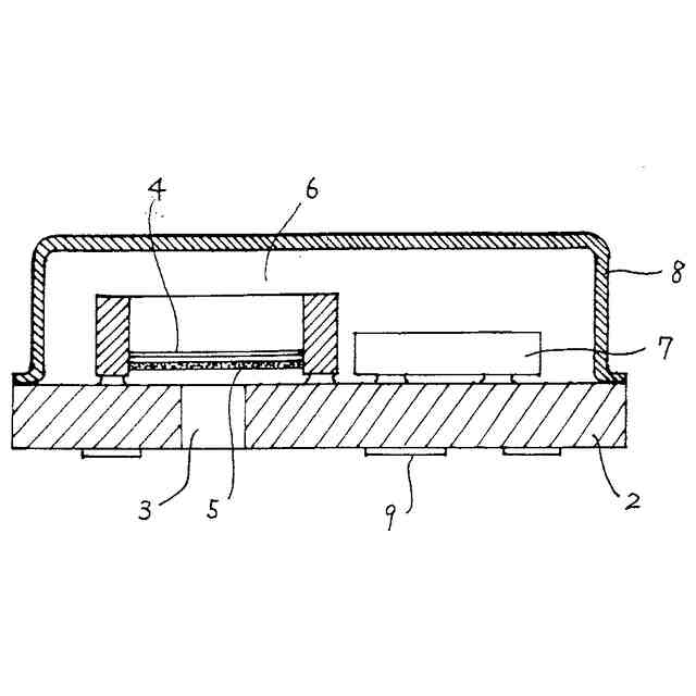
図2は、代表的なMEMSマイクロフォン1の本体構造を説明した断面図である。
図において、基板2に設けられたサウンドホール3は外部とつながり、音の入口となっており、サウンドホール3途中に振動電極板であるダイヤフラム4と固定電極板であるバックプレート5とがわずかな空隙を隔てて配置されている。またダイヤフラム4の背面には、バックチャンバー6となる空洞部が形成されている。ダイヤフラム4とバックプレート5は、平行平板型コンデンサのように作用し、音圧によってダイヤフラム4が振動すると、バックプレート5との空隙長が変わって静電容量が変化する。そしてこの変化を電気信号として取り出す。
一方、基板上には、バックプレート5にバイアス電圧を供給する昇圧回路や音圧変化の信号を増幅するプリアンプを集積した特定用途向けの通称ASICと呼ばれる半導体チップ7が取り付けられており、これらはキャップ8で封止された一体構造となっている。なお、9はMEMSマイクロフォン1を基板に取り付けるためのはんだ用パターンである。
【0005】
MEMSマイクロフォンは、半導体製造技術を応用して、フォトリソグラフィやエッチングなどにより、シリコンウエハに微細構造を形成してチップ化されている。サイズは数mm程度と小さくできるのでスマートフォン、ハンズフリー通話用のイヤホンマイク、ノイズキャンセリング機能の付いたヘッドフォンなど、小型が求められる機器に多く使用されている。
【0006】
このように、MEMSマイクロフォンは、従来のマイクロフォンに比べて遙かに小型のマイクロフォンとすることができる。しかも、製造プロセスが半導体製造技術に利用して作られることから、細かな職人技を要する調整部分もなく、丈夫で故障も少ない利点がある。
【0007】
MEMSマイクロフォンは、多くの利点を持つマイクロフォンであり、小型化が求められる機器のマイクロフォンとして適してはいるが、ハイレゾリューションオーディオなどの音楽収音用の高音質マイクロフォンとして使用しようとすると、以下に記述するようないくつかの問題点がある。
【0008】
ハイレゾリューションオーディオは、従来のCDやDATのサンプリングパラメーターを超えた高分解音質、高解像度音質を実現する規格であり、通常は44.1kHzから48kHz、量子化ビット数で16bit相当を超える規格となっており、録音用のマイクロフォンの場合、高域周波数特性として40kHz以上の特性が求められる。
【0009】
MEMSマイクロフォンは、収音面積が小さくダイヤフラムの直径は1mm程度と極小のため、SN比が取りにくいという問題点がある。
【0010】
通常のマイクロフォンであれば、マイクロフォンユニットを並列に複数個用いるとユニット間の位相差が問題になるので、高音質用途ではほとんど使われることがない。それよりも、普通のダイヤフラム式マイクロフォンであれば、口径を大きくすることによってSN比は解決できるので、通常はその方法が取られる。
1本のマイクでステレオ録音するためのMS方式によるマイクロフォンなどでは複数のユニットの使用はあっても、これはステレオの2チャンネル収録のための組み込みであって、SN比を向上させるために複数のマイクロフォンユニットを1本のマイクロフォンに用いるものではない。
(【0011】以降は省略されています)
この特許をJ-PlatPat(特許庁公式サイト)で参照する
関連特許
個人
監視カメラシステム
今日
キーコム株式会社
光伝送線路
1日前
個人
スキャン式車載用撮像装置
今日
サクサ株式会社
中継装置
6日前
WHISMR合同会社
収音装置
1か月前
サクサ株式会社
中継装置
7日前
アイホン株式会社
電気機器
28日前
キヤノン株式会社
撮像装置
1か月前
株式会社リコー
画像形成装置
1か月前
株式会社リコー
画像形成装置
1か月前
サクサ株式会社
無線システム
5日前
キヤノン電子株式会社
画像読取装置
1か月前
サクサ株式会社
無線通信装置
6日前
個人
ワイヤレスイヤホン対応耳掛け
26日前
サクサ株式会社
無線通信装置
6日前
株式会社リコー
画像形成装置
2か月前
個人
発信機及び発信方法
5日前
日本電気株式会社
海底分岐装置
1日前
キヤノン株式会社
撮像システム
28日前
ブラザー工業株式会社
読取装置
2か月前
沖電気工業株式会社
画像形成装置
16日前
株式会社NTTドコモ
端末
1日前
株式会社小糸製作所
画像照射装置
1か月前
沖電気工業株式会社
画像形成装置
8日前
国立大学法人電気通信大学
小型光学装置
1か月前
パテントフレア株式会社
超高速電波通信
1か月前
株式会社NTTドコモ
端末
今日
大日本印刷株式会社
写真撮影装置
27日前
株式会社NTTドコモ
端末
1日前
有限会社フィデリックス
マイクロフォン
12日前
株式会社NTTドコモ
端末
今日
株式会社JVCケンウッド
通信システム
12日前
キヤノン電子株式会社
シート材搬送装置
2か月前
株式会社NTTドコモ
端末
今日
株式会社松平商会
携帯機器カバー
1か月前
日本無線株式会社
無線通信システム
1か月前
続きを見る
他の特許を見る