TOP
|
特許
|
意匠
|
商標
特許ウォッチ
Twitter
他の特許を見る
公開番号
2025159938
公報種別
公開特許公報(A)
公開日
2025-10-22
出願番号
2024062820
出願日
2024-04-09
発明の名称
画像形成装置
出願人
株式会社リコー
代理人
個人
主分類
H04N
1/00 20060101AFI20251015BHJP(電気通信技術)
要約
【課題】複数のシステムを保有する画像形成装置の起動・省エネ復帰の使い勝手を向上させること。
【解決手段】スキャナ制御システム2と、プロッタ制御システム3と、前述のシステムを制御し、外部機器からの要求を中継する中継システム4と、パネルを有する操作部5と、指示を受けたときに、アプリケーションの動作状態を省エネルギーモードへ移行させる省エネ制御部20と、省エネ優先と、起動優先との一方を選択した優先情報を受ける選択部30と、優先して表示する操作画面を設定した画面設定情報を受ける設定部40と、所定のトリガを検知する検知部10と、検知されたトリガと優先情報と画面設定情報とに基づいて、復帰させるアプリケーションと、復帰時の操作画面とを判断する判断部50と、復帰時の操作画面をパネルに表示する表示制御部70と、復帰させるアプリケーションの起動を制御する起動制御部60と、を備える。
【選択図】図1
特許請求の範囲
【請求項1】
スキャナを制御するスキャナ制御システムと、
プロッタを制御するプロッタ制御システムと、
前記スキャナ制御システムと前記プロッタ制御システムとを制御し、外部機器からの要求を中継する中継システムと、
パネルを有する操作部と、
省エネルギーモードに移行する指示を受けたときに、前記スキャナ制御システム、前記プロッタ制御システム、前記中継システム及び前記操作部それぞれを動作させる複数のアプリケーションのうち少なくとも一つの動作状態を前記省エネルギーモードへ移行させる省エネ制御手段と、
前記省エネルギーを優先する省エネ優先と、前記アプリケーションの起動を優先する起動優先との一方を選択した優先情報を、予め受け取る選択手段と、
複数の操作画面のうち、優先して表示する操作画面を設定した画面設定情報を、予め受け取る設定手段と、
前記スキャナ制御システムと前記プロッタ制御システムと前記操作部とのうちの少なくともいずれかで発生する所定のトリガを検知する検知手段と、
検知されたトリガと前記優先情報と前記画面設定情報とに基づいて、複数の前記アプリケーションのうち、省エネルギーモードから復帰させるアプリケーションと、複数の前記操作画面のうち前記パネルに表示する復帰時の操作画面とを判断する判断手段と、
前記判断手段の判断に基づいて、前記復帰時の操作画面を前記パネルに表示する表示制御手段と、
前記判断手段の判断に基づいて、前記復帰させるアプリケーションの起動を制御する起動制御手段と、
を備える画像形成装置。
続きを表示(約 1,100 文字)
【請求項2】
前記検知されたトリガは、
前記スキャナ制御システムが有するスキャナカバーの開閉、前記プロッタ制御システムが有するプリンタカバーの開閉、前記スキャナ制御システムへの原稿の設置、前記プロッタ制御システムへの記録媒体の設置、前記操作部が有するパネルへの操作、コピージョブ実行、スキャナジョブ実行、及び、プリンタジョブ実行のうちの少なくとも一つであり、
前記画面設定情報は、前記優先して表示する操作画面として、コピーアプリケーションの画面、スキャナアプリケーションの画面、プリンタアプリケーションの画面及びホーム画面のうちのいずれかを設定した操作画面とし、
前記判断手段は、前記省エネ優先の場合と、前記起動優先かつ前記画面設定情報にコピーアプリケーションの画面を設定した場合と、前記起動優先かつ前記画面設定情報にコピーアプリケーションの画面以外を設定した場合とに分けて、前記復帰させるアプリケーションと前記復帰時の操作画面とを判断することを特徴とする請求項1に記載の画像形成装置。
【請求項3】
前記判断手段は、前記省エネ優先の場合には、前記検知されたトリガが、前記パネルへの操作、前記コピージョブ実行、前記スキャナジョブ実行及び前記プリンタジョブ実行であるときには、前記復帰時の操作画面を判断し、他のトリガであるときには、前記パネルに前記復帰時の操作画面を表示しないと判断することを特徴とする請求項2に記載の画像形成装置。
【請求項4】
前記判断手段は、前記起動優先かつ前記画面設定情報にコピーアプリケーションの画面を設定した場合には、前記検知されたトリガが、前記スキャナジョブ実行のときには、前記復帰時の操作画面を前記スキャナアプリケーションの画面とし、前記プリンタジョブ実行のときには、前記復帰時の操作画面を前記プリンタアプリケーションの画面とし、その他のトリガであるときには、前記復帰時の操作画面を前記コピーアプリケーションの画面と判断することを特徴とする請求項2または3に記載の画像形成装置。
【請求項5】
前記判断手段は、前記起動優先かつ前記画面設定情報にコピーアプリケーションの画面以外を設定した場合には、前記検知されたトリガが、前記スキャナカバーの開閉、前記原稿の設置及び前記スキャナジョブ実行のときには、前記復帰時の操作画面を前記スキャナアプリケーションの画面とし、前記プリンタカバーの開閉、前記記録媒体の設置及び前記プリンタジョブ実行のときには、前記復帰時の操作画面を前記プリンタアプリケーションの画面とし、前記パネルへの操作のときには、前記画面設定情報に基づいて判断することを特徴とする請求項2または3に記載の画像形成装置。
発明の詳細な説明
【技術分野】
【0001】
本発明は、画像形成装置に関する。
続きを表示(約 3,400 文字)
【背景技術】
【0002】
画像形成装置において、カバーの開閉や原稿・印刷用紙セット等のトリガを元に、省エネルギーでの動作から復帰させる部分を決定する技術がある。
例えば、特許文献1には、ユーザが原稿台に読取原稿をセットしたままの状態で省エネモードへの移行を指令して省エネモードに移行した後に、ユーザが放置した原稿を取り出そうとして原稿台のカバーを開いた場合でも、省エネモードは継続されることにより、ユーザの操作の手間を軽減される技術が開示されている。
しかし、復帰タイミングにユーザが望む画面表示、システム遷移になっておらず利便性が悪いという問題があった。
【発明の概要】
【発明が解決しようとする課題】
【0003】
本発明は、複数のシステムを保有する画像形成装置の起動・省エネ復帰の使い勝手を向上させることを目的とする。
【課題を解決するための手段】
【0004】
上述した課題を解決するために、本発明の画像形成装置は、
スキャナを制御するスキャナ制御システムと、
プロッタを制御するプロッタ制御システムと、
前記スキャナ制御システムと前記プロッタ制御システムとを制御し、外部機器からの要求を中継する中継システムと、
パネルを有する操作部と、
省エネルギーモードに移行する指示を受けたときに、前記スキャナ制御システム、前記プロッタ制御システム、前記中継システム及び前記操作部それぞれを動作させる複数のアプリケーションのうち少なくとも一つの動作状態を前記省エネルギーモードへ移行させる省エネ制御手段と、
前記省エネルギーを優先する省エネ優先と、前記アプリケーションの起動を優先する起動優先との一方を選択した優先情報を、予め受け取る選択手段と、
複数の操作画面のうち、優先して表示する操作画面を設定した画面設定情報を、予め受け取る設定手段と、
前記スキャナ制御システムと前記プロッタ制御システムと前記操作部とのうちの少なくともいずれかで発生する所定のトリガを検知する検知手段と、
検知されたトリガと前記優先情報と前記画面設定情報とに基づいて、複数の前記アプリケーションのうち、省エネルギーモードから復帰させるアプリケーションと、複数の前記操作画面のうち前記パネルに表示する復帰時の操作画面とを判断する判断手段と、
前記判断手段の判断に基づいて、前記復帰時の操作画面を前記パネルに表示する表示制御手段と、
前記判断手段の判断に基づいて、前記復帰させるアプリケーションの起動を制御する起動制御手段と、
を備えるものとする。
【発明の効果】
【0005】
本発明によれば、複数のシステムを保有する画像形成装置の起動・省エネ復帰の使い勝手を向上させることができる。
【図面の簡単な説明】
【0006】
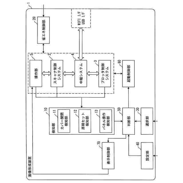
本発明の実施形態に係る画像形成装置の構成例を説明する図である。
操作部のパネルに表示されるホーム画面の表示例を示す図である。
コピーアプリケーションを選択したときの表示例を示す図である。
初期設定を行う画面の一例を示す図である。
所定のトリガが発生してから画面表示までの処理例を説明するフローチャートである。
スキャナカバーオープン、スキャナ用原稿セットのトリガを検知してから復帰動作までの処理例を説明するフローチャートである。
プリンタカバーオープン、印刷用原稿セットのトリガを検知してから復帰動作までの処理例を説明するフローチャートである。
省エネ優先設定時の、復帰要因となるトリガと、パネルに表示するアプリケーションとの対応例を示すテーブルである。
省エネ優先設定時の、復帰要因となるトリガと、システム遷移との対応例を示すテーブルである。
起動優先かつコピーアプリケーション優先設定時の、復帰要因となるトリガと、パネルに表示するアプリケーションとの対応例を示すテーブルである。
起動優先かつコピーアプリケーション優先設定時の、復帰要因となるトリガと、システム遷移との対応例を示すテーブルである。
起動優先かつコピーアプリケーション以外優先設定時の、復帰要因となるトリガと、パネルに表示するアプリケーションとの対応例を示すテーブルである。
起動優先かつコピーアプリケーション以外優先設定時の、復帰要因となるトリガと、システム遷移との対応例を示すテーブルである。
操作パネルの押下を復帰要因のトリガとするときの、システム遷移との対応例を示すテーブルである。
画像形成装置のハードウェア構成の一例を説明するブロック図である。
【発明を実施するための形態】
【0007】
以下、添付の図面に基づき、本発明の実施の形態について説明する。なお、本発明の実施の形態を説明するための各図面において、同一の機能もしくは形状を有する部材や構成部品等の構成要素については、判別が可能な限り同一符号を付すことにより一度説明した後ではその説明を省略する。
【0008】
本発明は、複数のシステムを保有する画像形成装置において、各システムの起動・省エネルギーからの復帰の使い勝手を向上させる。以降適宜「各システムの起動・省エネルギーからの復帰」を「起動・省エネ復帰」ともいう。
本発明の実施形態に係る画像形成装置は、スキャナ制御システムと、プロッタ制御システムと、それぞれのシステムを中継する中継システムとを保有し、外部機器とのやり取りは中継システムが行う。
ユーザが操作するパネルを配置した操作部はスキャナ制御システムが保有する。
【0009】
画像形成装置は、起動・省エネ復帰時にトリガを元に起動するアプリケーション(「復帰させるアプリケーション」ともいう)を判断し、起動するアプリケーションに対応するシステムを起動するとともに、パネル上に表示するアプリケーションを切り替える。上述した各システム(スキャナ制御システム、プロッタ制御システム、中継システム)または操作部は、例えば、アプリケーション(「アプリ」ともいう)を起動することによって、起動され、各処理を実行可能となる。
画像形成装置は、起動するアプリケーションを判断する際には、事前にユーザが選択した、省エネルギーモードを優先する省エネ優先設定と、アプリケーションの起動を優先する起動優先設定との一方の設定を用いて、起動するアプリケーションを判断し、パネル上に、起動するアプリケーションを操作可能な画面を切り替える。
また、画像形成装置は、起動・省エネ復帰の要因となるトリガに伴って、操作部のパネルに操作画面(例えば、ホーム画面、各アプリケーションの画面)を表示する。画像形成装置は、特定のアプリケーションを使用するための操作を実施したときには、そのアプリケーション画面を表示することを基本とする。加えて、ユーザが省エネ優先なのか起動優先なのかを選択し、選択された優先に基づいて、ユーザが望む省エネ、復帰時の操作画面の表示を実現する。
【0010】
ここで、操作画面の展開例を説明する。比較例の画面表示では、電源OFF状態/省エネ状態(消費電力を抑制するため、操作パネルや各制御システムがスリープに入っている状態)からコピー開始させるまでには、以下のように6ステップが必要となる。
(1)ユーザは起動/省エネ復帰させる操作を行う。
(2)画像形成装置は待機状態(各アプリケーションが動作できる状態)に遷移する。
(3)画像形成装置は操作パネルにHOME画面を出す。
(4)ユーザはHOME画面からコピーアプリケーションを選択する。
(5)画像形成装置は操作パネルにコピーアプリケーション画面を出す。
(6)ユーザはアプリケーション画面上で設定を行い、コピーを開始する。
(【0011】以降は省略されています)
この特許をJ-PlatPat(特許庁公式サイト)で参照する
関連特許
株式会社リコー
外観検査装置
4日前
株式会社リコー
画像形成装置
19日前
株式会社リコー
画像形成装置
10日前
株式会社リコー
服薬支援装置
10日前
株式会社リコー
画像形成装置、及び、機器
18日前
株式会社リコー
光走査装置及び画像形成装置
17日前
株式会社リコー
シート供給装置、画像形成装置
17日前
株式会社リコー
画像形成装置及び異常判定方法
10日前
株式会社リコー
画像形成装置、及び画像形成方法
4日前
株式会社リコー
画像形成装置および画像形成方法
10日前
株式会社リコー
加熱搬送装置、及び、画像形成装置
18日前
株式会社リコー
加熱装置、定着装置及び画像形成装置
4日前
株式会社リコー
樹脂粒子、トナー、及び、画像形成装置
17日前
株式会社リコー
画像形成装置、画像形成方法およびプログラム
10日前
株式会社リコー
画像処理装置、画像処理方法およびプログラム
12日前
株式会社リコー
情報処理装置、情報処理方法およびプログラム
5日前
株式会社リコー
情報処理装置、情報処理方法およびプログラム
17日前
株式会社リコー
表示装置、表示方法、プログラム、表示システム
4日前
株式会社リコー
表示装置、表示方法、プログラム、表示システム
12日前
株式会社リコー
シート収容装置、シート給送装置及び画像形成装置
10日前
株式会社リコー
シート処理装置、シート処理方法及び画像形成システム
17日前
株式会社リコー
情報処理システム、情報処理装置、方法およびプログラム
4日前
株式会社リコー
機器システム、制御方法、情報処理装置、プログラム、機器
4日前
株式会社リコー
筆記装置、表示装置、および、コミュニケーションシステム
4日前
株式会社リコー
導電膜製造方法、焼結装置、電磁波シールド層及び電極パターン
4日前
株式会社リコー
瞳孔又は角膜の位置検知装置、及びヘッドマウントディスプレイ
17日前
株式会社リコー
瞳孔又は角膜の位置検知装置、及びヘッドマウントディスプレイ
17日前
株式会社リコー
情報処理装置、情報処理システム、情報処理方法及びプログラム
18日前
株式会社リコー
点群処理装置、点群処理方法、プログラムおよび点群処理システム
17日前
株式会社リコー
液体吐出システム、液体吐出装置、液体吐出方法およびプログラム
4日前
株式会社リコー
情報処理装置、画面作成方法、プログラム、及び情報処理システム
17日前
株式会社リコー
情報処理装置、画面作成方法、プログラム、及び情報処理システム
17日前
株式会社リコー
情報共有システム、情報共有方法、サーバー装置、プログラム、機器
4日前
株式会社リコー
トナー、現像剤、現像剤収容容器、画像形成方法、及び画像形成装置
19日前
株式会社リコー
画像形成装置、画像形成装置の制御方法及び画像形成装置の制御プログラム
4日前
株式会社リコー
トナー、トナー収容ユニット、画像形成装置、画像形成方法及び印刷物の製造方法
10日前
続きを見る
他の特許を見る