TOP
|
特許
|
意匠
|
商標
特許ウォッチ
Twitter
他の特許を見る
10個以上の画像は省略されています。
公開番号
2025167358
公報種別
公開特許公報(A)
公開日
2025-11-07
出願番号
2024071890
出願日
2024-04-25
発明の名称
点群処理装置、点群処理方法、プログラムおよび点群処理システム
出願人
株式会社リコー
代理人
弁理士法人酒井国際特許事務所
主分類
G06T
7/50 20170101AFI20251030BHJP(計算;計数)
要約
【課題】検出された部分領域の向きを推定し、物体を示す部分領域を、三次元モデルに適切に置換することを目的とする。
【解決手段】対象を測定して取得された三次元点群に基づき部分領域を検出する検出部と、前記部分領域に対応する三次元モデルと前記三次元点群に基づき前記部分領域の向きを推定する推定部と、前記推定部が推定した向きに基づき前記部分領域を前記三次元モデルに置換する置換部と、を備える。
【選択図】図4
特許請求の範囲
【請求項1】
対象を測定して取得された三次元点群に基づき物体を示す部分領域を検出する検出部と、
前記物体の種類に対応する三次元モデルと前記三次元点群に基づき前記部分領域の向きを推定する推定部と、
前記推定部が推定した向きに基づき前記部分領域を前記三次元モデルに置換する置換部と、を備えた点群処理装置。
続きを表示(約 810 文字)
【請求項2】
前記推定部は、前記三次元モデルを、前記部分領域に含まれる前記三次元点群に対して相対的に回転させることにより、前記部分領域の向きを推定する、請求項1に記載の点群処理装置。
【請求項3】
前記推定部は、前記三次元モデルを変換して得られた点群であるモデル点群と前記部分領域に含まれる前記三次元点群とを比較することにより、前記部分領域の向きを推定する、請求項2に記載の点群処理装置。
【請求項4】
前記三次元点群及び前記部分領域を表示する表示画面を生成する表示画面生成部を備えた、請求項3に記載の点群処理装置。
【請求項5】
前記表示画面生成部は、前記三次元モデルまたは前記モデル点群をさらに表示する表示画面を生成する請求項4に記載の点群処理装置。
【請求項6】
前記表示画面生成部は、前記三次元モデルまたは前記モデル点群を、前記三次元点群に対して相対的に回転させて表示した表示画面を生成する、請求項5に記載の点群処理装置。
【請求項7】
前記表示画面を表示部に表示させる表示制御部を備えた、請求項4乃至6のいずれか一項に記載の点群処理装置。
【請求項8】
前記検出部が検出した部分領域を修正する修正部をさらに備え、
前記修正部は、前記部分領域を削除し、または、新たな部分領域を追加する、請求項1乃至6のいずれか一項に記載の点群処理装置。
【請求項9】
前記部分領域は、物体検出で求められるバウンディングボックスである、請求項1乃至6のいずれか一項に記載の点群処理装置。
【請求項10】
前記部分領域は、インスタンスセグメンテーションで求められるセグメンテーションマスクである、請求項1乃至6のいずれか一項に記載の点群処理装置。
(【請求項11】以降は省略されています)
発明の詳細な説明
【技術分野】
【0001】
本発明は、点群処理装置、点群処理方法、プログラムおよび点群処理システムに関する。
続きを表示(約 1,900 文字)
【背景技術】
【0002】
従来、三次元点群から物体を囲むバウンディングボックス等の部分領域を検出し、検出されたバウンディングボックスに含まれる点群を、モデル形状に置換する技術が知られている。
【0003】
また、特許文献1には、三次元モデル形状を示すモデル形状情報を用いて、三次元点群に対応する三次元形状を示す三次元形状情報を生成する三次元形状生成装置であって、複数の前記モデル形状情報から前記三次元形状情報を生成するために用いられるモデル形状情報を複数設定するモデル設定操作を受け付ける受付画面に対する前記モデル設定操作と、前記三次元点群を示す点群情報と、に基づき、前記モデル設定操作により設定された前記複数のモデル形状情報を用いて、前記三次元形状情報を生成する三次元情報生成手段を備えた三次元形状生成装置が記載されている。
【発明の概要】
【発明が解決しようとする課題】
【0004】
しかしながら、従来の技術によれば、検出されたバウンディングボックスの向きを推定することは記載されていない。
【0005】
本発明は、上記に鑑みてなされたものであって、検出された部分領域の向きを推定し、部分領域を、三次元モデルに適切に置換することを目的とする。
【課題を解決するための手段】
【0006】
上述した課題を解決し、目的を達成するために、本発明に係る点群処理装置は、対象を測定して取得された三次元点群に基づき物体を示す部分領域を検出する検出部と、前記物体の種類に対応する三次元モデルと前記三次元点群に基づき前記部分領域の向きを推定する推定部と、前記推定部が推定した向きに基づき前記部分領域を前記三次元モデルに置換する置換部と、を備える。
【発明の効果】
【0007】
本発明によれば、検出された部分領域の向きを推定し、部分領域を、三次元モデルに適切に置換することができる。
【図面の簡単な説明】
【0008】
図1は、本発明の第1の実施の形態に係る点群処理システムの全体構成図である。
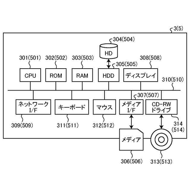
図2は、本実施形態に係る端末装置、管理サーバのハードウェア構成図である。
図3は、本実施形態に係る点群処理システムの機能ブロック図である。
図4は、本実施形態に係る3Dモデル処理部の機能ブロック図である。
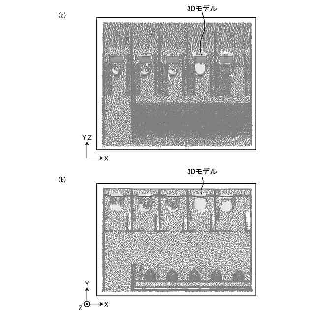
図5は、点群データの一例を示す図である。
図6は、検出されたバウンディングボックスの例を示す図である。
図7は、クラスごとに検出されたバウンディングボックスのデータの例を示す図である。
図8は、バウンディングボックスを3Dモデルに置換した例を示す図である。
図9は、バウンディングボックスを3Dモデルに置換した例を示す図である。
図10は、3Dモデルのメッシュとモデル点群の例を示す図である。
図11は、3Dモデルの向きを説明する図である。
図12は、本実施形態に係る3Dモデル処理の手順の一例を示すフローチャートである。
図13は、本実施形態に係る3Dモデル処理の一例を示すシーケンス図である。
図14は、本実施形態に係る設定画面の一例を示す説明図である。
図15は、本実施形態に係る選択画面の一例を示す説明図である。
図16は、第2の実施の形態に係る3Dモデル処理部の機能ブロック図である。
図17は、第2の実施の形態に係る設定画面の一例を示す説明図である。
図18は、第2の実施の形態に係る3Dモデル処理の手順の一例を示すフローチャートである。
図19は、インスタンスセグメンテーションを説明する図である。
【発明を実施するための形態】
【0009】
土木、建築などの業界において、労働生産性の向上などを目的に、BIM(Building Information Modeling)/CIM(Construction Information Modeling)化が進められている。
【0010】
BIMは、コンピュータ上に作成した三次元の建物のデジタルモデル(以後、三次元モデル又は3Dモデルと呼ぶ)に、コストや仕上げ、管理情報などの属性データを追加した建築物のデータベースを、建築の設計、施工から維持管理までのあらゆる工程で情報活用を行うためのソリューションである。
(【0011】以降は省略されています)
この特許をJ-PlatPat(特許庁公式サイト)で参照する
関連特許
株式会社リコー
画像形成装置
16日前
株式会社リコー
画像形成装置
7日前
株式会社リコー
画像形成装置
13日前
株式会社リコー
画像形成装置
13日前
株式会社リコー
画像形成装置、及び、機器
6日前
株式会社リコー
延長トレイ及び画像形成装置
16日前
株式会社リコー
光走査装置及び画像形成装置
5日前
株式会社リコー
画像読取装置及び画像読取方法
15日前
株式会社リコー
シート供給装置、画像形成装置
5日前
株式会社リコー
加熱装置、定着装置、画像形成装置
8日前
株式会社リコー
媒体処理装置及び画像形成システム
16日前
株式会社リコー
樹脂粒子、及び樹脂粒子の製造方法
13日前
株式会社リコー
加熱搬送装置、及び、画像形成装置
6日前
株式会社リコー
読取装置、読取方法およびプログラム
16日前
株式会社リコー
樹脂粒子、トナー、及び、画像形成装置
5日前
株式会社リコー
画像処理装置、画像処理方法およびプログラム
今日
株式会社リコー
画像形成装置、画像処理方法およびプログラム
14日前
株式会社リコー
情報処理装置、情報処理方法およびプログラム
5日前
株式会社リコー
表示装置、表示方法、プログラム、表示システム
今日
株式会社リコー
表示装置、表示方法、プログラム、表示システム
8日前
株式会社リコー
モノクロ用光走査装置及びモノクロ画像形成装置
19日前
株式会社リコー
画像読取装置、用紙斜行防止装置及び画像形成装置
14日前
株式会社リコー
シート処理装置、シート処理方法及び画像形成システム
5日前
株式会社リコー
情報処理装置、設定システム、プログラム、情報処理方法
13日前
株式会社リコー
情報処理装置、表示装置、情報処理方法、およびプログラム
7日前
株式会社リコー
情報処理装置、画像形成装置、情報処理方法及びプログラム
13日前
株式会社リコー
情報処理装置、情報処理システム、情報処理方法及びプログラム
6日前
株式会社リコー
瞳孔又は角膜の位置検知装置、及びヘッドマウントディスプレイ
5日前
株式会社リコー
瞳孔又は角膜の位置検知装置、及びヘッドマウントディスプレイ
5日前
株式会社リコー
情報処理装置、画面作成方法、プログラム、及び情報処理システム
5日前
株式会社リコー
情報処理装置、画面作成方法、プログラム、及び情報処理システム
5日前
株式会社リコー
電子機器、ファクシミリ通信システム、プログラム、情報処理方法
13日前
株式会社リコー
点群処理装置、点群処理方法、プログラムおよび点群処理システム
5日前
株式会社リコー
シート折り装置、後処理装置、画像形成装置、及び画像形成システム
14日前
株式会社リコー
トナー、現像剤、現像剤収容容器、画像形成方法、及び画像形成装置
7日前
株式会社リコー
画像形成装置、画像形成装置の制御方法及び画像形成装置の制御プログラム
8日前
続きを見る
他の特許を見る