TOP
|
特許
|
意匠
|
商標
特許ウォッチ
Twitter
他の特許を見る
公開番号
2025168208
公報種別
公開特許公報(A)
公開日
2025-11-07
出願番号
2024213765
出願日
2024-12-06
発明の名称
情報処理装置、画面作成方法、プログラム、及び情報処理システム
出願人
株式会社リコー
代理人
弁理士法人ITOH
主分類
H04N
7/18 20060101AFI20251030BHJP(電気通信技術)
要約
【課題】撮影により得た撮影画像を補完することで、利用者の利便性を向上させることを目的とする。
【解決手段】本開示は、撮影装置により第1の撮影位置で対象物を撮影することで得られた第1の撮影画像における第1の所定領域である第1の所定領域画像を表示する第1の撮影画像表示領域と、前記第1の撮影画像に位置合わせされた三次元画像の少なくとも一部を表示すると共に所定の撮影日時における第2の撮影位置に対応する位置を示す撮影位置画像を表示する三次元画像表示領域とを含む画面を作成し、前記第2の所定領域画像を表示する第2の撮影画像表示領域及び前記テキスト情報を表示するテキスト表示領域を前記画面に含める、情報処理装置である。
【選択図】図35
特許請求の範囲
【請求項1】
撮影装置により第1の撮影位置で対象物を撮影することで得られた第1の撮影画像における第1の所定領域である第1の所定領域画像を表示する第1の撮影画像表示領域と、前記第1の撮影画像に位置合わせされた三次元画像の少なくとも一部を表示すると共に所定の撮影日時における第2の撮影位置に対応する位置を示す撮影位置画像を表示する三次元画像表示領域とを含む画面を作成する作成部と、
前記第2の撮影位置と、前記撮影位置画像に係る前記第2の撮影位置に対応付けられた前記所定の撮影日時の第2の撮影画像における第2の所定領域である第2の所定領域画像及びテキスト情報とを関連付けて記憶する記憶部と、を有し、
前記作成部は、前記第2の所定領域画像を表示する第2の撮影画像表示領域及び前記テキスト情報を表示するテキスト表示領域を前記画面に含める、情報処理装置。
続きを表示(約 1,200 文字)
【請求項2】
請求項1に記載の情報処理装置であって、
音声から音声テキストを生成するテキスト生成部を有し、
前記テキスト情報は、前記テキスト生成部によって、前記撮影画像が得られた際の撮影日時に集音された音声から生成された音声テキストである、情報処理装置。
【請求項3】
前記テキスト情報は、入力されたテキストである、請求項1に記載の情報処理装置。
【請求項4】
請求項1に記載の情報処理装置であって、
前記テキスト表示領域に表示中のテキスト情報を、前記第1の撮影画像表示領域に表示中の前記第1の所定領域画像に関連付けて複製する指示を取得する取得部と、
前記複製する指示に基づき、前記テキスト表示領域に表示中のテキスト情報を、前記第1の撮影画像表示領域に表示中の前記第1の所定領域画像の前記第1の所定領域に関連付けて登録する処理部と、
を有する情報処理装置。
【請求項5】
請求項1に記載の情報処理装置であって、
出力中の音声から生成される音声テキストを、前記第2の撮影画像表示領域に表示中の前記第2の所定領域画像に関連付けて複製する指示を取得する取得部と、
前記複製する指示に基づき、前記音声から前記音声テキストを生成するテキスト生成部と、
前記音声テキストを、前記第2の撮影画像表示領域に表示中の前記第2の所定領域画像の前記第2の所定領域に関連付けて登録する処理部と、
を有する情報処理装置。
【請求項6】
前記作成部は、前記三次元画像表示領域内において、前記第1の撮影位置に対応する位置に、前記第1の所定領域画像の表示中の画角を撮影領域とする第1の仮想カメラを示す画像を重畳する、請求項1に記載の情報処理装置。
【請求項7】
前記撮影位置画像は、前記三次元画像表示領域内において、前記第2の撮影位置に対応する位置に、前記第2の所定領域画像が表示された場合の画角を撮影領域とする第2の仮想カメラを示す画像である、請求項1に記載の情報処理装置。
【請求項8】
前記作成部は、前記三次元画像表示領域内の複数の前記撮影位置に対応する各位置に、複数の前記撮影位置画像を重畳する、請求項1に記載の情報処理装置。
【請求項9】
前記作成部は、前記三次元画像表示領域内に、複数の前記撮影位置に対応する各位置に基づく前記撮影装置の移動経路を示す移動経路画像を重畳する、請求項4に記載の情報処理装置。
【請求項10】
前記作成部は、前記三次元画像表示領域内において、前記第2の撮影画像表示領域で表示する前記第2の所定領域画像の所定領域に対応する対応所定領域を表示するように前記画面を作成する、請求項7に記載の情報処理装置。
(【請求項11】以降は省略されています)
発明の詳細な説明
【技術分野】
【0001】
本開示は、情報処理装置、画面作成方法、プログラム、及び情報処理システムに関する。
続きを表示(約 2,900 文字)
【背景技術】
【0002】
近年、通常の画角では確認しきれないような箇所も含む撮像範囲として、例えば360度の全周囲が撮像された360度画像(全天球画像、全方位画像、全周囲画像ともいう)等の広い視野角を有する広視野の画像(以下「広視野画像」と示す。)が知られている。このような広視野画像の全てを表示端末で表示させようとすると、広視野画像が湾曲して見えづらいため、表示端末には広視野画像における所定領域を示す所定領域画像を表示して、ユーザが所定領域画像を閲覧している(特許文献1参照)。
【発明の概要】
【発明が解決しようとする課題】
【0003】
しかしながら、ユーザは、表示される範囲の所定領域画像を閲覧するだけでは、所定領域画像がどこの何を撮影したものか、把握することが困難であった。
【0004】
また、撮影装置は、撮影位置から一度の撮影で撮影装置の周囲360度の対象物を撮影するのであって、対象物に対して360度の方向から撮影できるわけではない。よって、撮影範囲に入っている対象物であっても、対象物の裏側等を撮影することはできないため、利用者は対象物の裏側等の状態を把握することができない。
【0005】
以上の課題は、撮影画像が、広視野画像のように湾曲する画像ではない場合も同様であった。
【0006】
本開示は上記事情に鑑みてなされたもので、撮影により得た撮影画像を補完することにより、利用者の利便性を向上させることを目的とする。
【課題を解決するための手段】
【0007】
請求項1に係る開示内容は、撮影装置により第1の撮影位置で対象物を撮影することで得られた第1の撮影画像における第1の所定領域である第1の所定領域画像を表示する第1の撮影画像表示領域と、前記第1の撮影画像に位置合わせされた三次元画像の少なくとも一部を表示すると共に所定の撮影日時における第2の撮影位置に対応する位置を示す撮影位置画像を表示する三次元画像表示領域とを含む画面を作成する作成部と、前記第2の撮影位置と、前記撮影位置画像に係る前記第2の撮影位置に対応付けられた前記所定の撮影日時の第2の撮影画像における第2の所定領域である第2の所定領域画像及びテキスト情報とを関連付けて記憶する記憶部と、を有し、前記作成部は、前記第2の所定領域画像を表示する第2の撮影画像表示領域及び前記テキスト情報を表示するテキスト表示領域を前記画面に含める、情報処理装置。である。
【図面の簡単な説明】
【0008】
(a)は撮影装置の左側面図であり、(b)は撮影装置の正面図であり、(c)は撮影装置の平面図である。
撮影装置の使用イメージ図である。
(a)は撮影装置で撮影された半球画像(前側)、(b)は撮影装置で撮影された半球画像(後側)、(c)は正距円筒図法により表された画像を示した図である。
(a)は正距円筒射影画像で球を被う状態を示した概念図、(b)は全天球画像を示した図である。
全天球画像を3次元の立体球とした場合の仮想カメラ及び所定領域の位置を示した図である。
(a)は図5の立体斜視図、(b)は(a)の状態の所定領域画像がディスプレイに表示されている図、(c)は(a)における仮想カメラICの視点を変更後の所定領域を示した図、(d)は(c)の状態の所定領域画像がディスプレイに表示されている図である。
球座標による三次元ユークリッド空間内の点を示した図である。
所定領域と注目点との関係を示した概念図である。
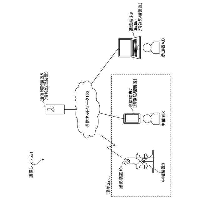
実施形態に係る通信システムの概略図である。
撮影装置のハードウェア構成図である。
中継装置のハードウェア構成図である。
通信制御装置及び通信端末のハードウェア構成図である。
実施形態に係る通信システムの各機能構成図である。
ユーザ・デバイス管理テーブルの概念図である。
仮想ルーム管理テーブルの概念図である。
三次元画像管理テーブル(その1)の概念図である。
三次元画像管理テーブル(その2)の概念図である。
過去に作成された現在作成中の移動履歴管理テーブルの概念図である。
現在作成中の移動履歴管理テーブルの概念図
通信システムにおいてコンテンツデータの通信処理を示したシーケンス図である。
通信システムにおいて録画及び録音を開始する処理を示すシーケンス図である。
通信システムにおいて録画及び録音を停止する処理を示すシーケンス図である。
通信システムにおいて録画及び録音の再生の処理を示すシーケンス図である。
録画データ選択画面を示す図である。
画面表示処理において通信制御装置が実行する処理を示すフローチャートである。
画面表示処理において通信制御装置が実行する処理を示すフローチャートである。
通信端末9aに表示する画面の初期表示例を示す図である。
表示領域620に対して、対応所定領域、仮想カメラIC1のアイコン、及び仮想カメラIC1の視線を示す線図を表示した画面を示す図である。
通信端末9aにおいて、同じ撮影位置及び画角で、撮影の対象物に変化が生じた状態を示す図である。
通信端末9aにおいて、仮想カメラIC1のアイコン、対応表示領域、及び視線を示す線図を重畳した別の状態を示す図である。
撮影日時の登録時の撮影装置の位置及び画角を示す各仮想カメラIC1のアイコンの移動経路、並びに、最新の対応表示領域及び視線を示す線図を重畳した状態を示す図である。
通信端末9aにおいて、複数の録画した所定領域画像を再生する場合の画面を示す図である。
撮影日時の登録後の画面表示処理において通信制御装置が実行する処理を示すフローチャートである。
撮影日時の登録後の画面表示処理において通信制御装置が実行する処理を示すフローチャートである。
通信端末9aにおいて、撮影日時の登録後に現在の所定領域画像を表示する場合の画面を示す図である。
通信端末9aにおいて、撮影日時の登録後に過去の所定領域画像を追加表示する場合の画面を示す図である。
【発明を実施するための形態】
【0009】
以下、図面を用いて、本発明の実施形態について説明する。
【0010】
〔全天球画像の概要〕
図1乃至図8を用いて、全天球画像の生成方法について説明する。なお、全天球画像は、全天球パノラマ画像、360°パノラマ画像とも言われ、広範囲の視野角を有する広視野動画の一例である。広視野画像には、180°程度の単なるパノラマ画像も含まれる。
(【0011】以降は省略されています)
この特許をJ-PlatPat(特許庁公式サイト)で参照する
関連特許
株式会社リコー
画像形成装置
13日前
株式会社リコー
画像形成装置
13日前
株式会社リコー
画像形成装置
16日前
株式会社リコー
画像形成装置
7日前
株式会社リコー
画像形成装置
21日前
株式会社リコー
機器及び異常判定方法
21日前
株式会社リコー
画像形成装置及びシステム
19日前
株式会社リコー
画像形成装置、及び、機器
6日前
株式会社リコー
延長トレイ及び画像形成装置
16日前
株式会社リコー
光走査装置及び画像形成装置
5日前
株式会社リコー
定着装置、及び画像形成装置
21日前
株式会社リコー
シート供給装置、画像形成装置
5日前
株式会社リコー
画像読取装置及び画像読取方法
15日前
株式会社リコー
表示装置、切替方法、プログラム
26日前
株式会社リコー
媒体処理装置及び画像形成システム
16日前
株式会社リコー
加熱装置、定着装置、画像形成装置
8日前
株式会社リコー
樹脂粒子、及び樹脂粒子の製造方法
13日前
株式会社リコー
加熱搬送装置、及び、画像形成装置
6日前
株式会社リコー
加熱装置、定着装置及び画像形成装置
20日前
株式会社リコー
シート給送装置及び画像形成システム
22日前
株式会社リコー
通信端末、通信方法、及びプログラム
19日前
株式会社リコー
通信装置、通信方法、及びプログラム
19日前
株式会社リコー
読取装置、読取方法およびプログラム
16日前
株式会社リコー
光源装置、画像投影装置および調整方法
26日前
株式会社リコー
樹脂粒子、トナー、及び、画像形成装置
5日前
株式会社リコー
ノード、データ共有方法、及びプログラム
1か月前
株式会社リコー
通信装置、状態制御方法、及びプログラム
22日前
株式会社リコー
画像形成装置、及び、プロセスカートリッジ
26日前
株式会社リコー
画像形成装置、情報処理方法及びプログラム
19日前
株式会社リコー
画像読取装置、画像判定方法およびプログラム
19日前
株式会社リコー
画像形成装置、情報処理方法およびプログラム
20日前
株式会社リコー
画像処理装置、画像処理方法およびプログラム
今日
株式会社リコー
画像形成装置、画像処理方法およびプログラム
14日前
株式会社リコー
情報処理装置、情報処理方法およびプログラム
5日前
株式会社リコー
表示装置、表示方法、プログラム、表示システム
今日
株式会社リコー
表示装置、表示方法、プログラム、表示システム
8日前
続きを見る
他の特許を見る