TOP
|
特許
|
意匠
|
商標
特許ウォッチ
Twitter
他の特許を見る
公開番号
2025171959
公報種別
公開特許公報(A)
公開日
2025-11-20
出願番号
2025037176
出願日
2025-03-10
発明の名称
導電膜製造方法、焼結装置、電磁波シールド層及び電極パターン
出願人
株式会社リコー
代理人
弁理士法人ITOH
主分類
H05K
3/12 20060101AFI20251113BHJP(他に分類されない電気技術)
要約
【課題】導電膜製造装置を簡略化することができる導電膜製造方法の提供。
【解決手段】基体上に、銅、酸化銅及び還元剤を含むインクを付与して印刷パターンを形成する印刷パターン形成工程と、前記印刷パターンを乾燥させる乾燥工程と、前記乾燥工程によって得られる前記印刷パターンを、密閉状態で焼結する焼結工程と、を含むことを特徴とする導電膜製造方法である。
【選択図】図1
特許請求の範囲
【請求項1】
基体上に、銅、酸化銅及び還元剤を含むインクを付与して印刷パターンを形成する印刷パターン形成工程と、
前記印刷パターンを乾燥させる乾燥工程と、
前記乾燥工程によって得られる前記印刷パターンを、密閉状態で焼結する焼結工程と、
を含むことを特徴とする導電膜製造方法。
続きを表示(約 530 文字)
【請求項2】
前記焼結工程は、内部空間が不活性ガス雰囲気下にあるチャンバー内で、前記印刷パターンが封入された密閉容器を焼結する、請求項1に記載の導電膜製造方法。
【請求項3】
前記インクは、水素化銅(CuH)を含む、請求項1に記載の導電膜製造方法。
【請求項4】
前記インクは、次亜リン酸を含む、請求項1に記載の導電膜製造方法。
【請求項5】
請求項1~4のいずれか一項に記載の導電膜製造方法によって製造された導電膜を有することを特徴とする電磁波シールド層。
【請求項6】
請求項1~4のいずれか一項に記載の導電膜製造方法によって製造された導電膜を有することを特徴とする電極パターン。
【請求項7】
基体と、前記基体上の銅、酸化銅及び還元剤を含むインクからなる印刷パターンとを焼結する焼結装置であって、
前記基体及び前記印刷パターンを封入する密閉容器と、
前記基体及び前記印刷パターンを焼結する焼結手段と、
を備えることを特徴とする焼結装置。
【請求項8】
前記密閉容器は、給気弁、排気弁及び安全弁を有する、請求項7に記載の焼結装置。
発明の詳細な説明
【技術分野】
【0001】
本発明は、導電膜製造方法、焼結装置、電磁波シールド層及び電極パターンに関する。
続きを表示(約 1,800 文字)
【背景技術】
【0002】
近年、プリンテッドエレクトロニクスが注目されている。プリンテッドエレクトロニクスは、従来のプリント基板作製法で用いられている露光やエッチングを必要とせず、かつ有害な化学物質を排出せずに製造することができる。既存の印刷技術を用いて、基板上に導電性インクを配線パターンとして描画することで得られる導電膜もその一例である。
【0003】
例えば、銅ナノ粒子と、銅酸化剤と、CuHとを含むインク調合物を空気雰囲気中で焼結することによって、導電性パターンを形成する方法が開示されている(例えば、特許文献1及び非特許文献1参照)。また、基材上にパターニング又は塗布された分散液中の金属微粒子を、ある程度の密閉性を有する空間域内で焼結することで、良好な導電性を有する導電膜及び導電回路を形成する方法も開示されている(例えば、特許文献2参照)。
【発明の概要】
【発明が解決しようとする課題】
【0004】
本発明の一態様は、導電膜製造装置を簡略化することができる導電膜製造方法を提供することを目的とする。
【課題を解決するための手段】
【0005】
課題を解決するための手段としての本発明の一態様は、
基体上に、銅、酸化銅及び還元剤を含むインクを付与して印刷パターンを形成する印刷パターン形成工程と、
前記印刷パターンを乾燥させる乾燥工程と、
前記乾燥工程によって得られる前記印刷パターンを、密閉状態で焼結する焼結工程と、
を含む導電膜製造方法である。
【発明の効果】
【0006】
本発明の一態様によれば、導電膜製造装置を簡略化することができる導電膜製造方法を提供することができる。
【図面の簡単な説明】
【0007】
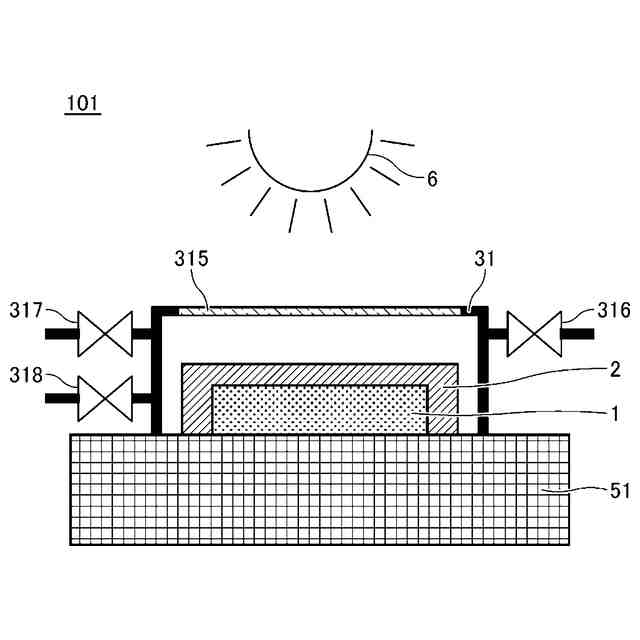
図1は、本発明の実施形態に係る導電膜製造方法における焼結工程を実施する焼結装置の一例を示す概略断面図である。
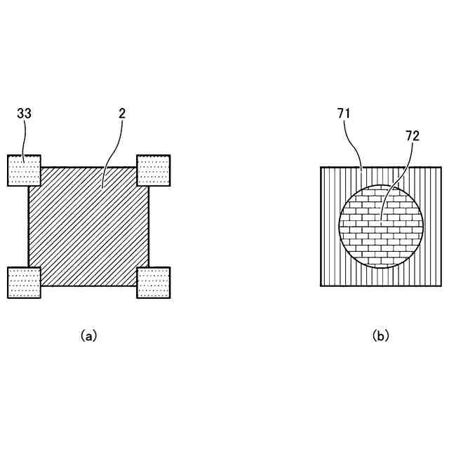
図2Aは、密閉容器の構造の一例を示す概略断面図である。
図2Bは、図2Aの密閉容器を上方向から見たときの概略上面図である。
図3は、本発明の実施形態に係る導電膜製造方法における焼結工程を実施する焼結装置の他の例を示す概略断面図である。
図4は、実施例1における焼結後の基体及び導電膜を上方向から見たときの概略上面図である。
図5は、比較例1における焼結後の基体及び導電膜を上方向から見たときの概略上面図である。
図6は、比較例2における焼結後の基体及び導電膜を上方向から見たときの概略上面図である。
図7は、比較例3における焼結後の基体及び導電膜を上方向から見たときの概略上面図である。
【発明を実施するための形態】
【0008】
特許文献1及び非特許文献1に記載の発明(及び技術)においては、導電性インクを空気雰囲気下で焼結することから、導電性インクが均一に焼結されない場合がある。焼結が不均一であると、焼結体の導電性が不十分となる場合があり、その焼結体は不良品となるため製造効率が低下するといった問題点があった。特許文献1及び非特許文献1に記載の発明(及び技術)において、均一に焼結された導電膜を得るためには、還元ガス雰囲気のチャンバーやプラズマ焼結装置などを追加で導入する必要があり、ランニングコストがかかるという懸念点もあった。
【0009】
そのような問題点及び懸念点を解消する手段の一例として、特許文献2に記載の発明が提案されている。しかしながら、特許文献2に記載の発明においては、金属微粒子を焼結するためにリフロー炉構造を有する加熱炉を用いており、完全な密閉状態で焼結されていない。即ち、加熱炉には、気体が出入り可能なある程度の隙間が存在し、その隙間から不活性ガスが流入したり、還元ガスが流出したりすることから、依然として金属微粒子を均一に焼結することができないといった懸念点があった。また同様に、製造効率にも改良の余地があった。
【0010】
本発明の実施形態(以下、単に、「本実施形態」と称する場合がある。)に係る導電膜製造方法は、従来技術における各種懸念事項を十分に解消することができる。より具体的には、導電膜製造装置を簡略化することができる導電膜製造方法を実現することができる。
(【0011】以降は省略されています)
この特許をJ-PlatPat(特許庁公式サイト)で参照する
関連特許
株式会社リコー
移動体
1か月前
株式会社リコー
服薬支援装置
7日前
株式会社リコー
画像形成装置
1か月前
株式会社リコー
画像形成装置
25日前
株式会社リコー
画像形成装置
22日前
株式会社リコー
画像形成装置
16日前
株式会社リコー
画像形成装置
7日前
株式会社リコー
画像形成装置
22日前
株式会社リコー
外観検査装置
1日前
株式会社リコー
機器及び異常判定方法
1か月前
株式会社リコー
画像形成装置、及び、機器
15日前
株式会社リコー
画像形成装置及びシステム
28日前
株式会社リコー
定着装置、及び画像形成装置
1か月前
株式会社リコー
延長トレイ及び画像形成装置
25日前
株式会社リコー
光走査装置及び画像形成装置
14日前
株式会社リコー
シート供給装置、画像形成装置
14日前
株式会社リコー
画像形成装置及び異常判定方法
7日前
株式会社リコー
画像読取装置及び画像読取方法
24日前
株式会社リコー
画像形成装置および画像形成方法
7日前
株式会社リコー
表示装置、切替方法、プログラム
1か月前
株式会社リコー
画像形成装置、及び画像形成方法
1日前
株式会社リコー
媒体処理装置及び画像形成システム
25日前
株式会社リコー
加熱搬送装置、及び、画像形成装置
15日前
株式会社リコー
樹脂粒子、及び樹脂粒子の製造方法
22日前
株式会社リコー
加熱装置、定着装置、画像形成装置
17日前
株式会社リコー
通信装置、通信方法、及びプログラム
28日前
株式会社リコー
加熱装置、定着装置及び画像形成装置
29日前
株式会社リコー
加熱装置、定着装置及び画像形成装置
1日前
株式会社リコー
読取装置、読取方法およびプログラム
25日前
株式会社リコー
シート給送装置及び画像形成システム
1か月前
株式会社リコー
通信端末、通信方法、及びプログラム
28日前
株式会社リコー
樹脂粒子、トナー、及び、画像形成装置
14日前
株式会社リコー
光源装置、画像投影装置および調整方法
1か月前
株式会社リコー
通信装置、状態制御方法、及びプログラム
1か月前
株式会社リコー
ノード、データ共有方法、及びプログラム
1か月前
株式会社リコー
画像形成装置、情報処理方法及びプログラム
28日前
続きを見る
他の特許を見る