TOP
|
特許
|
意匠
|
商標
特許ウォッチ
Twitter
他の特許を見る
10個以上の画像は省略されています。
公開番号
2025159583
公報種別
公開特許公報(A)
公開日
2025-10-21
出願番号
2024062268
出願日
2024-04-08
発明の名称
シート給送装置及び画像形成システム
出願人
株式会社リコー
代理人
弁理士法人武和国際特許事務所
主分類
B65H
3/48 20060101AFI20251014BHJP(運搬;包装;貯蔵;薄板状または線条材料の取扱い)
要約
【課題】エアピックアップ方式において、媒体のエアを吹き付ける方向を制御することで、坪量が大きい媒体であってもエアによる浮上分離を安定的に行うことができるシート給送装置を提供する。
【解決手段】積載されている複数のシート状の媒体の最上位媒体を気体により浮上させて搬送方向の下流へと送り出すシート給送装置において、複数のシートを積載して収容するシート収容部と、最上位媒体に気体を吹き付ける気体吹付部と、媒体の特性に応じて、気体吹付部による風向を制御する風向制御部と、を備える。
【選択図】図5
特許請求の範囲
【請求項1】
積載されている複数のシート状の媒体の最上位媒体を気体により浮上させて搬送方向の下流へと送り出すシート給送装置であって、
複数のシートを積載して収容するシート収容部と、
前記最上位媒体に前記気体を吹き付ける気体吹付部と、
前記媒体の特性に応じて、前記気体吹付部による風向を制御する風向制御部と、
を備えることを特徴とするシート給送装置。
続きを表示(約 960 文字)
【請求項2】
前記気体吹付部は、気体吹出口と、当該気体吹出口の向きを前記シートの積載方向を軸として回転させる吹出口回転部と、を備え、
前記風向制御部は、前記媒体の特性に応じて、前記媒体の側面への風向を、当該側面に対する直交方向とするか、当該側面に対する傾斜方向とするか、のいずれかになるように前記気体吹付部を回転させる、
請求項1に記載のシート給送装置。
【請求項3】
前記風向制御部は、
前記媒体の坪量が所定の閾値以上の場合、前記風向を前記直交方向になるようにし、
前記媒体の坪量が所定の閾値未満の場合、前記風向を前記傾斜方向になるように、前記風向を切り替える、
請求項2に記載のシート給送装置。
【請求項4】
前記風向制御部は、
前記風向は前記傾斜方向になるとき、前記気体吹付部を、前記媒体の搬送方向上流側に向くように回転させる、
請求項3に記載のシート給送装置。
【請求項5】
ユーザに対し、前記風向の向きを通知する通知部を備え、
前記風向制御部は、前記媒体の特性に応じて前記風向の種類を示す通知を行うように当該通知部を制御する、
請求項1乃至4のいずれか一項に記載のシート給送装置。
【請求項6】
前記通知部は、ユーザが前記媒体の特性情報を入力する入力インターフェースを兼ねる操作表示部である、
請求項5に記載のシート給送装置。
【請求項7】
前記通知部は、前記シート収容部が有する、
請求項5に記載のシート給送装置。
【請求項8】
シート状の媒体に画像を形成する画像形成装置と、
前記画像形成装置に前記媒体を搬送するために積載されている複数の前記媒体の最上位を分離して給送する請求項1に記載のシート給送装置と、
を有することを特徴とする画像形成システム。
【請求項9】
前記シート収容部を複数備え、
前記画像形成装置に対する前記搬送方向において、前記媒体を搬送する搬送路の高さ位置が略同一になる一の収容部に前記気体吹付部を備える、
請求項8に記載の画像形成システム。
発明の詳細な説明
【技術分野】
【0001】
本発明は、シート給送装置及び画像形成システム
続きを表示(約 1,600 文字)
【背景技術】
【0002】
シート状の媒体(以下、「シート」という。)を送り出すシート給送機構を備えるシート給送装置が知られている。また、シート給送装置と、このシート給送装置から送り出されたシートに画像を形成する画像形成装置と、を連携させた画像形成システムも知られている。
【0003】
シート給送装置におけるシートピックアップ方式として、複数の方式が知られている。例えば、収容部に積載されている複数のシートの最上位のものを空気(エア)により浮上させ、浮上したシートを吸着ベルトにて吸着させて給送するエアピックアップ方式が知られている。
【0004】
また、積載されたシートの最上位のシートを安定的に分離して給送するために、当接部材をエア吹き出し部のエア吹き出し口に対向するシート束の側面に当接させ、当接した当接部材をエア吹き出し部とともに上昇させ、シート束の側面にエア吹き出し口から送られた分離エアをシート間に送り込む技術が開示されている(例えば、特許文献1を参照)。
【発明の概要】
【発明が解決しようとする課題】
【0005】
特許文献1に記載の技術は、従来のシートの一例として、坪量が約65gsm(grams per square meter:グラム毎平方メートル)程度のコピー用紙や、坪量が約209gsm程度の官製はがきなどであれば、シート束の側面に吹き付ける浮上エアの風量/風圧を過度に大きくしなくても、安定して分離、浮上させることができる。しかしながら、これら従来から慣用されているシートよりも坪量が大きいシートを給送する場合、安定した分離や浮上を行うには、浮上エアの風量/風圧を大きくする必要がある。
【0006】
ところで近年、店舗などで簡単に購入することが可能となったギフトカードなどもシート状の媒体の一種である。例えばギフトカードとは、表面に印刷されたカード番号、PIN(Personal Identification Number)、コード等を入力すると受領者のEC(Electronic Commerce:電子商取引)にポイントとして反映され、ECでの購入に利用できるものである。
【0007】
これらギフトカードは、耐久性への要求からプラスチック素材を用いるものが主であったが、環境負荷軽減への配慮から、プラスチック素材を用いるのではなく、紙素材を用いるものへと置き換わりつつある。なお、ギフトカードへの耐久性の要求は変わらないので、紙素材の中でも、剛性を得ることができる厚紙へと置き換わりつつある。
【0008】
ギフトカードへ適用可能な「厚紙」は、その坪量は「470gsm」以上におよぶ。すなわち、従来から慣用される媒体の坪量と比べると過度に大きいものとなる。したがって、特許文献1に開示されているような、浮上エアの風量/風圧の増加させる構成を適用した場合、坪量が大きい媒体をエアピックアップ方式で給送することに課題がある。
【0009】
本発明は、エアピックアップ方式において、媒体のエアを吹き付ける方向を制御することで、坪量が大きい媒体であってもエアによる浮上分離を安定的に行うことができるシート給送装置を提供することを目的とする。
【課題を解決するための手段】
【0010】
上記課題を解決するために、本発明の一態様は、積載されている複数のシート状の媒体の最上位媒体を気体により浮上させて搬送方向の下流へと送り出すシート給送装置に関し、複数のシートを積載して収容するシート収容部と、前記最上位媒体に前記気体を吹き付ける気体吹付部と、前記媒体の特性に応じて、前記気体吹付部による風向を制御する風向制御部と、を備えることを特徴とする。
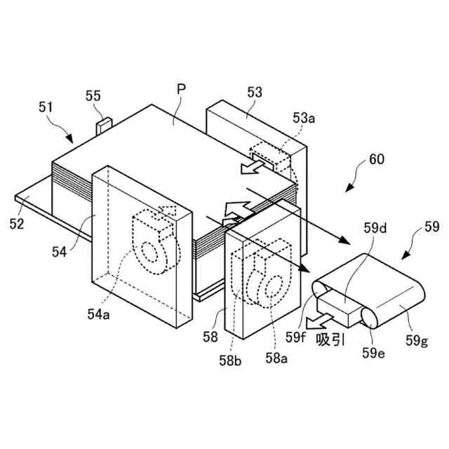
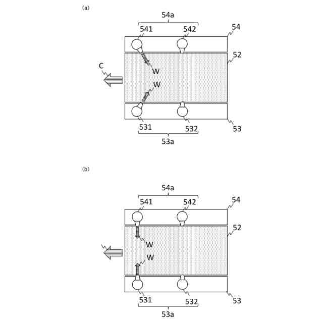
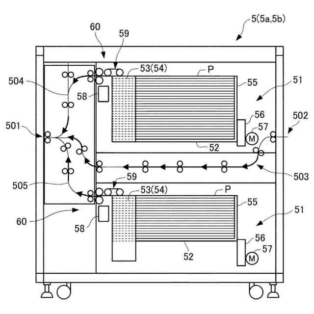
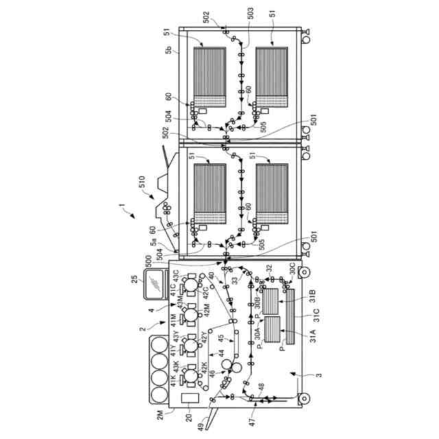
(【0011】以降は省略されています)
この特許をJ-PlatPat(特許庁公式サイト)で参照する
関連特許
個人
束ね具
27日前
個人
収容箱
4か月前
個人
コンベア
6か月前
個人
段ボール箱
8か月前
個人
段ボール箱
8か月前
個人
容器
10か月前
個人
ゴミ収集器
8か月前
個人
バンド
3か月前
個人
土嚢運搬器具
9か月前
個人
角筒状構造体
6か月前
個人
宅配システム
8か月前
個人
楽ちんハンド
6か月前
個人
テープ引出機
27日前
個人
包装容器
2か月前
個人
お薬の締結装置
7か月前
個人
閉塞装置
11か月前
個人
コード類収納具
9か月前
個人
棒状体収容容器
1か月前
個人
廃棄物収容容器
4か月前
個人
積み重ね用補助具
4か月前
株式会社和気
包装用箱
1か月前
個人
蓋閉止構造
5か月前
個人
蓋閉止構造
5か月前
個人
ゴミ処理機
10か月前
株式会社コロナ
梱包材
6か月前
個人
貯蔵サイロ
8か月前
株式会社和気
包装用箱
10か月前
個人
把手付米袋
6か月前
株式会社バンダイ
物品
2か月前
株式会社ナベル
検査装置
1か月前
個人
袋入り即席麺
8か月前
三甲株式会社
蓋体
9か月前
三甲株式会社
容器
3か月前
個人
介護用コップ
3か月前
個人
包装箱
11か月前
個人
コード折り畳み器具
5か月前
続きを見る
他の特許を見る