TOP
|
特許
|
意匠
|
商標
特許ウォッチ
Twitter
他の特許を見る
10個以上の画像は省略されています。
公開番号
2025148809
公報種別
公開特許公報(A)
公開日
2025-10-08
出願番号
2024049119
出願日
2024-03-26
発明の名称
移動体
出願人
株式会社リコー
代理人
弁理士法人酒井国際特許事務所
主分類
B62D
55/06 20060101AFI20251001BHJP(鉄道以外の路面車両)
要約
【課題】移動体の物体検知装置に付着および付着する虞がある異物を除去することで、物体検知装置の誤検知を抑制して、移動体の旋回動作軌道上に存在する物体を確実に検知する。
【解決手段】履帯に履帯によって走行する履帯式走行体を備えて旋回動作が可能な移動体において、前記移動体の周囲を囲むように設けられ、一部が開口した開口部を有する中空パイプ状のバンパーと、前記バンパーの前記開口部を臨む位置に備えられ、周囲の物体を検知するための物体検知装置と、前記バンパーの内部に存在する異物を、流体を射出して除去する異物除去装置と、前記物体検知装置の状態又は動作モードに応じて、前記異物除去装置の前記流体の射出状態を制御する物体検知部と、を備える。
【選択図】図7
特許請求の範囲
【請求項1】
履帯によって走行する履帯式走行体を備えて旋回動作が可能な移動体において、
前記移動体の周囲を囲むように設けられ、一部が開口した開口部を有する中空パイプ状のバンパーと、
前記バンパーの前記開口部を臨む位置に備えられ、周囲の物体を検知するための物体検知装置と、
前記バンパーの内部に存在する異物を、流体を射出して除去する異物除去装置と、
前記物体検知装置の状態又は動作モードに応じて、前記異物除去装置の前記流体の射出状態を制御する物体検知部と、
を備えることを特徴とする移動体。
続きを表示(約 1,100 文字)
【請求項2】
前記異物除去装置は、前記物体検知装置の検知範囲を阻害しない位置、かつ、前記物体検知装置の検知部の近傍に配置される、
ことを特徴とする請求項1に記載の移動体。
【請求項3】
前記バンパーは、前記移動体の周囲の一部を囲むように設けられることで2つの端部を有し、
前記異物除去装置は、前記バンパーのどちらか一方の端部に配置される、
ことを特徴とする請求項1または2に記載の移動体。
【請求項4】
前記バンパーは、前記移動体の周囲の一部を囲むように設けられことで2つの端部を有し、
前記異物除去装置は、前記バンパーのどちらか一方の端部に配置され、
前記異物除去装置を配置しない前記バンパーの他方の端部に、前記異物を吸い込む吸い込み装置を備え、
前記吸い込み装置は、前記物体検知部により制御される、
ことを特徴とする請求項1または2に記載の移動体。
【請求項5】
前記バンパーは、前記移動体の周囲の一部を囲むように設けられことで2つの端部を有し、
前記物体検知装置の検知部の近傍、または、前記バンパーの両端部に、前記異物を吸い込む吸い込み装置を備え、
前記吸い込み装置は、前記物体検知部により制御される、
ことを特徴とする請求項1または2に記載の移動体。
【請求項6】
前記バンパーは、前記移動体の周囲の一部を囲むように設けられことで2つの端部を有し、
前記異物除去装置は、前記バンパーの両端部に配置される、
ことを特徴とする請求項1または2に記載の移動体。
【請求項7】
前記物体検知部は、前記異物除去装置について、前記物体検知装置の検知部の検知波形の応答状態に対して、前記異物の除去の強度を変える制御を行う、
ことを特徴とする請求項1に記載の移動体。
【請求項8】
前記物体検知部は、前記異物除去装置について、前記物体検知装置の検知部の検知波形が正常ではない状態の際に動作させる、
ことを特徴とする請求項7に記載の移動体。
【請求項9】
前記物体検知部は、前記異物除去装置について、前記物体検知装置の検知部の検知波形が正常状態であっても動作させる、
ことを特徴とする請求項7に記載の移動体。
【請求項10】
前記物体検知部は、前記異物除去装置について、前記物体検知装置の検知部の検知波形が正常状態に達するまで動作させる、
ことを特徴とする請求項7に記載の移動体。
(【請求項11】以降は省略されています)
発明の詳細な説明
【技術分野】
【0001】
本発明は、移動体に関する。
続きを表示(約 1,900 文字)
【背景技術】
【0002】
従来、車輪に掛け回した履帯によって走行する履帯式走行体を備えた走行装置(移動体)が知られている。このような履帯式走行体を備えた移動体は、いわゆる超信地旋回や信地旋回を行うことができるため、限られたスペースでも回転動作をスムーズに行うことができる。
【0003】
特許文献1には、超信地旋回を行うことができる履帯式走行体を備えた移動体が開示されている。
【発明の概要】
【発明が解決しようとする課題】
【0004】
しかしながら、履帯式走行体を備えた移動体が超信地旋回などを行う場合、移動体の旋回動作軌道上に存在する物体にぶつかってしまうことがある。そこで、移動体に、移動体周辺に存在する物体を検知する物体検知装置を設けることが考えられる。ただし、その場合、物体検知装置に、移動体が超信地旋回などを行った際に舞い上がった水や塵などの異物が付着してしまうと、移動体の旋回動作軌道上に本来の検知対象の物体が存在しないにもかかわらず、物体が存在すると誤検知してしまう虞がある。
【0005】
本発明は、上記に鑑みてなされたものであって、移動体の物体検知装置に付着および付着する虞がある異物を除去することで、物体検知装置の誤検知を抑制して、移動体の旋回動作軌道上に存在する物体を確実に検知することを目的とする。
【課題を解決するための手段】
【0006】
上述した課題を解決し、目的を達成するために、本発明は、履帯によって走行する履帯式走行体を備えて旋回動作が可能な移動体において、前記移動体の周囲を囲むように設けられ、一部が開口した開口部を有する中空パイプ状のバンパーと、前記バンパーの前記開口部を臨む位置に備えられ、周囲の物体を検知するための物体検知装置と、前記バンパーの内部に存在する異物を、流体を射出して除去する異物除去装置と、前記物体検知装置の状態又は動作モードに応じて、前記異物除去装置の前記流体の射出状態を制御する物体検知部と、を備えることを特徴とする。
【発明の効果】
【0007】
本発明によれば、移動体の物体検知装置に付着および付着する虞がある異物を除去することで、物体検知装置の誤検知を抑制して、移動体の旋回動作軌道上に存在する物体を確実に検知することができる、という効果を奏する。
【図面の簡単な説明】
【0008】
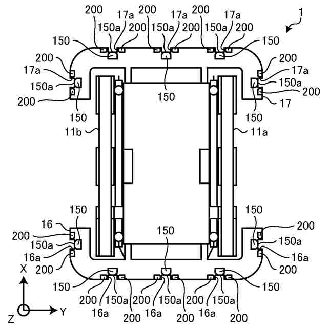
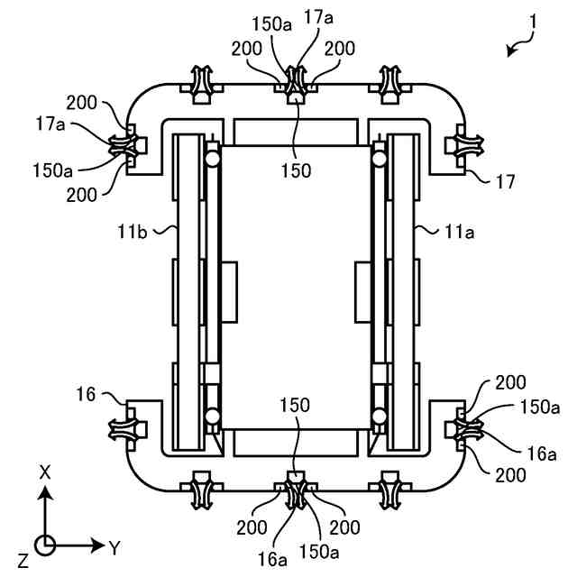
図1は、第1の実施の形態にかかる走行装置の構成の一例を示す外観斜視図である。
図2は、履帯式走行体の構成の一例を示す図である。
図3は、超信地旋回の右旋回の例を示す図である。
図4は、信地旋回の右旋回の例を示す図である。
図5は、走行装置に超音波センサを複数設置して全方位カバーした例を示す図である。
図6は、走行装置の構成の一例を示す断面図である。
図7は、異物除去装置からの送風(射出)の一例を示す図である。
図8は、走行装置のハードウェア構成の一例を示すブロック図である。
図9は、走行装置の物体検知部による自律走行の際の超音波センサを用いた物体検知の流れを示すフローチャートである。
図10は、走行装置の起動時における物体検知装置の起動後から準備完了までの流れを示すフローチャートである。
図11は、走行装置の構成の変形例を示す断面図である。
図12は、異物除去装置の設置態様の変形例1を示す図である。
図13は、異物除去装置の設置態様の変形例2を示す図である。
図14は、異物除去装置の設置態様の変形例3を示す図である。
図15は、第2の実施の形態に係る走行装置の構成の一例を示す断面図である。
図16は、異物除去装置からの送風(射出)の一例を示す図である。
図17は、第3の実施の形態に係る走行装置の構成の一例を示す断面図である。
図18は、異物除去装置からの送風(射出)の一例を示す図である。
図19は、第4の実施の形態に係る走行装置の構成の一例を示す断面図である。
図20は、異物除去装置からの送風(射出)の一例を示す図である。
【発明を実施するための形態】
【0009】
以下に添付図面を参照して、移動体の実施の形態を詳細に説明する。
【0010】
(第1の実施の形態)
図1は、第1の実施の形態にかかる走行装置1の構成の一例を示す外観斜視図である。
(【0011】以降は省略されています)
この特許をJ-PlatPat(特許庁公式サイト)で参照する
関連特許
株式会社リコー
移動体
10日前
株式会社リコー
画像形成システム
15日前
株式会社リコー
表示装置、切替方法、プログラム
1日前
株式会社リコー
媒体処理装置及び画像形成システム
15日前
株式会社リコー
シート給紙装置、および画像形成装置
15日前
株式会社リコー
光源装置、画像投影装置および調整方法
1日前
株式会社リコー
ノード、データ共有方法、及びプログラム
8日前
株式会社リコー
画像形成装置、及び、プロセスカートリッジ
1日前
株式会社リコー
画像形成装置、情報処理方法およびプログラム
15日前
株式会社リコー
画像形成装置、画像形成方法、およびプログラム
15日前
株式会社リコー
表示装置、表示方法、プログラム、表示システム
9日前
株式会社リコー
対話装置、対話システム、対話方法及びプログラム
8日前
株式会社リコー
情報処理装置、情報処理システムおよび情報処理方法
8日前
株式会社リコー
電気機器、画像形成装置、制御方法、及びプログラム
4日前
株式会社リコー
情報処理システム、情報処理装置および情報処理方法
8日前
株式会社リコー
情報処理システム、情報処理方法、および情報処理装置
15日前
株式会社リコー
情報処理装置、情報処理システム、情報処理方法、プログラム
15日前
株式会社リコー
情報処理装置、情報処理システム、情報処理方法及びプログラム
8日前
株式会社リコー
検索システム、プログラム、検索方法、および顧客選定システム
15日前
株式会社リコー
障害物検出システム、移動体、プログラムおよび障害物検出方法
15日前
株式会社リコー
情報処理装置、情報処理システム、情報処理方法及びプログラム
10日前
株式会社リコー
液体吐出ヘッド、液体吐出装置、および液体吐出ヘッドの製造方法
15日前
株式会社リコー
情報処理装置、レポート作成システム、プログラム、情報処理方法
15日前
株式会社リコー
情報処理装置、画面作成方法、プログラム、及び情報処理システム
4日前
株式会社リコー
情報処理装置、情報処理方法、プログラム、および情報処理システム
8日前
株式会社リコー
手書き入力装置、手書き入力システム、手書き入力方法、プログラム
8日前
株式会社リコー
操作拡張ユニットと画像形成装置
15日前
株式会社リコー
表示装置、表示方法、プログラム
1日前
株式会社リコー
画像処理装置、方法、およびプログラム
1日前
株式会社リコー
情報処理装置、通信方法、プログラム、システム
15日前
株式会社リコー
情報処理システム、情報処理方法およびプログラム
3日前
株式会社リコー
情報処理システム、サービス提供システム、設定方法
3日前
株式会社リコー
電子写真画像形成用キャリア、二成分現像剤、プロセスカートリッジ、画像形成装置、及び画像形成方法
9日前
株式会社リコー
通信端末、画像通信システム、表示方法、及びプログラム
1日前
株式会社リコー
情報処理システム、サーバ、情報処理方法、及びプログラム
1日前
株式会社リコー
電子機器、情報処理システム、情報処理方法およびプログラム
4日前
続きを見る
他の特許を見る