TOP
|
特許
|
意匠
|
商標
特許ウォッチ
Twitter
他の特許を見る
公開番号
2025158196
公報種別
公開特許公報(A)
公開日
2025-10-17
出願番号
2024060505
出願日
2024-04-04
発明の名称
画像形成装置、及び、プロセスカートリッジ
出願人
株式会社リコー
代理人
個人
主分類
G03G
13/095 20060101AFI20251009BHJP(写真;映画;光波以外の波を使用する類似技術;電子写真;ホログラフイ)
要約
【課題】現像装置にクリーニング装置としての機能を担わせたときに、紙粉などの異物が、経時で現像装置の外部に漏出してしまう不具合を生じにくくする。
【解決手段】感光体ドラム1の表面に接触した状態で所定の回転方向に回転する現像ローラ51と、現像ローラ51の表面に接触した状態で前記回転方向に回転する供給ローラ52と、を具備した現像装置5が設けられている。そして、現像ローラ51は、感光体ドラム1の表面に形成された潜像を現像してトナー像を形成するとともに、感光体ドラム1の表面に付着したトナーを回収する。さらに、供給ローラ52は、現像装置5の内部に収容されたトナーを現像ローラ51の表面に供給するとともに、感光体ドラム1の表面から現像ローラ51の表面に移行して付着した紙粉S(異物)を回収する。
【選択図】図2
特許請求の範囲
【請求項1】
感光体と、
前記感光体の表面を帯電する帯電装置と、
前記感光体の表面に接触した状態で所定の回転方向に回転する現像ローラと、前記現像ローラの表面に接触した状態で前記回転方向に回転する供給ローラと、を具備した現像装置と、
を備え、
前記現像ローラは、前記感光体の表面に形成された潜像を現像してトナー像を形成するとともに、前記感光体の表面に付着したトナーを回収し、
前記供給ローラは、前記現像装置の内部に収容されたトナーを前記現像ローラの表面に供給するとともに、前記感光体の表面から前記現像ローラの表面に移行して付着した異物を回収することを特徴とする画像形成装置。
続きを表示(約 970 文字)
【請求項2】
前記供給ローラは、
軸部上に、セル径が300μm以上の発泡樹脂材料からなる発泡層が形成されたものであって、
前記現像ローラと接触する部分における前記現像ローラに対する線速比が1.0以上となるように回転することを特徴とする請求項1に記載の画像形成装置。
【請求項3】
前記発泡層は、セル形状が連泡であることを特徴とする請求項2に記載の画像形成装置。
【請求項4】
前記発泡層は、前記セル径が300~700μmの発泡樹脂材料からなり、
前記線速比が、1.0~1.5であることを特徴とする請求項2に記載の画像形成装置。
【請求項5】
前記異物は、少なくとも紙粉を含むことを特徴とする請求項1又は請求項2に記載の画像形成装置。
【請求項6】
前記現像装置は、
前記供給ローラによって供給されて前記現像ローラの表面に担持されたトナーの量を規制する現像剤規制部材と、
前記現像剤規制部材の近傍に滞留した前記異物を、その滞留位置から遠ざかる位置に向けて掻き出す掻出し部材と、
を具備したことを特徴とする請求項1又は請求項2に記載の画像形成装置。
【請求項7】
前記掻出し部材は、前記現像装置の内部に収容されたトナーを撹拌する撹拌部材に設置されたことを特徴とする請求項6に記載の画像形成装置。
【請求項8】
画像形成装置本体に対して着脱可能に設置されるプロセスカートリッジであって、
感光体と、
前記感光体の表面を帯電する帯電装置と、
前記感光体の表面に接触した状態で所定の回転方向に回転する現像ローラと、前記現像ローラの表面に接触した状態で前記回転方向に回転する供給ローラと、を具備した現像装置と、
を備え、
前記現像ローラは、前記感光体の表面に形成された潜像を現像してトナー像を形成するとともに、前記感光体の表面に付着したトナーを回収し、
前記供給ローラは、前記現像装置の内部に収容されたトナーを前記現像ローラの表面に供給するとともに、前記感光体の表面から前記現像ローラの表面に移行して付着した異物を回収することを特徴とするプロセスカートリッジ。
発明の詳細な説明
【技術分野】
【0001】
この発明は、複写機、プリンタ、ファクシミリ、又は、それらの複合機等の画像形成装置と、そこに設置されるプロセスカートリッジと、に関するものである。
続きを表示(約 1,900 文字)
【背景技術】
【0002】
従来から、複写機、プリンタ等の画像形成装置において、感光体(感光体ドラム)の表面に付着した未転写トナーをクリーニングするクリーニング装置を設置しないクリーナレス方式のものが知られている(例えば、特許文献1参照。)。このようなクリーナレス方式の画像形成装置では、感光体の表面に付着した未転写トナーは現像装置で回収されて、現像装置がクリーニング装置としても機能することになる。
【0003】
一方、特許文献1には、クリーナレス方式の画像形成装置に設置される現像装置において、現像ローラと規制部材(ドクターブレード)との間に紙粉などの異物が挟まる不具合を防止することを目的として、現像ローラと供給ローラとが接触部で同方向に移動するように回転する技術が開示されている。
【発明の概要】
【発明が解決しようとする課題】
【0004】
特許文献1のクリーナレス方式の画像形成装置は、現像装置の内部において現像ローラと供給ローラとの接触部の下方に滞留した紙粉などの異物が、経時で現像装置の外部に漏出してしまう不具合が生じていた。そして、そのような場合には、感光体ドラムの表面に異物が再付着してしまったり、露光装置の光学素子などに異物が付着してしまったりして、異常画像が生じてしまっていた。
【0005】
この発明は、上述のような課題を解決するためになされたもので、現像装置にクリーニング装置としての機能を担わせたときに、紙粉などの異物が、経時で現像装置の外部に漏出してしまう不具合が生じにくい、画像形成装置、及び、プロセスカートリッジを提供することにある。
【課題を解決するための手段】
【0006】
この発明における画像形成装置は、感光体と、前記感光体の表面を帯電する帯電装置と、前記感光体の表面に接触した状態で所定の回転方向に回転する現像ローラと、前記現像ローラの表面に接触した状態で前記回転方向に回転する供給ローラと、を具備した現像装置と、を備え、前記現像ローラは、前記感光体の表面に形成された潜像を現像してトナー像を形成するとともに、前記感光体の表面に付着したトナーを回収し、前記供給ローラは、前記現像装置の内部に収容されたトナーを前記現像ローラの表面に供給するとともに、前記感光体の表面から前記現像ローラの表面に移行して付着した異物を回収するものである。
【発明の効果】
【0007】
本発明によれば、現像装置にクリーニング装置としての機能を担わせたときに、紙粉などの異物が、経時で現像装置の外部に漏出してしまう不具合が生じにくい、画像形成装置、及び、プロセスカートリッジを提供することができる。
【図面の簡単な説明】
【0008】
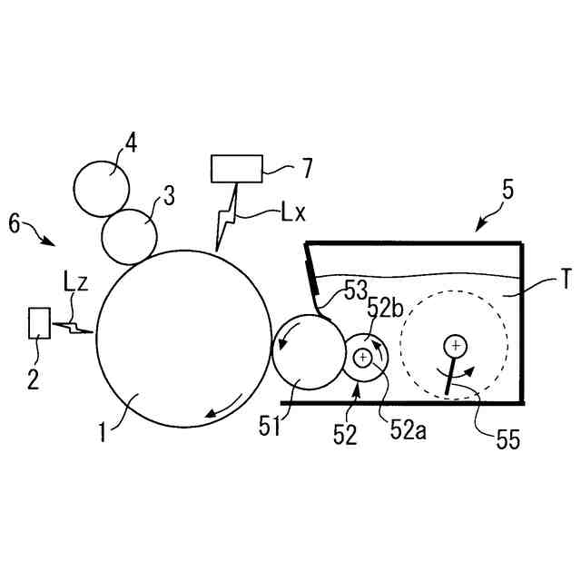
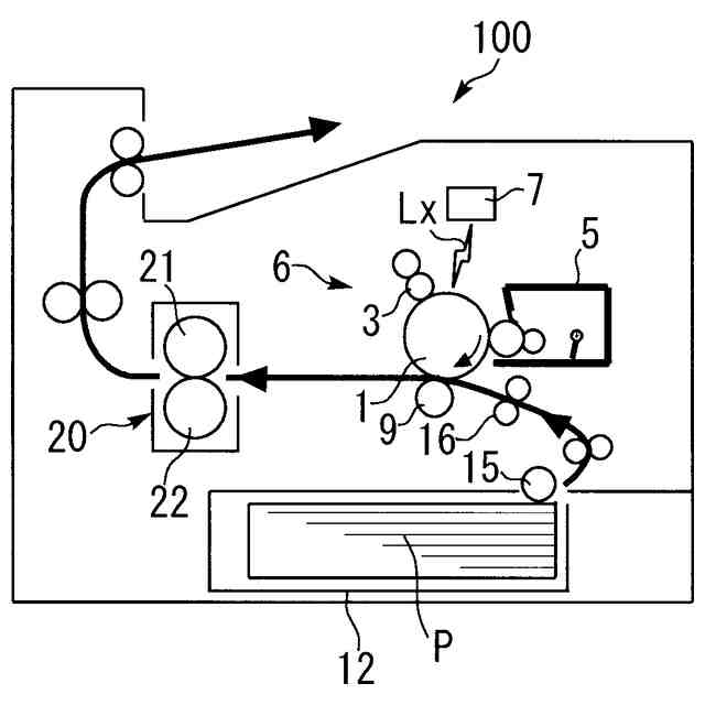
この発明の実施の形態における画像形成装置を示す全体構成図である。
プロセスカートリッジを示す構成図である。
供給ローラの一部を模式的に拡大して示す断面図である。
感光体ドラムから現像装置の内部に紙粉が移行する状態を示す図である。
比較例として、感光体ドラムから現像装置の内部に紙粉が移行する状態を示す図である。
変形例としての、現像装置を示す図である。
【発明を実施するための形態】
【0009】
以下、この発明を実施するための形態について、図面を参照して詳細に説明する。なお、各図中、同一又は相当する部分には同一の符号を付しており、その重複説明は適宜に簡略化ないし省略する。
【0010】
まず、図1及び図2にて、画像形成装置100における全体の構成・動作について説明する。
図1において、100は画像形成装置としてのプリンタ、1は表面にトナー像が形成される感光体としての感光体ドラム、6は感光体ドラム1と帯電ローラ3と現像装置5とが一体化されたプロセスカートリッジ、7はパソコンなどの入力装置から入力された画像情報に基づいた露光光Lxを感光体ドラム1上に照射する露光装置(書込み装置)、を示す。
また、9は感光体ドラム1の表面に担持されたトナー像を転写ニップ部(転写位置)に搬送されるシートPに転写する転写ローラ、12は用紙等のシートPが収納された給紙装置(給紙カセット)、を示す。
また、16は感光体ドラム1と転写ローラ9とが当接する転写ニップ部に向けてシートPを搬送するレジストローラ(タイミングローラ)、20はシートP上の未定着画像を定着する定着装置、を示す。
(【0011】以降は省略されています)
この特許をJ-PlatPat(特許庁公式サイト)で参照する
関連特許
株式会社リコー
画像形成装置
20日前
株式会社リコー
画像形成装置
2日前
株式会社リコー
画像形成装置
11日前
株式会社リコー
画像形成装置
17日前
株式会社リコー
画像形成装置
17日前
株式会社リコー
服薬支援装置
2日前
株式会社リコー
画像形成装置及びシステム
23日前
株式会社リコー
画像形成装置、及び、機器
10日前
株式会社リコー
光走査装置及び画像形成装置
9日前
株式会社リコー
延長トレイ及び画像形成装置
20日前
株式会社リコー
画像読取装置及び画像読取方法
19日前
株式会社リコー
シート供給装置、画像形成装置
9日前
株式会社リコー
画像形成装置及び異常判定方法
2日前
株式会社リコー
画像形成装置および画像形成方法
2日前
株式会社リコー
加熱装置、定着装置、画像形成装置
12日前
株式会社リコー
樹脂粒子、及び樹脂粒子の製造方法
17日前
株式会社リコー
加熱搬送装置、及び、画像形成装置
10日前
株式会社リコー
媒体処理装置及び画像形成システム
20日前
株式会社リコー
読取装置、読取方法およびプログラム
20日前
株式会社リコー
通信端末、通信方法、及びプログラム
23日前
株式会社リコー
通信装置、通信方法、及びプログラム
23日前
株式会社リコー
樹脂粒子、トナー、及び、画像形成装置
9日前
株式会社リコー
画像形成装置、画像処理方法およびプログラム
18日前
株式会社リコー
画像読取装置、画像判定方法およびプログラム
23日前
株式会社リコー
情報処理装置、情報処理方法およびプログラム
9日前
株式会社リコー
画像処理装置、画像処理方法およびプログラム
4日前
株式会社リコー
画像形成装置、画像形成方法およびプログラム
2日前
株式会社リコー
表示装置、表示方法、プログラム、表示システム
12日前
株式会社リコー
モノクロ用光走査装置及びモノクロ画像形成装置
23日前
株式会社リコー
表示装置、表示方法、プログラム、表示システム
4日前
株式会社リコー
画像読取装置、用紙斜行防止装置及び画像形成装置
18日前
株式会社リコー
シート収容装置、シート給送装置及び画像形成装置
2日前
株式会社リコー
シート処理装置、シート処理方法及び画像形成システム
9日前
株式会社リコー
情報処理装置、設定システム、プログラム、情報処理方法
17日前
株式会社リコー
情報処理装置、画像形成装置、情報処理方法及びプログラム
17日前
株式会社リコー
情報処理装置、表示装置、情報処理方法、およびプログラム
11日前
続きを見る
他の特許を見る