TOP
|
特許
|
意匠
|
商標
特許ウォッチ
Twitter
他の特許を見る
10個以上の画像は省略されています。
公開番号
2025164331
公報種別
公開特許公報(A)
公開日
2025-10-30
出願番号
2024068205
出願日
2024-04-19
発明の名称
情報処理装置、設定システム、プログラム、情報処理方法
出願人
株式会社リコー
代理人
個人
,
個人
主分類
G06F
8/33 20180101AFI20251023BHJP(計算;計数)
要約
【課題】生成AIを利用してプログラムの設定を支援する。
【課題を解決するための手段】端末装置から、アプリの識別情報を含む設定画面の画面情報の取得要求を受信し、生成AIからのレスポンスメッセージに応じてアプリのフィールドと他のアプリのフィールドを紐付ける設定プログラムを含む画面情報を端末装置に送信し、端末装置から端末装置に表示された設定画面に入力された設定内容を含むチャットメッセージを受信すると、チャットメッセージと、識別情報で特定されるアプリ及び他のアプリに関する情報と、設定内容を定義した関数を呼び出すための情報と、を生成AIに送信し、生成AIから、設定内容を定義した関数の呼び出しを含むレスポンスメッセージを受け付け、さらに、該レスポンスメッセージを端末装置に送信し、設定内容を定義した関数に基づく処理を実行させる。
【選択図】図5B
特許請求の範囲
【請求項1】
端末装置及び生成AIシステムとネットワークを介して通信する情報処理装置であって、
前記端末装置から、アプリケーションの識別情報を含む、前記アプリケーションのフィールドを他のアプリケーションのフィールドと対応づけるための設定画面の画面情報の取得要求を受信して、前記生成AIシステムからのレスポンスメッセージに応じて前記アプリケーションのフィールドを他のアプリケーションのフィールドと対応づける設定を行う設定用プログラムを含む前記画面情報を、前記端末装置に送信する通信部と、
前記通信部が、前記端末装置から、前記端末装置に表示された前記設定画面に入力された、前記設定の設定内容を含むチャットメッセージを受信すると、前記チャットメッセージと、前記識別情報で特定される前記アプリケーションに関する情報と、前記設定内容を定義した関数を呼び出すための情報と、前記他のアプリケーションに関する情報とを前記生成AIシステムに送信し、前記生成AIシステムから、前記設定内容を定義した関数の呼び出しを含むレスポンスメッセージを受け付けるチャット制御部と、を有し、
前記通信部は、さらに、
前記チャット制御部が受け付けた、前記設定内容を定義した関数の呼び出しを含むレスポンスメッセージを前記端末装置に送信し、前記設定内容を定義した関数に基づく処理を実行させる、情報処理装置。
続きを表示(約 2,500 文字)
【請求項2】
前記端末装置は、前記アプリケーションを提供するアプリケーションサービスと通信を行う第一のWebブラウザと、前記第一のWebブラウザと通信を行う第二のWebブラウザとを有し、
前記通信部は、
前記第一のWebブラウザに対する操作に応じて前記第一のWebブラウザから前記第二のWebブラウザに送信された前記画面情報の取得要求を、前記第二のWebブラウザから受信し、前記画面情報を前記第二のWebブラウザに送信し、
前記チャット制御部は、
前記第二のWebブラウザが表示させた前記設定画面に入力された前記チャットメッセージを前記生成AIシステムの送信し、
前記通信部は、さらに、
前記チャット制御部が受け付けた前記生成AIシステムからの前記レスポンスメッセージを、前記第二のWebブラウザに対して送信する、請求項1記載の情報処理装置。
【請求項3】
前記アプリケーションに関する情報及び前記他のアプリケーションに関する情報は、
前記第一のWebブラウザによって前記アプリケーションサービスから取得される情報であって、
前記通信部は、
前記第二のWebブラウザを介して前記アプリケーションに関する情報及び前記他のアプリケーションに関する情報を受信する、請求項2記載の情報処理装置。
【請求項4】
前記通信部は、
前記第二のWebブラウザから送信される前記チャットメッセージと共に、前記第二のWebブラウザから、前記アプリケーションに関する情報を受信する、請求項2記載の情報処理装置。
【請求項5】
前記設定用プログラムは、
前記レスポンスメッセージに、前記設定内容を定義した関数の関数呼び出し要求が含まれる場合に、
前記端末装置に、
前記関数呼び出し要求に応じた前記アプリケーションのフィールドを他のアプリケーションのフィールドと対応づける処理を実行させる、請求項1又は2記載の情報処理装置。
【請求項6】
前記チャット制御部は、前記生成AIシステムに対して、過去の会話履歴を示す情報を送信する、請求項1又は2記載の情報処理装置。
【請求項7】
前記画面情報は、
前記生成AIシステムからのレスポンスメッセージに応じてアプリケーションの編集を行うプログラムを含む請求項1記載の情報処理装置。
【請求項8】
前記設定画面は、
前記アプリケーションのフィールドの値に前記アプリケーションのフィールドと対応付けられた前記他のアプリケーションのフィールドの値を入力するルックアップ機能を、前記アプリケーションに追加するための設定画面である、請求項1記載の情報処理装置。
【請求項9】
端末装置、及び、生成AIシステムと情報処理装置がネットワークを介して通信する設定システムであって、
前記情報処理装置は、
前記端末装置から、アプリケーションの識別情報を含む、前記アプリケーションのフィールドを他のアプリケーションのフィールドと対応づけるための設定画面の画面情報の取得要求を受信して、前記生成AIシステムからのレスポンスメッセージに応じて前記アプリケーションのフィールドを他のアプリケーションのフィールドと対応づける設定を行う設定用プログラムを含む前記画面情報を、前記端末装置に送信する通信部と、
前記通信部が、前記端末装置から、前記端末装置に表示された前記設定画面に入力された、前記設定の設定内容を含むチャットメッセージを受信すると、前記チャットメッセージと、前記識別情報で特定される前記アプリケーションに関する情報と、前記設定内容を定義した関数を呼び出すための情報と、前記他のアプリケーションに関する情報とを前記生成AIシステムに送信し、前記生成AIシステムから、前記設定内容を定義した関数の呼び出しを含むレスポンスメッセージを受け付けるチャット制御部と、を有し、
前記通信部は、さらに、
前記チャット制御部が受け付けた、前記設定内容を定義した関数の呼び出しを含むレスポンスメッセージを前記端末装置に送信し、
前記端末装置は、
Webブラウザを有し、
前記Webブラウザは、前記レスポンスメッセージに、前記設定内容を定義した関数の関数呼び出し要求が含まれる場合に、前記設定用プログラムを前記端末装置に実行させる、設定システム。
【請求項10】
端末装置及び生成AIシステムとネットワークを介して通信する情報処理装置に、
前記端末装置から、アプリケーションの識別情報を含む、前記アプリケーションのフィールドを他のアプリケーションのフィールドと対応づけるための設定画面の画面情報の取得要求を受信して、前記生成AIシステムからのレスポンスメッセージに応じて前記アプリケーションのフィールドを他のアプリケーションのフィールドと対応づける設定を行う設定用プログラムを含む前記画面情報を、前記端末装置に送信する処理と、
前記端末装置から、前記端末装置に表示された前記設定画面に入力された、前記設定の設定内容を含むチャットメッセージを受信すると、前記チャットメッセージと、前記識別情報で特定される前記アプリケーションに関する情報と、前記設定内容を定義した関数を呼び出すための情報と、前記他のアプリケーションに関する情報とを前記生成AIシステムに送信し、前記生成AIシステムから、前記設定内容を定義した関数の呼び出しを含むレスポンスメッセージを受け付ける処理と、
前記生成AIシステムから受け付けた、前記設定内容を定義した関数の呼び出しを含むレスポンスメッセージを前記端末装置に送信し、前記設定内容を定義した関数に基づく処理を実行させる処理と、を実行させる、プログラム。
(【請求項11】以降は省略されています)
発明の詳細な説明
【技術分野】
【0001】
本発明は、情報処理装置、設定システム、情報処理方法、プログラムに関する。
続きを表示(約 2,300 文字)
【背景技術】
【0002】
近年では、プログラムコードの入力を少なくしたり全くなくしたりするプログラミング支援技術が知られている。その一例として、人工知能(AI)を利用して、プログラムコードを自動生成する技術が知られている。
【発明の概要】
【発明が解決しようとする課題】
【0003】
プログラムは、新規に作成された後も、機能を追加するための各種の設定が行われるものである。このため、AIシステムを利用して自動生成したプログラムに対する設定でも、プログラムコードの入力を少なくしたり、全くなくしたりする支援が行われることが望ましい。
【0004】
開示の技術は、上記事情に鑑みて成されたものであり、外部のAIシステム(生成AIシステム等)を利用してプログラムの設定を支援することを目的としている。
【課題を解決するための手段】
【0005】
開示の技術は、端末装置及び生成AIシステムとネットワークを介して通信する情報処理装置であって、前記端末装置から、アプリケーションの識別情報を含む、前記アプリケーションのフィールドを他のアプリケーションのフィールドと対応づけるための設定画面の画面情報の取得要求を受信して、前記生成AIシステムからのレスポンスメッセージに応じて前記アプリケーションのフィールドを他のアプリケーションのフィールドと対応づける設定を行う設定用プログラムを含む前記画面情報を、前記端末装置に送信する通信部と、前記通信部が、前記端末装置から、前記端末装置に表示された前記設定画面に入力された、前記設定の設定内容を含むチャットメッセージを受信すると、前記チャットメッセージと、前記識別情報で特定される前記アプリケーションに関する情報と、前記設定内容を定義した関数を呼び出すための情報と、前記他のアプリケーションに関する情報とを前記生成AIシステムに送信し、前記生成AIシステムから、前記設定内容を定義した関数の呼び出しを含むレスポンスメッセージを受け付けるチャット制御部と、を有し、前記通信部は、さらに、前記チャット制御部が受け付けた、前記設定内容を定義した関数の呼び出しを含むレスポンスメッセージを前記端末装置に送信し、前記設定内容を定義した関数に基づく処理を実行させる、情報処理装置である。
【発明の効果】
【0006】
外部のAIシステム(生成AIシステム等)を利用してプログラムの設定を支援することができる。
【図面の簡単な説明】
【0007】
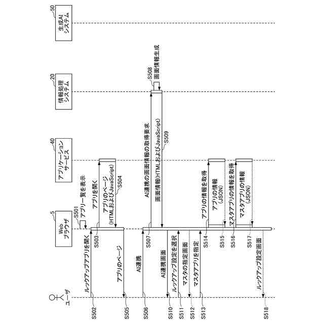
第一の実施形態の設定システムのシステム構成の一例を説明する図である。
設定システムの動作の概要を説明する図である。
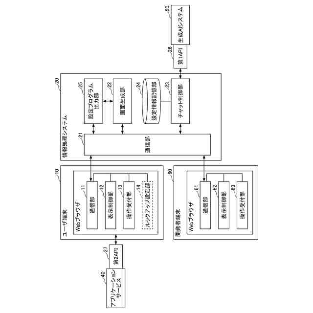
情報処理システム、ユーザ端末、及び、開発者端末の一例のハードウェア構成を示す図である。
第一の実施形態の設定システムの有する各装置の機能を説明する図である。
第一の実施形態の設定システムの動作を説明する第一のシーケンス図である。
第一の実施形態の設定システムの動作を説明する第二のシーケンス図である。
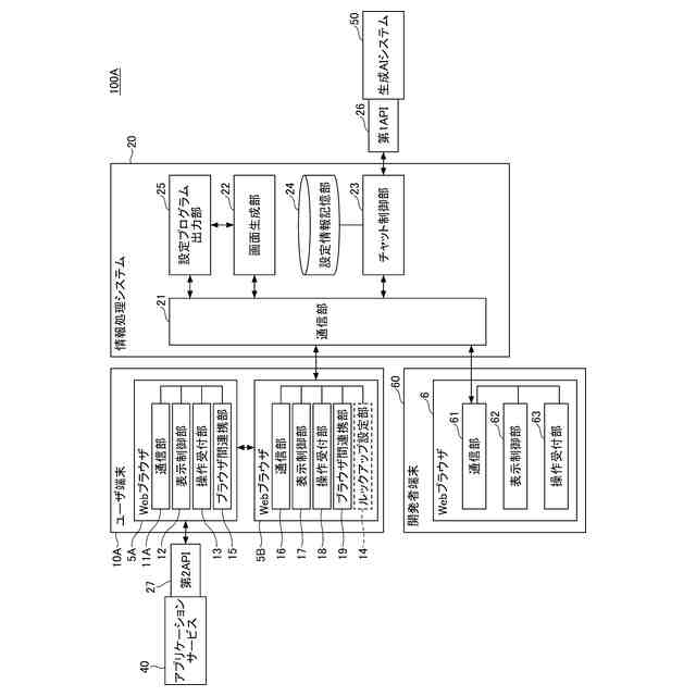
第二の実施形態の設定システムの有する各装置の機能を説明する図である。
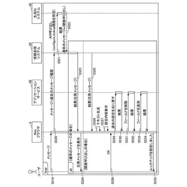
第二の実施形態の設定システムの動作を説明する第一のシーケンス図である。
第二の実施形態の設定システムの動作を説明する第二のシーケンス図である。
ユーザ端末の表示例を示す第一の図である。
ユーザ端末の表示例を示す第二の図である。
ユーザ端末の表示例を示す第三の図である。
ユーザ端末の表示例を示す第四の図である。
ユーザ端末の表示例を示す第五の図である。
ユーザ端末の表示例を示す第六の図である。
ユーザ端末の表示例を示す第七の図である。
チャットメッセージが入力された場合のリクエストメッセージの一例を示す図である。
情報処理システムから受信したレスポンスメッセージの一例を示す図である。。
設定対象フィールドの削除を要求するリクエストメッセージの一例を示す図である。
マスタフィールドと対応付けられた設定対象フィールドの追加を要求するリクエストメッセージの一例を示す図である。
【発明を実施するための形態】
【0008】
(第一の実施形態)
以下に図面を参照して、本実施形態について説明する。図1は、第一の実施形態の設定システムのシステム構成の一例を説明する図である。
【0009】
本実施形態の設定システム100は、情報処理システム20と、ユーザ端末10と、開発者端末60と、を有する。
【0010】
設定システム100において、情報処理システム20とユーザ端末10、及び、情報処理システム20と開発者端末60は、ネットワークN1、N2を介して通信可能に接続されている。また、情報処理システム20は、ネットワークN1を介して生成AIシステム50と通信できる。さらに、ユーザ端末10及び開発者端末60は、ネットワークN1、N2を介して生成AI(Artificial Intelligence)システム50及び外部システムであるアプリケーションサービス40と通信できる。なお、情報処理システム20は、ネットワークN1を介したアプリケーションサービス40と通信してもよい。
(【0011】以降は省略されています)
この特許をJ-PlatPat(特許庁公式サイト)で参照する
関連特許
株式会社リコー
移動体
24日前
株式会社リコー
画像形成装置
2日前
株式会社リコー
画像形成装置
2日前
株式会社リコー
画像形成装置
10日前
株式会社リコー
画像形成装置
5日前
株式会社リコー
機器及び異常判定方法
10日前
株式会社リコー
画像形成装置及びシステム
8日前
株式会社リコー
定着装置、及び画像形成装置
10日前
株式会社リコー
延長トレイ及び画像形成装置
5日前
株式会社リコー
画像読取装置及び画像読取方法
4日前
株式会社リコー
表示装置、切替方法、プログラム
15日前
株式会社リコー
樹脂粒子、及び樹脂粒子の製造方法
2日前
株式会社リコー
媒体処理装置及び画像形成システム
5日前
株式会社リコー
加熱装置、定着装置及び画像形成装置
9日前
株式会社リコー
通信端末、通信方法、及びプログラム
8日前
株式会社リコー
通信装置、通信方法、及びプログラム
8日前
株式会社リコー
シート給送装置及び画像形成システム
11日前
株式会社リコー
読取装置、読取方法およびプログラム
5日前
株式会社リコー
光源装置、画像投影装置および調整方法
15日前
株式会社リコー
ノード、データ共有方法、及びプログラム
22日前
株式会社リコー
通信装置、状態制御方法、及びプログラム
11日前
株式会社リコー
画像形成装置、及び、プロセスカートリッジ
15日前
株式会社リコー
画像形成装置、情報処理方法及びプログラム
8日前
株式会社リコー
画像読取装置、画像判定方法およびプログラム
8日前
株式会社リコー
画像形成装置、画像処理方法およびプログラム
3日前
株式会社リコー
画像形成装置、情報処理方法およびプログラム
9日前
株式会社リコー
モノクロ用光走査装置及びモノクロ画像形成装置
8日前
株式会社リコー
表示装置、表示方法、プログラム、表示システム
23日前
株式会社リコー
画像読取装置、用紙斜行防止装置及び画像形成装置
3日前
株式会社リコー
対話装置、対話システム、対話方法及びプログラム
22日前
株式会社リコー
電気機器、画像形成装置、制御方法、及びプログラム
18日前
株式会社リコー
情報処理装置、情報処理システムおよび情報処理方法
22日前
株式会社リコー
情報処理システム、情報処理装置および情報処理方法
22日前
株式会社リコー
情報処理装置、設定システム、プログラム、情報処理方法
2日前
株式会社リコー
情報処理装置、画像形成装置、情報処理方法及びプログラム
2日前
株式会社リコー
情報処理装置、情報処理システム、情報処理方法及びプログラム
24日前
続きを見る
他の特許を見る