TOP
|
特許
|
意匠
|
商標
特許ウォッチ
Twitter
他の特許を見る
10個以上の画像は省略されています。
公開番号
2025166791
公報種別
公開特許公報(A)
公開日
2025-11-06
出願番号
2025052762
出願日
2025-03-27
発明の名称
加熱搬送装置、及び、画像形成装置
出願人
株式会社リコー
代理人
個人
主分類
G03G
15/20 20060101AFI20251029BHJP(写真;映画;光波以外の波を使用する類似技術;電子写真;ホログラフイ)
要約
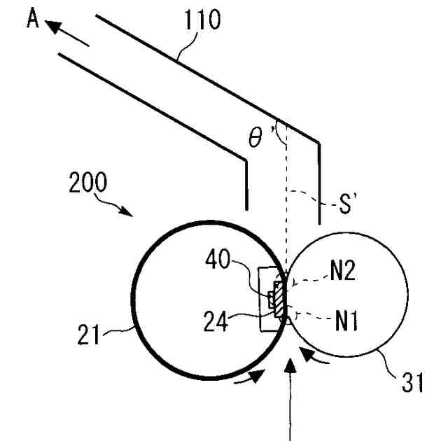
【課題】排出口から排出されるシートに、大きなカールを生じにくくする。
【解決手段】面状ヒータ24(加熱手段)によって加熱される定着ベルト21(定着回転体)と、定着ベルト21に圧接することでシートPが搬送されるニップ部を形成する加圧ローラ31(加圧回転体)と、を具備した定着装置20が設けられている。また、定着装置20のニップ部から送出されたシートPを排出口Aに向けて案内する搬送ガイド板110(搬送ガイド部材)が設けられている。そして、幅方向に直交する断面でみたときに、定着装置20におけるニップ部の出口N2を通る仮想鉛直線Hに対して、ニップ部の出口N2から送出されるシートPの向きが、排出口Aが位置する側とは反対側になるように構成されている。
【選択図】図7
特許請求の範囲
【請求項1】
加熱手段によって加熱される定着回転体と、前記定着回転体に圧接することでシートが搬送されるニップ部を形成する加圧回転体と、を具備した定着装置と、
前記定着装置の前記ニップ部から送出されたシートを排出口に向けて案内する搬送ガイド部材と、
を備え、
幅方向に直交する断面でみたときに、前記定着装置における前記ニップ部の出口を通る仮想鉛直線に対して、前記ニップ部の出口から送出される前記シートの向きが、前記排出口が位置する側とは反対側になることを特徴とする加熱搬送装置。
続きを表示(約 1,200 文字)
【請求項2】
前記搬送ガイド部材は、前記ニップ部の出口から送出された前記シートに対して、送出方向を前記排出口が位置する方向に矯正する矯正部材であることを特徴とする請求項1に記載の加熱搬送装置。
【請求項3】
前記矯正部材は、前記搬送ガイド部材の一部であることを特徴とする請求項2に記載の加熱搬送装置。
【請求項4】
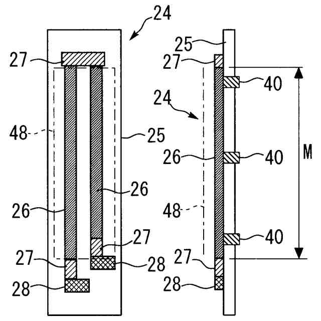
前記定着装置は、幅方向に延在する前記加熱手段としての面状ヒータと、前記面状ヒータによって加熱される前記定着回転体としての定着ベルトと、前記定着ベルトを介して前記面状ヒータに圧接することで前記ニップ部を形成する前記加圧回転体と、前記面状ヒータに直接的又は間接的に接触するサーモスタットと、を具備し、
前記サーモスタットは、前記面状ヒータを介して前記加圧回転体に対向するように配置されたことを特徴とする請求項1に記載の加熱搬送装置。
【請求項5】
前記定着装置は、前記面状ヒータを保持するホルダを具備し、
前記ホルダは、前記出口の側が前記加圧回転体の側に突出するように形成されたことを特徴とする請求項4に記載の加熱搬送装置。
【請求項6】
前記定着装置は、前記定着回転体の外径に比べて前記加圧回転体の外径が小さくなるように構成されたことを特徴とする請求項1又は請求項2に記載の加熱搬送装置。
【請求項7】
前記排出口は、第1の排出口と第2の排出口とを具備し、
前記搬送ガイド部材は、前記第1の排出口に向けてシートを案内する第1搬送ガイド部材と、前記第2の排出口に向けてシートを案内する第2搬送ガイド部材と、を具備し、
前記ニップ部から送出されたシートが前記第1搬送ガイド部材に衝突する角度と、前記ニップ部から送出されたシートが前記第2搬送ガイド部材に衝突する角度と、が異なることを特徴とする請求項1又は請求項2に記載の加熱搬送装置。
【請求項8】
前記ニップ部から送出されたシートを、前記第1搬送ガイド部材と前記第2搬送ガイド部材とのいずれかに向けて搬送するように切り替える切替部を備えたことを特徴とする請求項7に記載の加熱搬送装置。
【請求項9】
前記搬送ガイド部材は、
前記排出口の側に傾斜する角度を調整可能に構成されて、
坪量が所定の値以上のシートが搬送されるときに、坪量が前記所定の値未満のシートが搬送されるときに比べて、前記角度が大きくなるように調整されることを特徴とする請求項1又は請求項2に記載の加熱搬送装置。
【請求項10】
前記定着装置は、前記面状ヒータに接触して前記面状ヒータに生じる熱を均一化するための均熱部材を具備したことを特徴とする請求項1又は請求項2に記載の加熱搬送装置。
(【請求項11】以降は省略されています)
発明の詳細な説明
【技術分野】
【0001】
この発明は、シートを加熱して搬送する加熱搬送装置と、それを備えた複写機、プリンタ、ファクシミリ、又は、それらの複合機等の画像形成装置と、に関するものである。
続きを表示(約 1,900 文字)
【背景技術】
【0002】
従来から、複写機、プリンタ等の画像形成装置において、定着装置から送出されたシートを搬送ガイド部材(搬送ガイド板)によって所定方向に湾曲させながら排出口に向けて案内して、排出口から装置外に排出するものが知られている(例えば、特許文献1参照。)。
【発明の概要】
【発明が解決しようとする課題】
【0003】
従来の装置は、排出口から排出されたシートが、大きくカール(湾曲)してしまっていた。そのため、排出されたシートの見映えやスタック性が悪かった。
【0004】
この発明は、上述のような課題を解決するためになされたもので、排出口から排出されるシートに、大きなカールが生じにくい、加熱搬送装置、及び、画像形成装置を提供することにある。
【課題を解決するための手段】
【0005】
この発明における加熱搬送装置は、加熱手段によって加熱される定着回転体と、前記定着回転体に圧接することでシートが搬送されるニップ部を形成する加圧回転体と、を具備した定着装置と、前記定着装置の前記ニップ部から送出されたシートを排出口に向けて案内する搬送ガイド部材と、を備え、幅方向に直交する断面でみたときに、前記定着装置における前記ニップ部の出口を通る仮想鉛直線に対して、前記ニップ部の出口から送出される前記シートの向きが、前記排出口が位置する側とは反対側になるものである。
【発明の効果】
【0006】
本発明によれば、排出口から排出されるシートに、大きなカールが生じにくい、加熱搬送装置、及び、画像形成装置を提供することができる。
【図面の簡単な説明】
【0007】
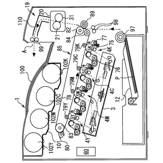
この発明の実施の形態における画像形成装置を示す全体構成図である。
定着装置を示す構成図である。
定着装置を幅方向にみた上面図である。
定着ベルトとガイド部材とを幅方向に示す概略側面図である。
面状ヒータを幅方向に示す図である。
サーモスタットを示す断面図である。
加熱搬送装置を示す拡大図である。
比較例としての、加熱搬送装置を示す拡大図である。
印刷開始時の定着装置の制御を示すタイミングチャートである。
画像形成装置でおこなわれる制御の一例を示すフローチャートである。
変形例1としての、定着装置を示す拡大図である。
変形例2としての、加熱搬送装置を示す拡大図である。
変形例3としての、加熱搬送装置を示す拡大図である。
変形例4としての、定着装置を示す構成図である。
変形例5としての、定着装置を示す構成図である。
【発明を実施するための形態】
【0008】
以下、この発明を実施するための形態について、図面を参照して詳細に説明する。なお、各図中、同一又は相当する部分には同一の符号を付しており、その重複説明は適宜に簡略化ないし省略する。
【0009】
まず、図1にて、画像形成装置1における全体の構成・動作について説明する。
図1に示すように、本実施の形態における画像形成装置1は、タンデム型カラープリンタである。画像形成装置本体1の上方にあるボトル収容部101には、各色(イエロー、マゼンタ、シアン、ブラック)に対応した4つのトナーボトル102Y、102M、102C、102Kが着脱可能(交換可能)に設置されている。
ボトル収容部101の下方には中間転写ユニット85が配設されている。その中間転写ユニット85の中間転写ベルト78に対向するように、各色(イエロー、マゼンタ、シアン、ブラック)に対応した作像部4Y、4M、4C、4Kが並設されている。
【0010】
各作像部4Y、4M、4C、4Kには、それぞれ、感光体ドラム5Y、5M、5C、5Kが配設されている。また、各感光体ドラム5Y、5M、5C、5Kの周囲には、それぞれ、帯電部75、現像部76、クリーニング部77、除電部、等が配設されている。画像形成装置1は、制御部60を備えている。制御部60は、様々な部品を制御して、感光体ドラム5Y、5M、5C、5Kの表面で、作像プロセス(帯電工程、露光工程、現像工程、転写工程、クリーニング工程)を実行して、がおこなわれて、各感光体ドラム5Y、5M、5C、5Kの表面に各色の画像を形成する。
(【0011】以降は省略されています)
この特許をJ-PlatPat(特許庁公式サイト)で参照する
関連特許
株式会社リコー
液体吐出装置
1日前
株式会社リコー
外観検査装置
9日前
株式会社リコー
画像形成装置
15日前
株式会社リコー
服薬支援装置
15日前
株式会社リコー
定着装置及び画像形成装置
1日前
株式会社リコー
光走査装置及び画像形成装置
22日前
株式会社リコー
シート供給装置、画像形成装置
22日前
株式会社リコー
画像形成装置及び異常判定方法
15日前
株式会社リコー
画像形成装置および画像形成方法
15日前
株式会社リコー
画像形成装置、及び画像形成方法
9日前
株式会社リコー
加熱搬送装置、及び、画像形成装置
23日前
株式会社リコー
後処理装置、及び、画像形成システム
2日前
株式会社リコー
加熱装置、定着装置及び画像形成装置
9日前
株式会社リコー
樹脂粒子、トナー、及び、画像形成装置
22日前
株式会社リコー
外観検査方法、および外観検査システム
1日前
株式会社リコー
画像形成装置、画像形成方法及びプログラム
3日前
株式会社リコー
画像形成装置、画像形成方法及びプログラム
3日前
株式会社リコー
情報処理装置、情報処理方法およびプログラム
22日前
株式会社リコー
画像形成装置、画像形成方法およびプログラム
15日前
株式会社リコー
情報処理装置、情報処理方法およびプログラム
10日前
株式会社リコー
画像処理装置、画像処理方法およびプログラム
17日前
株式会社リコー
表示装置、表示方法、プログラム、表示システム
9日前
株式会社リコー
表示装置、表示方法、プログラム、表示システム
17日前
株式会社リコー
シート収容装置、シート給送装置及び画像形成装置
15日前
株式会社リコー
画像読取装置、画像形成装置、および画像読取方法
1日前
株式会社リコー
先塗液の塗布状態の異常検出方法および液体吐出装置
1日前
株式会社リコー
シート処理装置、シート処理方法及び画像形成システム
22日前
株式会社リコー
粒子、試薬、医薬組成物、粉末吸入剤及び粒子の製造方法
2日前
株式会社リコー
情報処理システム、情報処理装置、方法およびプログラム
9日前
株式会社リコー
機器システム、制御方法、情報処理装置、プログラム、機器
9日前
株式会社リコー
筆記装置、表示装置、および、コミュニケーションシステム
9日前
株式会社リコー
導電膜製造方法、焼結装置、電磁波シールド層及び電極パターン
9日前
株式会社リコー
瞳孔又は角膜の位置検知装置、及びヘッドマウントディスプレイ
22日前
株式会社リコー
瞳孔又は角膜の位置検知装置、及びヘッドマウントディスプレイ
22日前
株式会社リコー
点群処理装置、点群処理方法、プログラムおよび点群処理システム
22日前
株式会社リコー
情報処理装置、画面作成方法、プログラム、及び情報処理システム
22日前
続きを見る
他の特許を見る