TOP
|
特許
|
意匠
|
商標
特許ウォッチ
Twitter
他の特許を見る
10個以上の画像は省略されています。
公開番号
2025167273
公報種別
公開特許公報(A)
公開日
2025-11-07
出願番号
2024071742
出願日
2024-04-25
発明の名称
情報処理装置、情報処理方法およびプログラム
出願人
株式会社リコー
代理人
個人
,
個人
主分類
G06F
8/65 20180101AFI20251030BHJP(計算;計数)
要約
【課題】更新予定のソフトウェアを、ユーザが所望する機能が含まれているか否かに応じたタイミングで更新することができる情報処理装置の提供を目的とする。
【解決手段】本発明の一態様に係る情報処理装置は、新しいバージョンのソフトウェアの提供が開始される予定時期を示す情報を含む提供予定情報を取得する取得部と、自装置が実行する前記ソフトウェアに含まれる複数の機能のうち、ユーザが使用することを所望する度合いが高い前記機能に関する情報を含む所望情報を生成し、前記提供予定情報と、前記所望情報と、に基づいて、前記ソフトウェアの更新間隔を制御する更新制御部と、を備える。
【選択図】図4
特許請求の範囲
【請求項1】
新しいバージョンのソフトウェアの提供が開始される予定時期を示す情報を含む提供予定情報を取得する取得部と、
自装置が実行する前記ソフトウェアに含まれる複数の機能のうち、ユーザが使用することを所望する度合いが高い前記機能に関する情報を含む所望情報を生成し、前記提供予定情報と、前記所望情報と、に基づいて、前記ソフトウェアの更新間隔を制御する更新制御部と、
を備えた情報処理装置。
続きを表示(約 1,200 文字)
【請求項2】
前記更新制御部は、前記ソフトウェアに含まれる前記複数の機能のうち、所定期間内に実行されたジョブ数が閾値以上である前記機能を前記所望情報に含める、
請求項1に記載の情報処理装置。
【請求項3】
前記更新制御部は、前記提供予定情報における新しいバージョンの前記ソフトウェアに含まれる前記機能と、前記所望情報に含まれる前記機能と、が一致する場合、前記提供予定情報に含まれる前記ソフトウェアの前記更新間隔を短くするよう制御する、
請求項1に記載の情報処理装置。
【請求項4】
前記更新制御部は、前記提供予定情報における新しいバージョンの前記ソフトウェアに含まれる前記機能と、前記所望情報に含まれる前記機能と、が一致しない場合、前記提供予定情報に含まれる前記ソフトウェアの前記更新間隔を長くするよう制御する、
請求項1に記載の情報処理装置。
【請求項5】
前記更新制御部は、前記ユーザが使用することを所望する前記機能に関する入力を受け付け、前記入力の結果に応じて前記所望情報を生成する、
請求項1に記載の情報処理装置。
【請求項6】
前記所望情報に含まれる前記機能の単位は、アプリケーションごとの単位である、
請求項1に記載の情報処理装置。
【請求項7】
前記所望情報に含まれる前記機能の単位は、前記アプリケーションに含まれる前記機能をさらに細分化した詳細機能ごとの単位である、
請求項6に記載の情報処理装置。
【請求項8】
前記情報処理装置は、画像形成装置である、
請求項1に記載の情報処理装置。
【請求項9】
情報処理装置が行う情報処理方法であって、
新しいバージョンのソフトウェアの提供が開始される予定時期を示す情報を含む提供予定情報を取得するステップと、
自装置が実行する前記ソフトウェアに含まれる複数の機能のうち、ユーザが使用することを所望する度合いが高い前記機能に関する情報を含む所望情報を生成し、前記提供予定情報と、前記所望情報と、に基づいて、前記ソフトウェアの更新間隔を制御するステップと、
を含む情報処理方法。
【請求項10】
情報処理装置を機能させるプログラムであって、
新しいバージョンのソフトウェアの提供が開始される予定時期を示す情報を含む提供予定情報を取得する処理と、
自装置が実行する前記ソフトウェアに含まれる複数の機能のうち、ユーザが使用することを所望する度合いが高い前記機能に関する情報を含む所望情報を生成し、前記提供予定情報と、前記所望情報と、に基づいて、前記ソフトウェアの更新間隔を制御する処理と、
を実行させるためのプログラム。
発明の詳細な説明
【技術分野】
【0001】
本発明は、情報処理装置、情報処理方法およびプログラムに関する。
続きを表示(約 1,900 文字)
【背景技術】
【0002】
情報処理装置とネットワークを介して接続されているサーバからソフトウェアを所定の周期で取得して更新する方法が知られている。特許文献1には、更新予定のソフトウェアの品質に基づいて、ソフトウェアをサーバから取得する間隔を変更する情報処理装置に関する技術が開示されている。
【発明の概要】
【発明が解決しようとする課題】
【0003】
更新予定のソフトウェアをサーバから取得する間隔を変更することによって、サーバの負荷が分散される。しかしながら、ソフトウェアの品質に応じた更新間隔を設定すると、更新予定のソフトウェアを、ユーザが所望する機能が含まれているか否かに応じたタイミングで更新できない虞がある。
【0004】
本発明は、上記の課題を解決するため、更新予定のソフトウェアを、ユーザの所望度合いに応じたタイミングで更新することができる情報処理装置の提供を目的とする。
【課題を解決するための手段】
【0005】
本発明の一態様に係る情報処理装置は、自装置と通信可能なサーバから提供される新しいバージョンのソフトウェアを取得することが可能な情報処理装置であって、新しいバージョンの前記ソフトウェアの提供が開始される予定時期を示す情報を含む提供予定情報を取得する取得部と、自装置が実行する前記ソフトウェアに含まれる複数の機能のうち、ユーザが使用することを所望する度合いが高い前記機能に関する情報を含む所望情報を生成し、前記提供予定情報と、前記所望情報と、に基づいて、前記ソフトウェアの更新間隔を制御する更新制御部を備える。
【発明の効果】
【0006】
本発明に係る情報処理装置によれば、更新予定のソフトウェアを、ユーザの所望度合いに応じたタイミングで更新することができる。
【図面の簡単な説明】
【0007】
本発明の一実施形態に係る情報処理装置を含むシステムの全体構成を示す概略図である。
本発明の一実施形態に係る情報処理装置を含む画像形成装置のハードウェア構成図である。
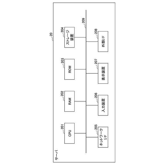
本発明の一実施形態に係るサーバのハードウェア構成図である。
本発明の一実施形態に係る情報処理装置を含むシステムの機能ブロック図である。
本発明の一実施形態に係る情報処理装置における、提供予定情報の問い合わせからソフトウェアの更新間隔の変更までの流れを示すフロー図である。
本発明の一実施形態に係る情報処理装置の提供予定情報の一例を示す図である。
本発明の一実施形態に係る情報処理装置におけるソフトウェア更新処理のフロー図である。
本発明の一実施形態に係る情報処理装置におけるソフトウェア更新間隔の変更処理のフロー図である。
本発明の一実施形態に係る情報処理装置における機能使用情報の例を示す図である。
本発明の一実施形態に係る情報処理装置における、所望情報の更新処理のフロー図である。
本発明の一実施形態に係るサーバにおける、提供予定情報の公開処理のフロー図である。
本発明の一実施形態に係る情報処理装置におけるソフトウェア更新間隔の変更処理のシーケンス図である。
図12のシーケンス図における提供予定情報の例を示す図である。
【発明を実施するための形態】
【0008】
以下、図面を参照して発明を実施するための形態について説明する。各図面において、同一構成部分には同一符号を付し、重複した説明を省略する場合がある。
【0009】
[実施形態]
<システム構成>
図1は、本発明の一実施形態に係る情報処理装置10を含むシステム1の全体構成を示す概略図である。システム1は、例えば、インターネットやLAN(Local Area Network)等のネットワークNに接続された、サーバ20、1つ以上の情報処理装置10-1、10-2、・・・等を含む。情報処理装置10は、画像形成装置であってもよく、画像形成装置に含まれる装置であってもよい。
【0010】
なお、以下の説明の中で、1つ以上の情報処理装置10-1、10-2、・・・のうち、任意の情報処理装置を示す場合、「情報処理装置10」を用いる。また、情報処理装置10は、プログラムの更新対象となる電子機器の一例である。
(【0011】以降は省略されています)
この特許をJ-PlatPat(特許庁公式サイト)で参照する
関連特許
株式会社リコー
移動体
1か月前
株式会社リコー
外観検査装置
9日前
株式会社リコー
画像形成装置
1か月前
株式会社リコー
画像形成装置
1か月前
株式会社リコー
液体吐出装置
1日前
株式会社リコー
画像形成装置
1か月前
株式会社リコー
画像形成装置
1か月前
株式会社リコー
画像形成装置
24日前
株式会社リコー
画像形成装置
15日前
株式会社リコー
服薬支援装置
15日前
株式会社リコー
機器及び異常判定方法
1か月前
株式会社リコー
画像形成装置及びシステム
1か月前
株式会社リコー
画像形成装置、及び、機器
23日前
株式会社リコー
定着装置及び画像形成装置
1日前
株式会社リコー
光走査装置及び画像形成装置
22日前
株式会社リコー
延長トレイ及び画像形成装置
1か月前
株式会社リコー
定着装置、及び画像形成装置
1か月前
株式会社リコー
シート供給装置、画像形成装置
22日前
株式会社リコー
画像形成装置及び異常判定方法
15日前
株式会社リコー
画像読取装置及び画像読取方法
1か月前
株式会社リコー
画像形成装置および画像形成方法
15日前
株式会社リコー
表示装置、切替方法、プログラム
1か月前
株式会社リコー
画像形成装置、及び画像形成方法
9日前
株式会社リコー
加熱搬送装置、及び、画像形成装置
23日前
株式会社リコー
樹脂粒子、及び樹脂粒子の製造方法
1か月前
株式会社リコー
媒体処理装置及び画像形成システム
1か月前
株式会社リコー
加熱装置、定着装置、画像形成装置
25日前
株式会社リコー
加熱装置、定着装置及び画像形成装置
9日前
株式会社リコー
シート給送装置及び画像形成システム
1か月前
株式会社リコー
通信端末、通信方法、及びプログラム
1か月前
株式会社リコー
後処理装置、及び、画像形成システム
2日前
株式会社リコー
加熱装置、定着装置及び画像形成装置
1か月前
株式会社リコー
通信装置、通信方法、及びプログラム
1か月前
株式会社リコー
読取装置、読取方法およびプログラム
1か月前
株式会社リコー
樹脂粒子、トナー、及び、画像形成装置
22日前
株式会社リコー
光源装置、画像投影装置および調整方法
1か月前
続きを見る
他の特許を見る