TOP
|
特許
|
意匠
|
商標
特許ウォッチ
Twitter
他の特許を見る
10個以上の画像は省略されています。
公開番号
2025169820
公報種別
公開特許公報(A)
公開日
2025-11-14
出願番号
2024074978
出願日
2024-05-02
発明の名称
服薬支援装置
出願人
株式会社リコー
代理人
個人
主分類
A61J
7/00 20060101AFI20251107BHJP(医学または獣医学;衛生学)
要約
【課題】情報保持媒体からの服薬関連情報の読み取りに一度失敗しても、再度の読み取りに成功することで、当該服薬関連情報を用いるその後の処理を継続可能とする。
【解決手段】薬パック2を格納する格納部10と、薬パックを格納部から取り出し、薬パックが配置される薬配置部へ移送する移送部50と、薬パック、格納部及び薬配置部のうちの少なくとも1つに設けられる情報保持媒体6cから服薬関連情報を読み取る情報読取部66と、情報読取部による読み取り動作を制御する制御部と、を備える服薬支援装置であって、制御部は、情報読取部が情報保持媒体に対する服薬関連情報の読み取りに失敗したとき、情報保持媒体に対する情報読取部の相対位置を変更して、情報読取部により情報保持媒体に対する服薬関連情報の読み取りを再実施する。
【選択図】図10
特許請求の範囲
【請求項1】
薬パックを格納する格納部と、
前記薬パックを前記格納部から取り出し、該薬パックが配置される薬配置部へ移送する移送部と、
前記薬パック、前記格納部及び前記薬配置部のうちの少なくとも1つに設けられる情報保持媒体から服薬関連情報を読み取る情報読取部と、
前記情報読取部による読み取り動作を制御する制御部と、を備える服薬支援装置であって、
前記制御部は、前記情報読取部が前記情報保持媒体に対する前記服薬関連情報の読み取りに失敗したとき、該情報保持媒体に対する該情報読取部の相対位置を変更して、前記情報読取部により該情報保持媒体に対する該服薬関連情報の読み取りを再実施することを特徴とする服薬支援装置。
続きを表示(約 1,200 文字)
【請求項2】
請求項1に記載の服薬支援装置において、
前記情報保持媒体は、前記服薬関連情報を符号化したコード画像であることを特徴とする服薬支援装置。
【請求項3】
請求項2に記載の服薬支援装置において、
前記相対位置の変更は、前記コード画像の表示面に対して略平行な方向への変更を含むことを特徴とする服薬支援装置。
【請求項4】
請求項2に記載の服薬支援装置において、
前記相対位置の変更は、前記コード画像の表示面に対して略直交する方向への変更を含むことを特徴とする服薬支援装置。
【請求項5】
請求項2に記載の服薬支援装置において、
前記相対位置の変更は、前記コード画像の表示面の法線方向に対する傾斜角度の変更を含むことを特徴とする服薬支援装置。
【請求項6】
請求項2乃至5のいずれか1項に記載の服薬支援装置において、
前記情報読取部は、前記薬パック又は前記格納部と前記薬配置部とに設けられる各情報保持媒体から前記服薬関連情報をそれぞれ読み取り、
前記相対位置の変更内容は、前記薬パック又は前記格納部の情報保持媒体から前記服薬関連情報を読み取るときと、前記薬配置部の情報保持媒体から前記服薬関連情報を読み取るときとで、互いに異なることを特徴とする服薬支援装置。
【請求項7】
請求項1乃至5のいずれか1項に記載の服薬支援装置において、
前記制御部は、前記移送部により前記薬パックが前記格納部から取り出される際に、前記薬パック及び前記格納部のうちの少なくとも1つに設けられる前記情報保持媒体から前記服薬関連情報を前記情報読取部に読み取らせることを特徴とする服薬支援装置。
【請求項8】
請求項1乃至5のいずれか1項に記載の服薬支援装置において、
前記制御部は、前記移送部により移送される前記薬パックが前記薬配置部に配置される際に、前記薬パック及び前記薬配置部のうちの少なくとも1つに設けられる前記情報保持媒体から前記服薬関連情報を前記情報読取部に読み取らせることを特徴とする服薬支援装置。
【請求項9】
請求項1乃至5のいずれか1項に記載の服薬支援装置において、
前記制御部は、前記服薬関連情報の読み取りの再実施後、前記相対位置を前記変更がされる前の相対位置に戻すことを特徴とする服薬支援装置。
【請求項10】
請求項1乃至5のいずれか1項に記載の服薬支援装置において、
前記制御部は、前記服薬関連情報の読み取りの再実施後、前記情報読取部が前記服薬関連情報の読み取りに再び失敗したとき、前記情報保持媒体に対する前記情報読取部の相対位置を更に変更して、前記情報読取部により前記服薬関連情報の読み取りを再実施することを特徴とする服薬支援装置。
(【請求項11】以降は省略されています)
発明の詳細な説明
【技術分野】
【0001】
本発明は、服薬支援装置に関するものである。
続きを表示(約 2,600 文字)
【背景技術】
【0002】
従来、薬パックを格納する格納部と、前記薬パックを前記格納部から取り出し、該薬パックが配置される薬配置部へ移送する移送部と、前記薬パック、前記格納部及び前記薬配置部のうちの少なくとも1つに設けられる情報保持媒体から服薬関連情報を読み取る情報読取部と、前記情報読取部による読み取り動作を制御する制御部と、を備える服薬支援装置が知られている。
【0003】
特許文献1には、薬パックが段積みで格納されるカートリッジ(格納部)の下面の開口部から、最下位に格納されている薬パックを吸着パッドで吸着して取り出し、配薬トレイ上の小分けボックス(薬配置部)へ移送する服薬支援装置が開示されている。この装置では、薬パックの取り出し、移送、小分けボックスへの配置の際に、薬パック、カートリッジ、小分けボックスにそれぞれ設けられるQRコード(登録商標)(情報保持媒体)をコードリーダ(情報読取部)で読み取る。そして、これらのQRコードから読み取られる服薬者名及び服薬タイミングなどの服薬関連情報を記憶し、配薬時のデータ比較に使用することで、誤薬の防止を図る。
【発明の概要】
【発明が解決しようとする課題】
【0004】
従来の服薬支援装置では、薬パック等に設けられるQRコード等の情報保持媒体からの服薬関連情報の読み取りに一度失敗すると、読み取りに失敗した服薬関連情報を用いるその後の処理を実施できないという課題があった。
【課題を解決するための手段】
【0005】
上述した課題を解決するために、本発明は、薬パックを格納する格納部と、前記薬パックを前記格納部から取り出し、該薬パックが配置される薬配置部へ移送する移送部と、前記薬パック、前記格納部及び前記薬配置部のうちの少なくとも1つに設けられる情報保持媒体から服薬関連情報を読み取る情報読取部と、前記情報読取部による読み取り動作を制御する制御部と、を備える服薬支援装置であって、前記制御部は、前記情報読取部が前記情報保持媒体に対する前記服薬関連情報の読み取りに失敗したとき、該情報保持媒体に対する該情報読取部の相対位置を変更して、前記情報読取部により該情報保持媒体に対する該服薬関連情報の読み取りを再実施することを特徴とする。
【発明の効果】
【0006】
本発明によれば、薬パック等に設けられる情報保持媒体からの服薬関連情報の読み取りに一度失敗しても、再度の読み取りに成功することで、当該服薬関連情報を用いるその後の処理を継続することが可能となる。
【図面の簡単な説明】
【0007】
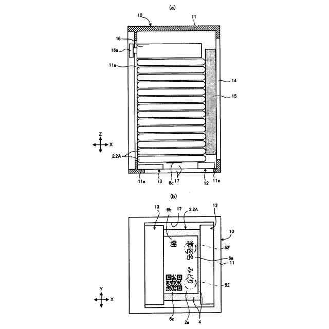
(a)は、実施形態に係る服薬支援装置を構成する配薬装置の要部の正面図。(b)は、同配薬装置の要部の側面図。
(a)は、1つの薬剤一包化パックの平面図。(b)は、同薬剤一包化パックを図2(a)中矢印Aの方向から見た側面図。(c)は、同薬剤一包化パックが連なった薬剤一包化パック連続体の側面図。(d)は、同薬剤一包化パック連続体の平面図。
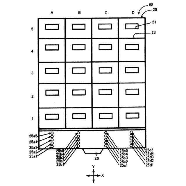
同配薬装置にセットされる配薬トレイの一構成例を示す外観斜視図。
(a)は、同配薬トレイに配置される小分けボックス内に設けられるQRコード付きラベルの取付例を示す説明図。(b)は、同QRコード付きラベルの表示例について説明する説明図。
(a)は、同配薬装置にセットされるカートリッジの一例の縦断面図。(b)は、同カートリッジの下面図。
(a)は、図5の例とは別の例のカートリッジの縦断面図。(b)は、同カートリッジの下面図。
同配薬装置の引出し部に設けられたカートリッジの着脱機構を示す要部の平断面図。
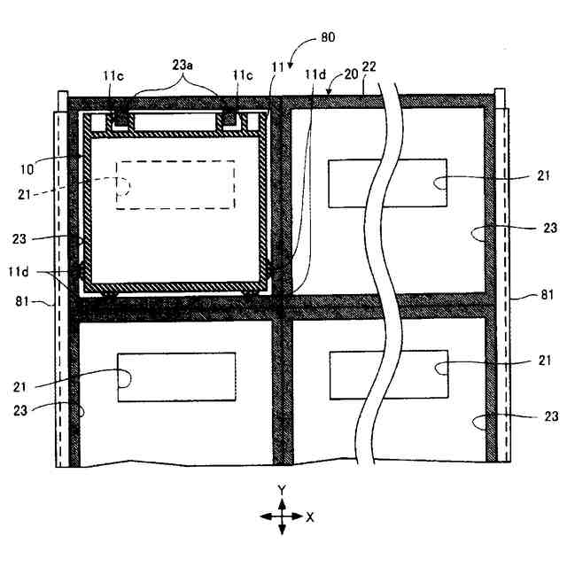
同引出し部に備えられているカートリッジの識別構成を説明する模式的な平面図。
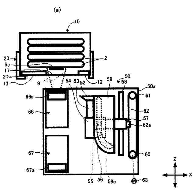
(a)は、同配薬装置のキャリッジの構成を示す正面図。(b)は、同キャリッジの平面図。
同キャリッジの動作推移を示す正面図。
図10に続くキャリッジの動作推移を示す正面図。
図11に続くキャリッジの動作推移を示す正面図。
カートリッジに表示されたQRコードを読み取る動作を示す正面図。
(a)は、同配薬装置の移送部の要部構成を示す正面図。(b)は、同移送部の要部構成を示す側面図。
同配薬装置の主な制御構成を示す制御ブロック図。
同配薬装置を含む服薬支援装置に係る制御ブロック図。
カートリッジ側のQRコードを読み取るときの動作フローチャート。
(a)は、リトライ動作時におけるQRコードリーダの移動パターンの一例を示す説明図。(b)は、リトライ動作時におけるQRコードリーダの移動パターンの他の例を示す説明図。
配薬トレイ側のQRコードを読み取るときの動作フローチャート。
リトライ動作時におけるQRコードリーダの移動パターンの更に他の例を示す説明図。
リトライ動作時におけるQRコードリーダの移動パターンの更に他の例を示す説明図。
図21の例において、QRコードリーダを回転させる構成の一例を示す説明図。
【発明を実施するための形態】
【0008】
以下、本発明に係る服薬支援装置の実施形態について、図面を参照して説明する。
まず、本実施形態に係る服薬支援装置を構成する配薬装置の要部の主要な構成を説明する。
【0009】
図1は、本実施形態の配薬装置の要部の主要な構成を示す模式図であり、図1(a)は、配薬装置の要部の主要な構成を模式的に示す正面図であり、図1(b)は、図1(a)の側面構成を模式的に示す側面図である。なお、図1において、配薬装置200の左右方向ないしは横方向(幅方向でもある)をX方向と、前後方向ないしは奥行方向をY方向と、上下方向ないしは縦方向(鉛直方向でもある)をZ方向とする(後述の各図でも同じ)。
【0010】
図1に示すように、配薬装置200の要部は、格納部とも呼ばれるカートリッジ10と、カートリッジトレイ20と、引出し部80と、配薬トレイ30と、取出し部とも呼ばれるキャリッジ50と、移送部90と、第1出入り口部41~第4出入り口部44と、を備えている。
(【0011】以降は省略されています)
この特許をJ-PlatPat(特許庁公式サイト)で参照する
関連特許
株式会社リコー
画像形成装置
19日前
株式会社リコー
画像形成装置
16日前
株式会社リコー
服薬支援装置
1日前
株式会社リコー
画像形成装置
24日前
株式会社リコー
画像形成装置
10日前
株式会社リコー
画像形成装置
16日前
株式会社リコー
画像形成装置
1日前
株式会社リコー
機器及び異常判定方法
24日前
株式会社リコー
画像形成装置及びシステム
22日前
株式会社リコー
画像形成装置、及び、機器
9日前
株式会社リコー
延長トレイ及び画像形成装置
19日前
株式会社リコー
定着装置、及び画像形成装置
24日前
株式会社リコー
光走査装置及び画像形成装置
8日前
株式会社リコー
画像形成装置及び異常判定方法
1日前
株式会社リコー
シート供給装置、画像形成装置
8日前
株式会社リコー
画像読取装置及び画像読取方法
18日前
株式会社リコー
画像形成装置および画像形成方法
1日前
株式会社リコー
表示装置、切替方法、プログラム
29日前
株式会社リコー
樹脂粒子、及び樹脂粒子の製造方法
16日前
株式会社リコー
加熱装置、定着装置、画像形成装置
11日前
株式会社リコー
媒体処理装置及び画像形成システム
19日前
株式会社リコー
加熱搬送装置、及び、画像形成装置
9日前
株式会社リコー
加熱装置、定着装置及び画像形成装置
23日前
株式会社リコー
シート給送装置及び画像形成システム
25日前
株式会社リコー
読取装置、読取方法およびプログラム
19日前
株式会社リコー
通信装置、通信方法、及びプログラム
22日前
株式会社リコー
通信端末、通信方法、及びプログラム
22日前
株式会社リコー
樹脂粒子、トナー、及び、画像形成装置
8日前
株式会社リコー
光源装置、画像投影装置および調整方法
29日前
株式会社リコー
通信装置、状態制御方法、及びプログラム
25日前
株式会社リコー
画像形成装置、及び、プロセスカートリッジ
29日前
株式会社リコー
画像形成装置、情報処理方法及びプログラム
22日前
株式会社リコー
画像読取装置、画像判定方法およびプログラム
22日前
株式会社リコー
画像形成装置、画像処理方法およびプログラム
17日前
株式会社リコー
画像形成装置、情報処理方法およびプログラム
23日前
株式会社リコー
画像形成装置、画像形成方法およびプログラム
1日前
続きを見る
他の特許を見る