TOP
|
特許
|
意匠
|
商標
特許ウォッチ
Twitter
他の特許を見る
公開番号
2025160971
公報種別
公開特許公報(A)
公開日
2025-10-24
出願番号
2024063752
出願日
2024-04-11
発明の名称
画像形成装置、情報処理方法及びプログラム
出願人
株式会社リコー
代理人
個人
,
個人
主分類
B41J
29/393 20060101AFI20251017BHJP(印刷;線画機;タイプライター;スタンプ)
要約
【課題】単数部での印刷における色変動を把握可能とすること。
【解決手段】画像形成装置は、順番に印刷される複数の画像ごとに、当該画像を印刷した場合の理論的な色情報を有するマスタ画像を生成するマスタ画像生成部と、前記画像ごとに、当該画像に対応する前記マスタ画像における1以上の部分領域のそれぞれについて、当該画像が印刷された紙から読み取られたスキャン画像との色差を算出する色差算出部と、同じ色系統に分類される前記部分領域に係る前記色差の集合について、前記マスタ画像ごとの平均値と前記集合の全体の平均値との差分を算出する色差分類部と、を有する。
【選択図】図4
特許請求の範囲
【請求項1】
順番に印刷される複数の画像ごとに、当該画像を印刷した場合の理論的な色情報を有するマスタ画像を生成するマスタ画像生成部と、
前記画像ごとに、当該画像に対応する前記マスタ画像における1以上の部分領域のそれぞれについて、当該画像が印刷された紙から読み取られたスキャン画像との色差を算出する色差算出部と、
同じ色系統に分類される前記部分領域に係る前記色差の集合について、前記マスタ画像ごとの平均値と前記集合の全体の平均値との差分を算出する色差分類部と、
を有することを特徴とする画像形成装置。
続きを表示(約 960 文字)
【請求項2】
前記画像のそれぞれは、複数ページを含む印刷ジョブのそれぞれのページの画像である、
ことを特徴とする請求項1記載の画像形成装置。
【請求項3】
複数の前記画像のそれぞれの内容は異なる、
ことを特徴とする請求項1記載の画像形成装置。
【請求項4】
前記マスタ画像生成部は、或る画像の色情報と、前記或る画像を印刷した場合の色情報との対応関係を示す情報に基づいて、前記画像から前記マスタ画像を生成する、
ことを特徴とする請求項1記載の画像形成装置。
【請求項5】
前記差分に基づく情報の出力を制御する出力制御部、
を有することを特徴とする請求項1記載の画像形成装置。
【請求項6】
前記出力制御部は、前記画像ごとの前記差分の出力を制御する、
ことを特徴とする請求項5記載の画像形成装置。
【請求項7】
順番に印刷される複数の画像ごとに、当該画像を印刷した場合の理論的な色情報を有するマスタ画像を生成するマスタ画像生成手順と、
前記画像ごとに、当該画像に対応する前記マスタ画像における1以上の部分領域のそれぞれについて、当該画像が印刷された紙から読み取られたスキャン画像との色差を算出する色差算出手順と、
同じ色系統に分類される前記部分領域に係る前記色差の集合について、前記マスタ画像ごとの平均値と前記集合の全体の平均値との差分を算出する色差分類手順と、
をコンピュータが実行することを特徴とする情報処理方法。
【請求項8】
順番に印刷される複数の画像ごとに、当該画像を印刷した場合の理論的な色情報を有するマスタ画像を生成するマスタ画像生成手順と、
前記画像ごとに、当該画像に対応する前記マスタ画像における1以上の部分領域のそれぞれについて、当該画像が印刷された紙から読み取られたスキャン画像との色差を算出する色差算出手順と、
同じ色系統に分類される前記部分領域に係る前記色差の集合について、前記マスタ画像ごとの平均値と前記集合の全体の平均値との差分を算出する色差分類手順と、
をコンピュータに実行させることを特徴とするプログラム。
発明の詳細な説明
【技術分野】
【0001】
本発明は、画像形成装置、情報処理方法及びプログラムに関する。
続きを表示(約 1,800 文字)
【背景技術】
【0002】
大量印刷を前提とした、電子写真方式やインクジェット方式などのデジタル印刷装置では、数百枚、数千枚といった連続出力における出力色の安定性が求められる。特に、チラシやカタログ類など、数ページ毎に、若干のコンテンツが差し替えられた程度の同種原稿が反復印刷されるようなユースケースでは再現色の安定管理が重要となる。
【0003】
しかし、本格的な商用印刷とは異なり、これらのデジタル印刷装置が利用される動作環境(例えば、温度、湿度等)は、必ずしも厳密には管理されるとは限らない。また、多様な種類の原稿の混合印刷により、トナーやインキの供給量やマシンコンディションも刻々と変化するといった回避不能な不安定要因が多く存在する。そのため、連続的に大量印刷する印刷物の画像上の写真領域や、デザイン画、コーポレートロゴなど、色を厳密に管理したい領域に対する色の安定化は困難である。たとえ事前にキャリブレーションなどによって印刷装置の色調整作業を実施し、所望する色味状態に調整しておいても、印刷装置を数時間放置(印刷動作をさせなかったり、電源をOFF状態のままとしたりすること)するだけでマシンコンディションの変化の影響によって、調整した色味状態が変化する虞がある。放置後にジョブを印刷した場合、印刷初期の印刷物の色味状態が所望する色味でない状態で連続印刷が開始され、印刷中に生じる色変動によってさらに色味が変化してしまう。色変動が悪化した状態のまま印刷を完了させた結果、商品とすることができず、不要又は廃棄となるような印刷物(損紙)が発生してしまう。
【0004】
出力色を或る程度に安定管理することが求められる場合には、たびたび機械を停止して、キャリブレーション操作を行うことが必要となる。しかし、このようなキャリブレーション操作を頻繁に行うと、キャリブレーション専用チャート印刷時に生じる損紙や、ユーザ要求による印刷ジョブの停止、キャリブレーション操作による作業工数の増大、といった問題が生じる。
【0005】
そこで、従来、複数部に係る印刷ジョブの部ごとの同一のページ数のページの間の同一領域の色差を算出し、算出された前記色差に基づいて印刷を継続するか否かを判定する技術が検討されている(例えば,特許文献1)。
【発明の概要】
【発明が解決しようとする課題】
【0006】
しかしながら、従来技術では、複数部における部ごとの同一のページ数のページの間の同一領域の色差を比較する必要が有るため、単数部設定の印刷ジョブへの適用は困難である。
【0007】
本発明は、上記の点に鑑みてなされたものであって、単数部での印刷における色変動を把握可能とすることを目的とする。
【課題を解決するための手段】
【0008】
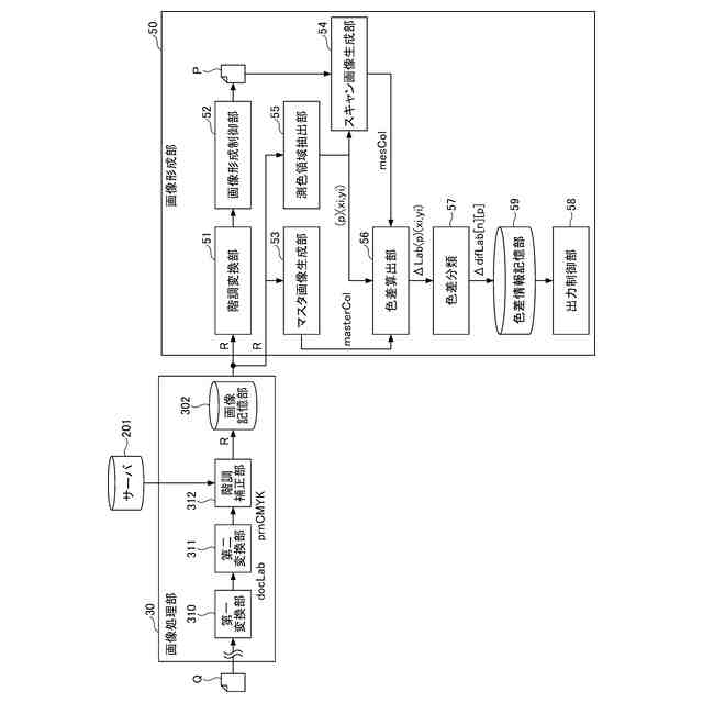
そこで上記課題を解決するため、画像形成装置は、順番に印刷される複数の画像ごとに、当該画像を印刷した場合の理論的な色情報を有するマスタ画像を生成するマスタ画像生成部と、前記画像ごとに、当該画像に対応する前記マスタ画像における1以上の部分領域のそれぞれについて、当該画像が印刷された紙から読み取られたスキャン画像との色差を算出する色差算出部と、同じ色系統に分類される前記部分領域に係る前記色差の集合について、前記マスタ画像ごとの平均値と前記集合の全体の平均値との差分を算出する色差分類部と、を有する。
【発明の効果】
【0009】
単数部での印刷における色変動を把握可能とすることができる。
【図面の簡単な説明】
【0010】
本発明の実施の形態における画像形成システムの全体構成の一例を示す図である。
本発明の実施の形態における画像形成装置100のハードウェア構成例を示す図である。
画像形成機構4の構成例を示す図である。
本発明の実施の形態における画像形成装置100の機能構成例を示す図である。
測色領域の抽出について説明するための図である。
画像形成装置100が実行する処理手順の一例を説明するためのフローチャートである。
レポートの出力例を示す図である。
詳細情報の表示例を示す図である。
【発明を実施するための形態】
(【0011】以降は省略されています)
この特許をJ-PlatPat(特許庁公式サイト)で参照する
関連特許
株式会社リコー
画像形成装置
1か月前
株式会社リコー
画像形成装置
1か月前
株式会社リコー
外観検査装置
17日前
株式会社リコー
服薬支援装置
23日前
株式会社リコー
画像形成装置
23日前
株式会社リコー
液体吐出装置
9日前
株式会社リコー
画像形成装置
1か月前
株式会社リコー
画像形成装置
1か月前
株式会社リコー
画像形成装置及びシステム
1か月前
株式会社リコー
画像形成装置、及び、機器
1か月前
株式会社リコー
定着装置及び画像形成装置
9日前
株式会社リコー
光走査装置及び画像形成装置
1か月前
株式会社リコー
延長トレイ及び画像形成装置
1か月前
株式会社リコー
光源装置および画像表示装置
3日前
株式会社リコー
画像読取装置及び画像読取方法
1か月前
株式会社リコー
画像形成装置及び異常判定方法
23日前
株式会社リコー
シート供給装置、画像形成装置
1か月前
株式会社リコー
画像形成装置および画像形成方法
23日前
株式会社リコー
画像形成装置、及び画像形成方法
17日前
株式会社リコー
媒体処理装置及び画像形成システム
1か月前
株式会社リコー
加熱搬送装置、及び、画像形成装置
1か月前
株式会社リコー
加熱装置、定着装置、画像形成装置
1か月前
株式会社リコー
樹脂粒子、及び樹脂粒子の製造方法
1か月前
株式会社リコー
媒体処理装置及び画像形成システム
2日前
株式会社リコー
媒体処理装置及び画像形成システム
2日前
株式会社リコー
加熱装置、定着装置及び画像形成装置
17日前
株式会社リコー
読取装置、読取方法およびプログラム
1か月前
株式会社リコー
後処理装置、及び、画像形成システム
10日前
株式会社リコー
外観検査方法、および外観検査システム
9日前
株式会社リコー
樹脂粒子、トナー、及び、画像形成装置
1か月前
株式会社リコー
プリンタシステムのための自動制御システム
2日前
株式会社リコー
画像形成装置、画像形成方法及びプログラム
11日前
株式会社リコー
画像形成装置、画像形成方法及びプログラム
11日前
株式会社リコー
画像読取装置、画像判定方法およびプログラム
1か月前
株式会社リコー
情報処理装置、情報処理方法およびプログラム
18日前
株式会社リコー
画像形成装置、画像処理方法およびプログラム
1か月前
続きを見る
他の特許を見る