TOP
|
特許
|
意匠
|
商標
特許ウォッチ
Twitter
他の特許を見る
10個以上の画像は省略されています。
公開番号
2025158336
公報種別
公開特許公報(A)
公開日
2025-10-17
出願番号
2024060771
出願日
2024-04-04
発明の名称
表示装置、切替方法、プログラム
出願人
株式会社リコー
代理人
個人
,
個人
主分類
H04N
7/15 20060101AFI20251009BHJP(電気通信技術)
要約
【課題】ミーティングデバイスの接続先を端末装置とするか、ミーティングデバイスをアプリケーションで利用可能にするかを自動的に切り替えること。
【解決手段】本発明は、撮像装置及び音響装置の少なくとも一方を備えたミーティングデバイスを有する表示装置であって、端末装置と有線又は無線で通信する外部入出力部48と、遠隔地の拠点と遠隔コミュニケーションを開催するアプリケーション43と、前記遠隔コミュニケーションへの参加を受け付けるか、又は、前記外部入出力部が前記端末装置との通信を検出したかに応じて、前記ミーティングデバイスを前記アプリケーションに利用させるか、又は、前記外部入出力部と接続させるかを切り替えるデバイス切替部45と、を有する。
【選択図】図7
特許請求の範囲
【請求項1】
撮像装置及び音響装置の少なくとも一方を備えたミーティングデバイスを有する表示装置であって、
端末装置と有線又は無線で通信する外部入出力部と、
遠隔地の拠点と遠隔コミュニケーションを開催するアプリケーションと、
前記遠隔コミュニケーションへの参加を受け付けるか、又は、前記外部入出力部が前記端末装置との通信を検出したかに応じて、前記ミーティングデバイスを前記アプリケーションに利用させるか、又は、前記外部入出力部と接続させるかを切り替えるデバイス切替部と、
を有する表示装置。
続きを表示(約 1,900 文字)
【請求項2】
前記デバイス切替部は、前記遠隔コミュニケーションへの参加を受け付けた場合、前記ミーティングデバイスを前記アプリケーションに利用させ、
前記外部入出力部が前記端末装置との通信を検出した場合、前記ミーティングデバイスを前記外部入出力部と接続させる請求項1に記載の表示装置。
【請求項3】
前記表示装置にログインするためのユーザーの認証が成功した場合に、前記遠隔コミュニケーションに参加するための情報を取得する個人認証モジュールを有し、
前記個人認証モジュールが前記情報を取得し、前記情報により前記遠隔コミュニケーションへの参加が可能であると前記アプリケーションが判断した場合に、前記遠隔コミュニケーションへの参加を受け付けたと判断する請求項1又は2に記載の表示装置。
【請求項4】
前記遠隔コミュニケーションに参加するための情報は、前記遠隔コミュニケーションの会議ID及び前記遠隔コミュニケーションに参加するためのパスワードであり、
前記個人認証モジュールは、認証が成功したユーザーのユーザーIDに対応付けられているスケジュール情報から直近の遠隔コミュニケーションの前記会議IDとパスワードを取得し、
前記会議IDとパスワードにより前記遠隔コミュニケーションへの参加が可能であると前記アプリケーションが判断した場合に、前記遠隔コミュニケーションへの参加を受け付けたと判断する請求項3に記載の表示装置。
【請求項5】
前記遠隔コミュニケーションへの参加を受け付けた場合、前記外部入出力部が前記端末装置から画像データと音声データを受信しているか否かを判断する切替判断部を有し、
前記切替判断部が、前記外部入出力部が前記端末装置から画像データと音声データを受信していないと判断した場合に、前記デバイス切替部は、前記ミーティングデバイスを前記アプリケーションで利用可能にする請求項1に記載の表示装置。
【請求項6】
前記外部入出力部が前記端末装置との通信を検出した場合、前記アプリケーションが他の拠点と通信しているか否かを判断する切替判断部を有し、
前記切替判断部が、前記アプリケーションが前記他の拠点と通信していないと判断した場合に、前記デバイス切替部は、前記ミーティングデバイスを前記外部入出力部に接続する請求項1に記載の表示装置。
【請求項7】
前記表示装置はディスプレイを有し、
前記デバイス切替部は、前記遠隔コミュニケーションへの参加を受け付けた場合、前記ミーティングデバイスを前記ディスプレイに接続させ、
前記外部入出力部が前記端末装置との通信を検出した場合、前記ミーティングデバイスを前記ディスプレイと接続させる請求項1に記載の表示装置。
【請求項8】
前記デバイス切替部が、前記ミーティングデバイスを前記アプリケーションに利用させた場合、
前記ミーティングデバイスが取得した画像データと音声データを、前記アプリケーションが他の拠点に送信し、
前記アプリケーションが他の拠点から受信した音声データを前記ミーティングデバイスから出力し、
前記アプリケーションが他の拠点から受信した画像データを前記ディスプレイに表示させる、請求項7に記載の表示装置。
【請求項9】
前記デバイス切替部が、前記ミーティングデバイスを前記外部入出力部に接続させた場合、
前記ミーティングデバイスが取得した画像データと音声データを、前記外部入出力部が前記端末装置に送信し、
前記外部入出力部が前記端末装置から受信した音声データを前記ミーティングデバイスから出力し、
前記外部入出力部が前記端末装置から受信した画像データを前記ディスプレイに表示させる、請求項7に記載の表示装置。
【請求項10】
撮像装置及び音響装置の少なくとも一方を備えたミーティングデバイスを有する表示装置が行う切替方法であって、
外部入出力部が、端末装置と有線又は無線で通信する処理と、
アプリケーションが、遠隔地の拠点と遠隔コミュニケーションを開催する処理と、
前記遠隔コミュニケーションへの参加を受け付けるか、又は、前記外部入出力部が前記端末装置との通信を検出したかに応じて、デバイス切替部が、前記ミーティングデバイスを前記アプリケーションに利用させるか、又は、前記外部入出力部と接続させるかを切り替える処理と、
を行う切替方法。
(【請求項11】以降は省略されています)
発明の詳細な説明
【技術分野】
【0001】
本発明は、表示装置、切替方法、及びプログラムに関する。
続きを表示(約 2,300 文字)
【背景技術】
【0002】
コンピュータ制御のホワイトボード装置又は手書き入力が可能なアプリケーション(以下、表示装置という)には、ネットワークを介して他の拠点の表示装置と通信できるものがある。一方の拠点の表示装置への手書き入力は他方の表示装置にもリアルタイムに表示される。また、表示装置にカメラ、マイク又はスピーカーの機能を有するミーティングデバイスが搭載されている場合、表示装置は各拠点の画像データと音声データをリアルタイムに表示でき、会議などの遠隔コミュニケーションに利用される。
【0003】
一方、PCなどの端末装置にミーティングデバイスを接続し、一方の拠点の画像データや音声データを他方の拠点のミーティングデバイスから出力する技術が知られている(例えば、特許文献1参照)。特許文献1には、コンピュータと同一ネットワーク内にあるカメラが検出された場合に、コンピュータ内のビデオ会議プログラムからカメラにアクセスするビデオ会議システムが開示されている。
【発明の概要】
【発明が解決しようとする課題】
【0004】
しかしながら、従来の技術では、ミーティングデバイスの接続先を端末装置とするか、ミーティングデバイスをアプリケーションで利用可能にするかを切り替えることができないという課題があった。例えば、表示装置にリモート会議用のアプリケーションがインストールされ、表示装置にミーティングデバイスが内蔵されているか又は外付けされている。この場合、端末装置を表示装置に接続させても、ユーザーはミーティングデバイスを使用して遠隔コミュニケーションを行うことができなかった。すなわち、アプリケーションがミーティングデバイスを利用できるようになっているため、ユーザーが端末装置でミーティングデバイスを使用して遠隔コミュニケーションを行うには、表示装置を手動で操作してミーティングデバイスの接続先を端末装置に切り替える必要があった。
【0005】
本発明は、上記課題に鑑み、ミーティングデバイスの接続先を端末装置とするか、ミーティングデバイスをアプリケーションで利用可能にするかを自動的に切り替えることができる技術を提供する。
【課題を解決するための手段】
【0006】
上記課題に鑑み、本発明は、撮像装置及び音響装置の少なくとも一方を備えたミーティングデバイスを有する表示装置であって、端末装置と有線又は無線で通信する外部入出力部と、遠隔地の拠点と遠隔コミュニケーションを開催するアプリケーションと、前記遠隔コミュニケーションへの参加を受け付けるか、又は、前記外部入出力部が前記端末装置との通信を検出したかに応じて、前記ミーティングデバイスを前記アプリケーションに利用させるか、又は、前記外部入出力部と接続させるかを切り替えるデバイス切替部と、を有する。
【発明の効果】
【0007】
本発明は、ミーティングデバイスの接続先を端末装置とするか、ミーティングデバイスをアプリケーションで利用可能にするかを自動的に切り替える技術を提供する。
【図面の簡単な説明】
【0008】
表示装置とユーザー端末を用いた通信システムの概略構成を示す図の一例である。
通信システムのシステム構成図の一例である。
表示装置の外観図の一例である。
表示装置のハードウェア構成図の一例である。
ユーザー端末の一例のハードウェア構成を示す図である。
表示装置及びユーザー端末の機能をブロックに分けて説明する機能ブロック図の一例である。
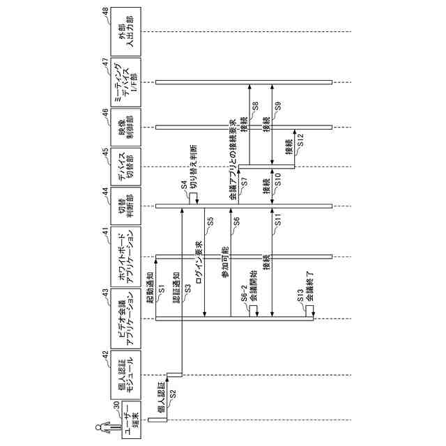
表示装置がミーティングデバイスをビデオ会議アプリケーションで利用可能にする動作又は処理を説明するシーケンス図の一例である。
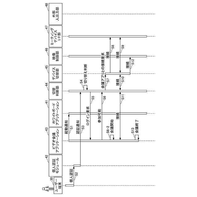
表示装置がミーティングデバイスの接続先をユーザー端末に切り替える動作又は処理を説明するシーケンス図の一例である。
ミーティングデバイスをビデオ会議アプリケーションが利用できるように接続されている場合に、表示装置における情報の流れを説明するシーケンス図の一例である。
ミーティングデバイスとユーザー端末とが接続されている場合に、表示装置における情報の流れを説明するシーケンス図の一例である。
情報端末と携帯端末とを有する通信システムの一例を示す図である。
【発明を実施するための形態】
【0009】
以下、本発明を実施するための形態の一例として表示装置、表示装置が行う切替方法について図面を参照しながら説明する。
【0010】
<表示装置とユーザー端末を用いた通信システムに関する補足>
図1は、表示装置2とユーザー端末30を用いた通信システム100の概略構成を示す。表示装置2には、カメラ11、マイク12及びスピーカー13が内蔵又は外付けされている。以下、カメラ11、マイク12及びスピーカー13をミーティングデバイス20という。表示装置2は、ネットワークを介して他の拠点の表示装置2と通信できる。表示装置2はタッチパネルへの手書き入力だけでなく、ミーティングデバイス20が取得した画像データ及び音声データの少なくとも一方を他の拠点の表示装置2に送信できる。他の拠点の表示装置2は、受信した手書き入力を表示し、画像データ及び音声データを出力する。したがって、遠隔地の各拠点に存在するユーザーが遠隔コミュニケーションを行うことができる。
(【0011】以降は省略されています)
この特許をJ-PlatPat(特許庁公式サイト)で参照する
関連特許
株式会社リコー
服薬支援装置
23日前
株式会社リコー
画像形成装置
23日前
株式会社リコー
液体吐出装置
9日前
株式会社リコー
外観検査装置
17日前
株式会社リコー
画像形成装置
1か月前
株式会社リコー
画像形成装置、及び、機器
1か月前
株式会社リコー
定着装置及び画像形成装置
9日前
株式会社リコー
光源装置および画像表示装置
3日前
株式会社リコー
光走査装置及び画像形成装置
1か月前
株式会社リコー
シート供給装置、画像形成装置
1か月前
株式会社リコー
画像形成装置及び異常判定方法
23日前
株式会社リコー
画像形成装置、及び画像形成方法
17日前
株式会社リコー
画像形成装置および画像形成方法
23日前
株式会社リコー
加熱装置、定着装置、画像形成装置
1か月前
株式会社リコー
媒体処理装置及び画像形成システム
2日前
株式会社リコー
媒体処理装置及び画像形成システム
2日前
株式会社リコー
加熱搬送装置、及び、画像形成装置
1か月前
株式会社リコー
加熱装置、定着装置及び画像形成装置
17日前
株式会社リコー
後処理装置、及び、画像形成システム
10日前
株式会社リコー
外観検査方法、および外観検査システム
9日前
株式会社リコー
樹脂粒子、トナー、及び、画像形成装置
1か月前
株式会社リコー
プリンタシステムのための自動制御システム
2日前
株式会社リコー
画像形成装置、画像形成方法及びプログラム
11日前
株式会社リコー
画像形成装置、画像形成方法及びプログラム
11日前
株式会社リコー
振動検出装置、バイタルセンサ、配管検査装置
4日前
株式会社リコー
画像処理装置、画像処理方法およびプログラム
25日前
株式会社リコー
画像形成装置、画像形成方法およびプログラム
23日前
株式会社リコー
情報処理装置、情報処理方法およびプログラム
18日前
株式会社リコー
情報処理装置、情報処理方法およびプログラム
1か月前
株式会社リコー
媒体処理装置、画像形成装置、画像形成システム
2日前
株式会社リコー
穿孔装置、後処理装置、及び、画像形成システム
3日前
株式会社リコー
表示装置、表示方法、プログラム、表示システム
1か月前
株式会社リコー
表示装置、表示方法、プログラム、表示システム
17日前
株式会社リコー
表示装置、表示方法、プログラム、表示システム
25日前
株式会社リコー
画像読取装置、画像形成装置、および画像読取方法
9日前
株式会社リコー
シート収容装置、シート給送装置及び画像形成装置
23日前
続きを見る
他の特許を見る