TOP
|
特許
|
意匠
|
商標
特許ウォッチ
Twitter
他の特許を見る
10個以上の画像は省略されています。
公開番号
2025165043
公報種別
公開特許公報(A)
公開日
2025-11-04
出願番号
2024068888
出願日
2024-04-22
発明の名称
表示装置、表示方法、プログラム、表示システム
出願人
株式会社リコー
代理人
個人
,
個人
主分類
G06F
3/04883 20220101AFI20251027BHJP(計算;計数)
要約
【課題】操作コマンドを実行するためにユーザーが手書き入力する際のユーザーの労力を低減できる。
【解決手段】表示装置であって、ユーザーからの操作を受け付けることによって、操作コマンドを実行する表示部品を表示させる表示制御部と、表示部品に割り当てられている第2の操作コマンドと、該第2の操作コマンドを実行するために入力された手書き入力から変換された第2の文字列に関する情報とを対応付けて記憶する記憶部と、第1の文字列に対応付けられている操作コマンドの候補から、第1の操作コマンドの選択を受け付ける受付部と、受付部が第1の操作コマンドの選択を受け付けた場合、第1の文字列に関する情報と、第2の文字列に関する情報とに基づいて、所定の条件を満たすと判断した場合に、第1の操作コマンドを表示部品に割り当てるコマンド割当部と、を有し、表示制御部は、該表示部品を表示させる。
【選択図】図11
特許請求の範囲
【請求項1】
手書き入力から変換された第1の文字列に対応付けられている操作コマンドの候補を表示する表示装置であって、
ユーザーからの操作を受け付けることによって、予め割り当てられた操作コマンドを実行する表示部品を表示させる表示制御部と、
前記表示部品に割り当てられている第2の操作コマンドと、該第2の操作コマンドを実行するために入力された手書き入力から変換された第2の文字列に関する情報とを対応付けて記憶する記憶部と、
前記第1の文字列に対応付けられている操作コマンドの候補から、第1の操作コマンドの選択を受け付ける受付部と、
前記受付部が前記第1の操作コマンドの選択を受け付けた場合、前記第1の文字列に関する情報と、前記第2の文字列に関する情報とに基づいて、所定の条件を満たすか判断し、該所定の条件を満たすと判断した場合に、前記受付部が選択を受け付けた前記第1の操作コマンドを表示部品に割り当てるコマンド割当部と、
を有し、
前記表示制御部は、前記コマンド割当部によって前記第1の操作コマンドが割り当てられた表示部品を表示させる表示装置。
続きを表示(約 1,200 文字)
【請求項2】
前記第1の文字列に関する情報は、前記第1の文字列に対応付けられている前記操作コマンドの候補の第1の数であり、
前記第2の文字列に関する情報は、前記第2の文字列に対応付けられている前記操作コマンドの候補の第2の数であり、
前記コマンド割当部は、前記第1の数が前記第2の数よりも多い場合に、前記受付部が選択を受け付けた前記第1の操作コマンドを前記表示部品に割り当てる請求項1に記載の表示装置。
【請求項3】
前記第1の文字列に関する情報は、前記第1の文字列が有する第1の文字数であり、
前記第2の文字列に関する情報は、前記第2の文字列が有する第2の文字数であり、
前記コマンド割当部は、前記第1の文字数が前記第2の文字数よりも多い場合に、前記受付部が選択を受け付けた前記第1の操作コマンドを前記表示部品に割り当てる請求項1に記載の表示装置。
【請求項4】
前記第1の文字列に関する情報は、前記第1の文字列に含まれる漢字の第3の数であり、
前記第2の文字列に関する情報は、前記第2の文字列に含まれる漢字の第4の数であり、
前記コマンド割当部は、前記第3の数が前記第4の数よりも多い場合に、前記受付部が選択を受け付けた前記第1の操作コマンドを前記表示部品に割り当てる請求項1に記載の表示装置。
【請求項5】
前記第1の文字列に関する情報は、前記第1の文字列の第1の画数であり、
前記第2の文字列に関する情報は、前記第2の文字列の第2の画数であり、
前記コマンド割当部は、前記第1の画数が前記第2の画数よりも多い場合に、前記受付部が選択を受け付けた前記第1の操作コマンドを前記表示部品に割り当てる請求項1に記載の表示装置。
【請求項6】
前記表示部品に操作コマンドが割り当てられていない場合、
前記コマンド割当部は、前記受付部が選択を受け付けた前記第1の操作コマンドを割り当てる請求項1~5のいずれか1項に記載の表示装置。
【請求項7】
前記表示制御部は、前記表示部品を常に表示させる請求項1に記載の表示装置。
【請求項8】
前記表示制御部は、少なくとも、前記第1の操作コマンドの機能が前記表示部品に割り当てられた直後、前記表示部品を表示させる請求項1に記載の表示装置。
【請求項9】
前記表示制御部は、前記表示部品に割り当てられている前記第1の操作コマンドの機能に応じた形状を有する前記表示部品を表示させる請求項1に記載の表示装置。
【請求項10】
前記表示制御部は、前記表示部品に割り当てられている前記第1の操作コマンドの名称を前記表示部品と共に表示させる請求項1に記載の表示装置。
(【請求項11】以降は省略されています)
発明の詳細な説明
【技術分野】
【0001】
本発明は、表示装置、表示方法、プログラム、及び表示システムに関する。
続きを表示(約 2,800 文字)
【背景技術】
【0002】
手書き認識技術を利用し、手書きデータを文字に変換して、ディスプレーに表示する表示装置が知られている。比較的大型のタッチパネルを備えた表示装置は会議室や公共施設などに配置され、複数のユーザーにより電子黒板などとして利用される。
【0003】
手書き入力により表示装置を操作する際の操作性を改善する技術が知られている(例えば、特許文献1参照)。特許文献1には、特定の文字列を手書きした場合に対応する操作コマンドを表示させ、操作コマンドを選択すると対応する機能を実行する技術が開示されている。
【発明の概要】
【発明が解決しようとする課題】
【0004】
しかしながら、従来の技術では、ユーザーが手書き入力する内容によっては、操作コマンドを実行するまでのユーザーの労力が異なる。例えば、操作コマンドを実行するために手書きされる文字の文字数や画数が多い場合には、手書き入力に労力が掛かってしまう。また、手書き入力から変換された文字列に対応付けられている操作コマンドの数が多い場合には、ユーザーが所望の操作コマンドを選択するのに労力が掛かってしまう。
【0005】
本発明は、操作コマンドを実行するためにユーザーが手書き入力する際のユーザーの労力を低減することを目的とする。
【課題を解決するための手段】
【0006】
上記課題に鑑み、本発明は、手書き入力から変換された第1の文字列に対応付けられている操作コマンドの候補を表示する表示装置であって、ユーザーからの操作を受け付けることによって、予め割り当てられた操作コマンドを実行する表示部品を表示させる表示制御部と、前記表示部品に割り当てられている第2の操作コマンドと、該第2の操作コマンドを実行するために入力された手書き入力から変換された第2の文字列に関する情報とを対応付けて記憶する記憶部と、前記第1の文字列に対応付けられている操作コマンドの候補から、第1の操作コマンドの選択を受け付ける受付部と、前記受付部が前記第1の操作コマンドの選択を受け付けた場合、前記第1の文字列に関する情報と、前記第2の文字列に関する情報とに基づいて、所定の条件を満たすか判断し、該所定の条件を満たすと判断した場合に、前記受付部が選択を受け付けた前記第1の操作コマンドを表示部品に割り当てるコマンド割当部と、を有し、前記表示制御部は、前記コマンド割当部によって前記第1の操作コマンドが割り当てられた表示部品を表示させる。
【発明の効果】
【0007】
本発明は、操作コマンドを実行するためにユーザーが手書き入力する際のユーザーの労力を低減できる。
【図面の簡単な説明】
【0008】
操作コマンドの表示例を示す図である。
操作コマンドの機能が設定されているアイコンの表示例を示す図である。
表示装置の全体構成図の一例である。
表示装置のハードウェア構成図の一例である。
表示装置が有する機能をブロック状に分けて説明する機能ブロック図の一例である。
オブジェクトデータ記憶部に記憶されるオブジェクトデータを説明する図である。
コマンド情報記憶部に記憶されるコマンド情報を説明する図である。
使用頻度情報記憶部に記憶される使用頻度情報を説明する図である。
現在割当コマンド情報記憶部に記憶される現在割当コマンド情報を説明する図である。
操作ガイドと操作ガイドに表示される選択可能候補の一例を示す図である。
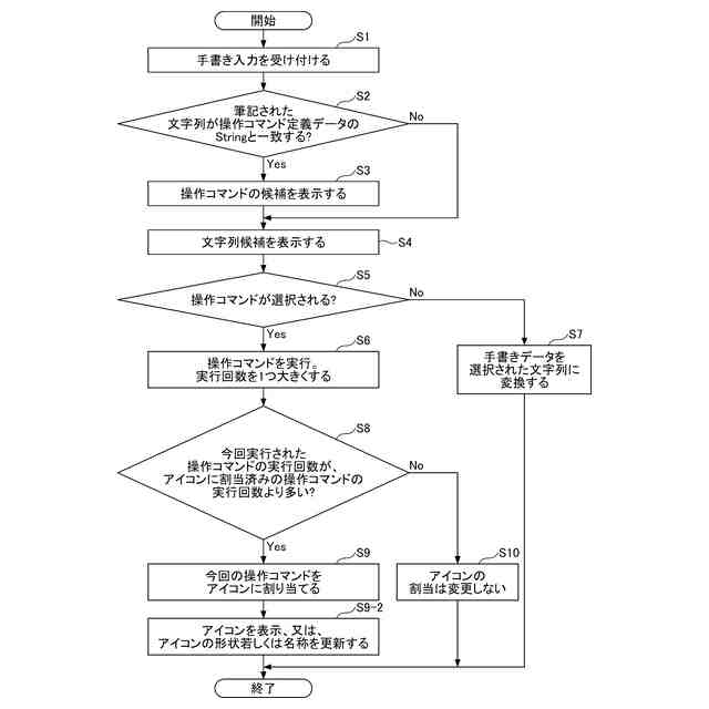
表示装置が実行回数の多い操作コマンドをアイコンに対応付ける処理を説明するフローチャート図の一例である。
アイコンに操作コマンドが割り当てられていない場合の操作コマンドの割り当て方法を説明するフローチャート図の一例である。
平置きされた表示装置の上面図の一例である。
文字列に対応する操作コマンドの候補の数を説明する図である。
現在割当コマンド情報記憶部に記憶される現在割当コマンド情報を説明する図である。
操作コマンドの候補の数に基づいて、表示装置が操作コマンドをアイコンに割り当てる処理を説明するフローチャート図の一例である。
コマンド情報を説明する図である。
手書データが文字認識された文字列に基づいて表示された操作コマンドを説明する図である。
文字数に基づいて、表示装置が操作コマンドをアイコンに割り当てる処理を説明するフローチャート図の一例である。
コマンド情報を説明する図である。
手書データが文字認識された文字列に基づいて表示された操作コマンドを説明する図である。
漢字の文字数に基づいて、表示装置が操作コマンドをアイコンに割り当てる処理を説明するフローチャート図の一例である。
手書データが文字認識された文字列に基づいて表示された操作コマンドを説明する図である。
画数に基づいて、表示装置が操作コマンドをアイコン7に割り当てる処理を説明するフローチャート図の一例である。
表示システムのシステム構成図の一例である。
情報処理システムのハードウェア構成図の一例である。
表示システムが有する機能をブロック状に示す機能ブロック図の一例である。
表示装置と情報処理システムが通信して手書きデータの認識結果を表示する処理を説明するシーケンス図の一例である。
【発明を実施するための形態】
【0009】
以下、本発明を実施するための形態の一例として表示装置と、表示装置が行う表示方法について図面を参照しながら説明する。
【0010】
<操作コマンドの表示例>
図1は、操作コマンドの表示例を示す図である。操作コマンドとは、表示装置を操作するために用意されている、特定の処理の実行を指示する命令をいう。表示装置は、ユーザーによる手書きデータから変換された文字列に、予め対応付けられている操作コマンドの候補510を表示させる。文字列とは、手書きデータの文字認識により変換されたオブジェクトである。文字列は文字コードで表すことができる。文字列、及び、文字コードに変換しないことが確定している手書きデータは選択ジェスチャーによる選択対象となる。文字列は、1つ以上の文字であり、文字には、ひらがな、かたかな、漢字、アルファベット、数字、及び記号が含まれる。ユーザーが実行したい操作コマンドを選択すると該操作コマンドが実行される。図1では行頭の「■」が操作コマンドを意味している。
(【0011】以降は省略されています)
この特許をJ-PlatPat(特許庁公式サイト)で参照する
関連特許
株式会社リコー
画像形成装置
1か月前
株式会社リコー
画像形成装置
1か月前
株式会社リコー
外観検査装置
18日前
株式会社リコー
画像形成装置
1か月前
株式会社リコー
服薬支援装置
24日前
株式会社リコー
画像形成装置
24日前
株式会社リコー
画像形成装置
1か月前
株式会社リコー
液体吐出装置
10日前
株式会社リコー
画像形成装置
1か月前
株式会社リコー
機器及び異常判定方法
1か月前
株式会社リコー
画像形成装置、及び、機器
1か月前
株式会社リコー
画像形成装置及びシステム
1か月前
株式会社リコー
定着装置及び画像形成装置
10日前
株式会社リコー
光走査装置及び画像形成装置
1か月前
株式会社リコー
延長トレイ及び画像形成装置
1か月前
株式会社リコー
定着装置、及び画像形成装置
1か月前
株式会社リコー
光源装置および画像表示装置
4日前
株式会社リコー
シート供給装置、画像形成装置
1か月前
株式会社リコー
画像読取装置及び画像読取方法
1か月前
株式会社リコー
画像形成装置及び異常判定方法
24日前
株式会社リコー
表示装置、切替方法、プログラム
1か月前
株式会社リコー
画像形成装置、及び画像形成方法
18日前
株式会社リコー
画像形成装置および画像形成方法
24日前
株式会社リコー
媒体処理装置及び画像形成システム
1か月前
株式会社リコー
加熱装置、定着装置、画像形成装置
1か月前
株式会社リコー
樹脂粒子、及び樹脂粒子の製造方法
1か月前
株式会社リコー
媒体処理装置及び画像形成システム
3日前
株式会社リコー
媒体処理装置及び画像形成システム
3日前
株式会社リコー
加熱搬送装置、及び、画像形成装置
1か月前
株式会社リコー
通信端末、通信方法、及びプログラム
1か月前
株式会社リコー
通信装置、通信方法、及びプログラム
1か月前
株式会社リコー
読取装置、読取方法およびプログラム
1か月前
株式会社リコー
加熱装置、定着装置及び画像形成装置
1か月前
株式会社リコー
加熱装置、定着装置及び画像形成装置
18日前
株式会社リコー
シート給送装置及び画像形成システム
1か月前
株式会社リコー
後処理装置、及び、画像形成システム
11日前
続きを見る
他の特許を見る