TOP
|
特許
|
意匠
|
商標
特許ウォッチ
Twitter
他の特許を見る
10個以上の画像は省略されています。
公開番号
2025178100
公報種別
公開特許公報(A)
公開日
2025-12-05
出願番号
2025020980
出願日
2025-02-12
発明の名称
媒体処理装置、画像形成装置、画像形成システム
出願人
株式会社リコー
代理人
弁理士法人武和国際特許事務所
主分類
B65H
7/06 20060101AFI20251128BHJP(運搬;包装;貯蔵;薄板状または線条材料の取扱い)
要約
【課題】スリット内におけるシート束の状態を認識可能とする媒体処理装置を提供する。
【解決手段】装置筐体の一部に形成された空間に挿入されたシート束を綴る綴じ手段と、空間に設けられ、当該空間におけるシート束の一辺の位置を検知する第1センサと、シート束の一辺に隣り合う他の辺の位置を検知する第2センサと、第1センサおよび第2センサの検知結果を報知する報知手段とを備える、媒体処理装置による。
【選択図】図11
特許請求の範囲
【請求項1】
シート状の媒体を複数束ねてシート束を形成する媒体処理装置であって、
装置筐体の一部に形成された空間に挿入された前記シート束を綴る綴じ手段と、
前記空間に設けられ、当該空間における前記シート束の一辺の位置を検知する第1センサと、前記シート束の前記一辺に隣り合う他の辺の位置を検知する第2センサと、
前記第1センサおよび前記第2センサの検知結果を報知する報知手段とを備える、
ことを特徴とする媒体処理装置。
続きを表示(約 890 文字)
【請求項2】
前記第1センサおよび前記第2センサによる検知信号に応じて前記空間の内部における前記シート束の位置情報を少なくとも3種類以上の選択肢の中から選択して判定する判定手段を備え、
前記報知手段は、前記検知結果を前記判定手段による判定結果として報知する
請求項1に記載の媒体処理装置。
【請求項3】
前記判定手段は、前記媒体処理装置に設けた制御部に含まれており、
前記制御部は、前記第1センサ及び前記第2センサの検知信号が入力され、前記判定を実行する、
請求項2に記載の媒体処理装置。
【請求項4】
前記報知手段は、前記検知結果として、前記第1センサ及び前記第2センサの検知信号に基づき選択又は生成した画像を表示部に表示させる、
請求項1に記載の媒体処理装置。
【請求項5】
前記報知手段は、前記画像に、前記綴じ手段が綴じ処理を実行可能とする実行可能位置を重畳して表示させる、
請求項4に記載の媒体処理装置。
【請求項6】
前記報知手段は、前記検知結果に応じて発光状態を可変させる発光手段を備える、
請求項1に記載の媒体処理装置。
【請求項7】
前記報知手段は、前記検知結果に応じて音を出力する音出力手段を備える、
請求項1に記載の媒体処理装置。
【請求項8】
前記綴じ手段は、綴じ針を使用して前記シート束の端部を綴る針綴じ処理を実行する、
請求項1に記載の媒体処理装置。
【請求項9】
前記綴じ手段は、前記シート束の一部を加圧変形させて圧着により綴る圧着綴じ処理を実行する、
請求項1に記載の媒体処理装置。
【請求項10】
綴じ針を使用して前記シート束の端部を綴る針綴じ手段、及び前記シート束の一部を加圧変形させて圧着により綴る圧着綴じ手段を含む複数の綴じ手段を備える、
請求項1に記載の媒体処理装置。
(【請求項11】以降は省略されています)
発明の詳細な説明
【技術分野】
【0001】
本発明は、媒体処理装置、画像形成装置、画像形成システムに関する。
続きを表示(約 2,400 文字)
【背景技術】
【0002】
シート状の媒体を処理対象物として、所定の処理を行う媒体処理装置が知られている。媒体処理装置において実行可能な所定の処理(画像形成処理の後工程に該当するため、以下「後処理」と称する。)には、例えば、媒体であるシートを複数枚束ねて綴ることでシート束を形成する「綴じ処理」などが知られている。
【0003】
特許文献1には、綴じ処理を行う場合に、ユーザによってシート束を挿入可能な空隙(スリット)に、シート束を挿入して綴じる綴じ処理(マニュアルステープル)を備えた媒体処理装置が開示されている。
【発明の概要】
【発明が解決しようとする課題】
【0004】
特許文献1に開示されている媒体処理装置は、スリットにシート束が挿入されたことを検知するセンサを備えているが、スリット内におけるシート束の状態は判断できず、シート束に対する綴じ処理が、所定の箇所以外に施されてしまう可能性がある。
【0005】
本発明は、スリット内におけるシート束の状態を認識可能とする媒体処理装置を提供することを目的とする。
【課題を解決するための手段】
【0006】
上記技術的課題を解決するため、本発明の一態様は、シート状の媒体を複数束ねてシート束を形成する媒体処理装置であって、装置筐体の一部に形成された空間に挿入されたシート束を綴る綴じ手段と、空間に設けられ、当該空間におけるシート束の一辺の位置を検知する第1センサと、シート束の前記一辺に隣り合う他の辺の位置を検知する第2センサと、第1センサおよび前記第2センサの検知結果を報知する報知手段とを備える、ことを特徴とする。
【発明の効果】
【0007】
本発明によれば、スリット内におけるシート束の状態を認識することができる。
【図面の簡単な説明】
【0008】
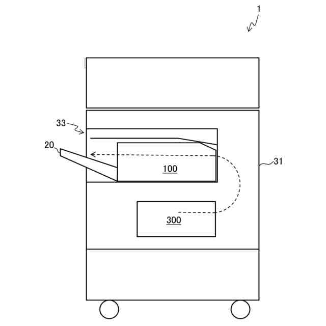
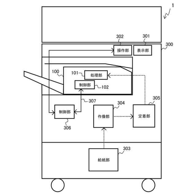
本発明に係る画像形成装置の実施形態の例を示す外観図。
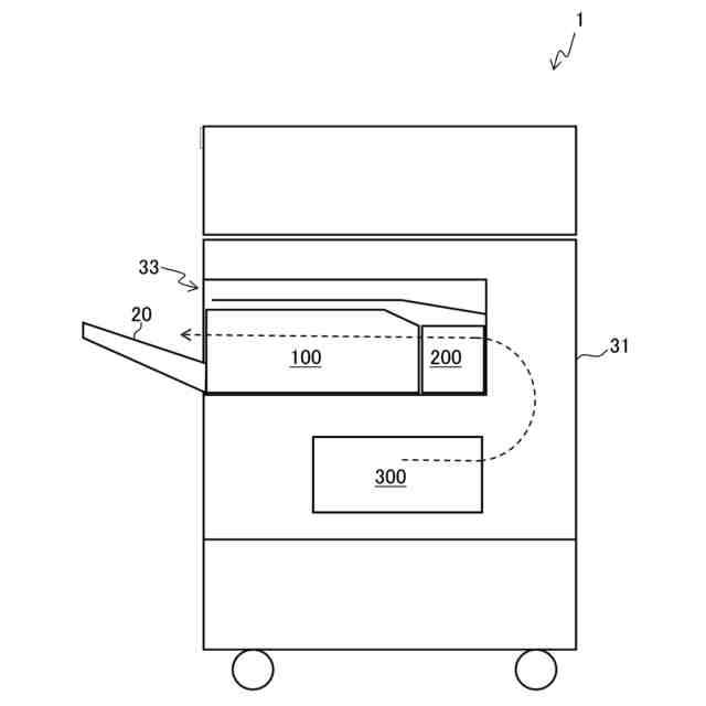
本発明に係る画像形成装置の実施形態の別例を示す外観図。
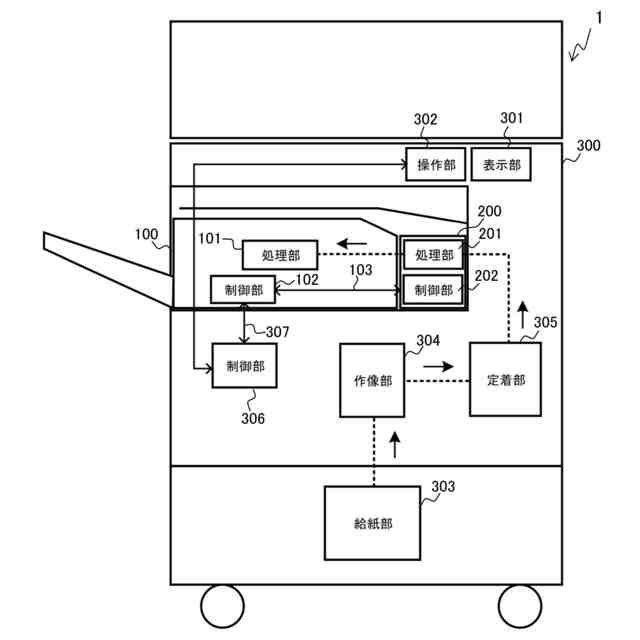
本実施形態に係る画像形成システムの例に対応する機能ブロック図。
本実施形態に係る画像形成システムの別例に対応する機能ブロック図。
本実施形態に係る綴じ処理ユニットの機能ブロック図。
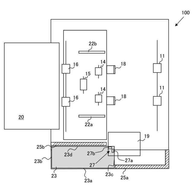
本実施形態に係る綴じ処理ユニットの基本的な構成を例示する概略構成図。
本実施形態に係る綴じ処理ユニットの基本的な構成の別例を示す概略構成図。
本実施形態に係る綴じ処理ユニットの基本的な構成の別例を示す概略構成図。
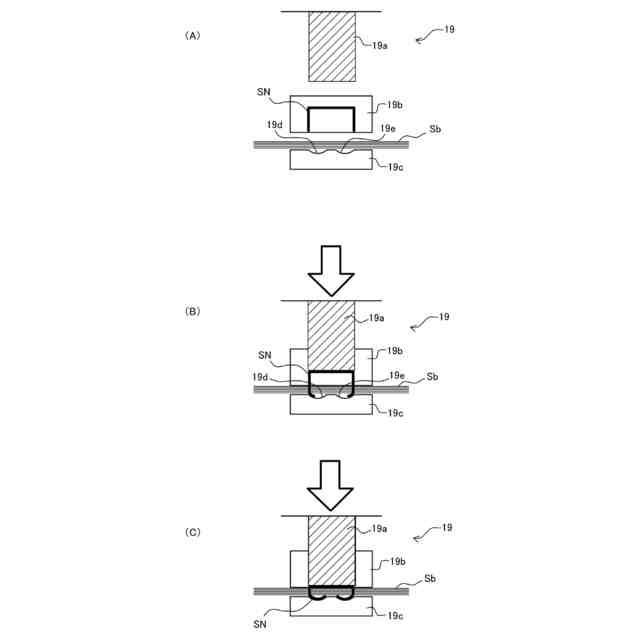
針綴じユニットの構成を示す模式図。
圧着綴じユニットの構成を示す模式図。
本実施形態に係る綴じ処理ユニットの特徴的な構成の例を示す構成図。
上記綴じ処理ユニットにおいて判定結果として選択又は生成される画像の例を示す図。
短辺側センサ、長辺側センサ、及び実行可能位置の位置関係を示す模式図である。
上記綴じ処理ユニットにおいて実行可能な処理の第一例を示すフローチャート。
本実施形態に係る綴じ処理ユニットの特徴的な構成の例を示す構成図。
上記綴じ処理ユニットにおいて判定結果として選択又は生成される画像の別例を示す図。
上記綴じ処理ユニットが手動綴じ処理を実行する際の処理の流れの例を示すフローチャート。
上記綴じ処理ユニットにおいて実行可能な処理の第一変形例を示すフローチャート。
上記綴じ処理ユニットにおいて実行可能な処理の第二変形例を示すフローチャート。
上記綴じ処理ユニットにおいて実行可能な処理の第三変形例を示すフローチャート。
上記綴じ処理ユニットにおいて実行可能な処理の第二例を示すフローチャート。
本実施形態に係る綴じ処理ユニットの特徴的な構成の別例を示す構成図。
上記綴じ処理ユニットにおいて判定結果として選択される発光パターンの例を示す図。
上記綴じ処理ユニットにおいて実行可能な処理の第三例を示すフローチャート。
本実施形態に係る綴じ処理ユニットの特徴的な構成の別例を示す構成図。
上記綴じ処理ユニットにおいて判定結果として選択される音出力パターンの例を示す図。
本実施形態に係る綴じ処理ユニットの特徴的な構成の別例を示す構成図。
上記綴じ処理ユニットにおいて利用される判定テーブルの例を示す図。
上記綴じ処理ユニットにおいて判定結果として選択又は生成される画像の例を示す図。
上記綴じ処理ユニットにおいて実行可能な処理の第四例を示すフローチャート。
上記綴じ処理ユニットにおいて判定結果として選択される発光パターンの例を示す図。
上記綴じ処理ユニットにおいて判定結果として選択される音出力パターンの例を示す図。
画像形成システムの変形例の機能ブロック図。
【発明を実施するための形態】
【0009】
以下、本発明の実施形態について図面を参照しながら説明する。図面中において同じ構成については同じ符号を付すこととし、重複する説明を省略することがある。
【0010】
[画像形成装置の実施形態]
まず、本発明に係る画像形成装置の実施形態について、図面を参照しながら説明する。図1及び図2は、本実施形態に係る画像形成システム1の外観図である。画像形成システム1は、後述する後処理の対象となるシート状の媒体に画像を形成する画像形成機能と、画像が記録された媒体に対して所定の後処理(シート処理)を実行する後処理機能と、を備える装置である。
(【0011】以降は省略されています)
この特許をJ-PlatPat(特許庁公式サイト)で参照する
関連特許
株式会社リコー
画像形成装置
22日前
株式会社リコー
液体吐出装置
8日前
株式会社リコー
画像形成装置
1か月前
株式会社リコー
画像形成装置
1か月前
株式会社リコー
画像形成装置
1か月前
株式会社リコー
画像形成装置
1か月前
株式会社リコー
服薬支援装置
22日前
株式会社リコー
外観検査装置
16日前
株式会社リコー
定着装置及び画像形成装置
8日前
株式会社リコー
画像形成装置、及び、機器
1か月前
株式会社リコー
光走査装置及び画像形成装置
29日前
株式会社リコー
光源装置および画像表示装置
2日前
株式会社リコー
延長トレイ及び画像形成装置
1か月前
株式会社リコー
画像読取装置及び画像読取方法
1か月前
株式会社リコー
画像形成装置及び異常判定方法
22日前
株式会社リコー
シート供給装置、画像形成装置
29日前
株式会社リコー
画像形成装置、及び画像形成方法
16日前
株式会社リコー
画像形成装置および画像形成方法
22日前
株式会社リコー
媒体処理装置及び画像形成システム
1か月前
株式会社リコー
樹脂粒子、及び樹脂粒子の製造方法
1か月前
株式会社リコー
媒体処理装置及び画像形成システム
1日前
株式会社リコー
媒体処理装置及び画像形成システム
1日前
株式会社リコー
加熱装置、定着装置、画像形成装置
1か月前
株式会社リコー
加熱搬送装置、及び、画像形成装置
1か月前
株式会社リコー
読取装置、読取方法およびプログラム
1か月前
株式会社リコー
加熱装置、定着装置及び画像形成装置
16日前
株式会社リコー
後処理装置、及び、画像形成システム
9日前
株式会社リコー
外観検査方法、および外観検査システム
8日前
株式会社リコー
樹脂粒子、トナー、及び、画像形成装置
29日前
株式会社リコー
画像形成装置、画像形成方法及びプログラム
10日前
株式会社リコー
プリンタシステムのための自動制御システム
1日前
株式会社リコー
画像形成装置、画像形成方法及びプログラム
10日前
株式会社リコー
情報処理装置、情報処理方法およびプログラム
29日前
株式会社リコー
振動検出装置、バイタルセンサ、配管検査装置
3日前
株式会社リコー
画像形成装置、画像処理方法およびプログラム
1か月前
株式会社リコー
画像処理装置、画像処理方法およびプログラム
24日前
続きを見る
他の特許を見る